电脑桌面
添加小米粒文库到电脑桌面
安装后可以在桌面快捷访问

鱼塘水位水质自动控制系统硬件设计VIP免费

鱼塘水位水质自动控制系统硬件设计_第1页
1/3
鱼塘水位水质自动控制系统硬件设计_第2页
2/3
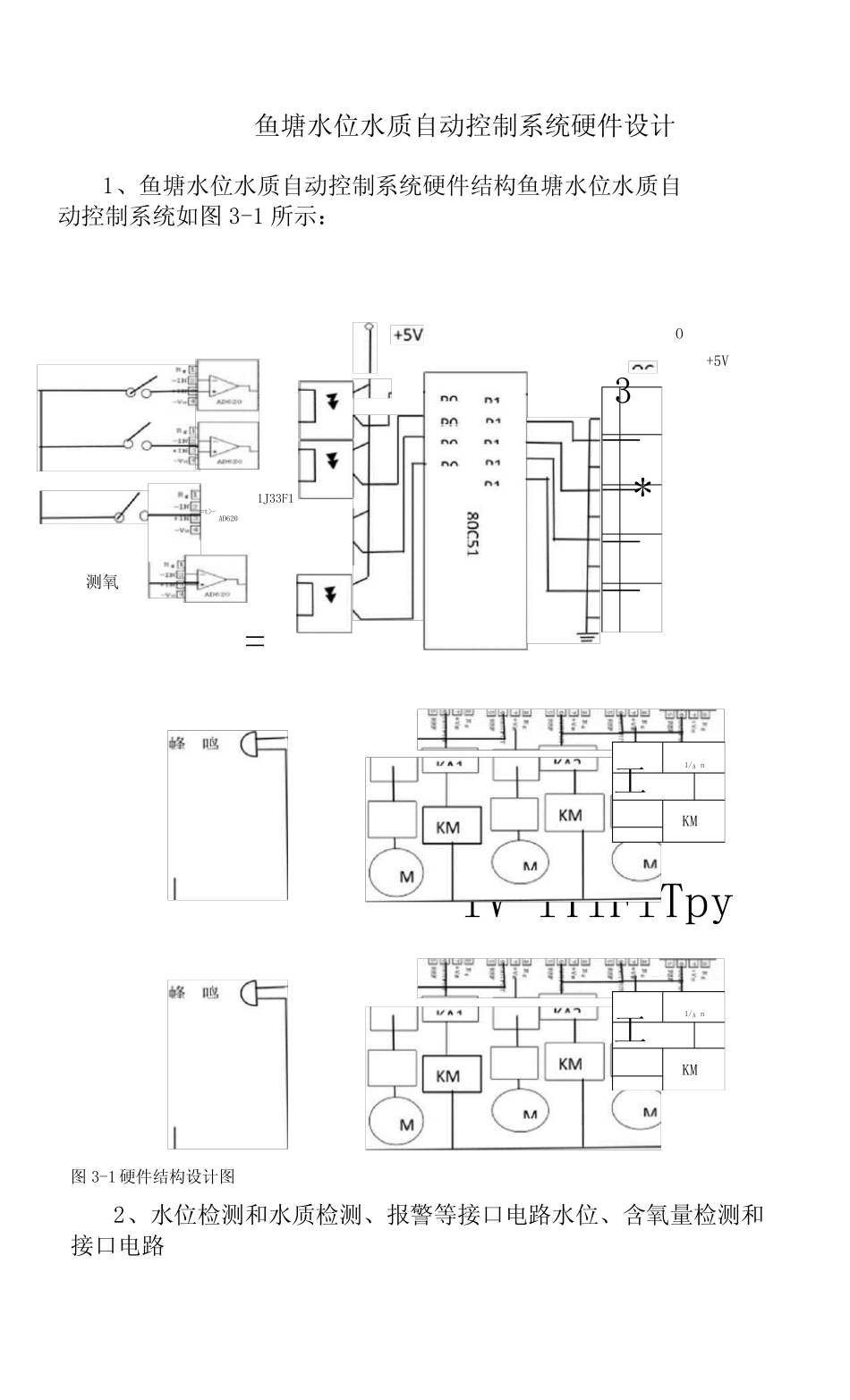
鱼 塘 水 位 水 质 自 动 控 制 系 统 硬 件 设 计 1、 鱼 塘 水 位 水 质 自 动 控 制 系 统 硬 件 结 构 鱼 塘 水 位 水 质 自动 控 制 系 统 如 图 3-1 所 示 : iV iTiFiTpy 图 3-1 硬 件 结 构 设 计 图 2、 水 位 检 测 和 水 质 检 测 、 报 警 等 接 口 电 路 水 位 、 含 氧 量 检 测 和接 口 电 路 1J33F1 =3 — — * — — O +5V 1/ A n 工 KM 1/ A n 工 KM 测 氧 =t>- AD620 为 了 便 于 实 现 水 位 检 测 功 能 , 用 三 个 开 关 来 作 用 , 正 常 情 况 时 , 开 关 断 开 , 给单 片 机 的 信 号 是 低 电 平 ( 即 0) ,单 片 机 此 时 不 发 出 命 令 ; 浮 球 随 水 位 的 涨 落 , 当 水位 到 达 下 限 水 位 时 , 开 关 SQ1 闭 合 , 这 时 单 片 机 检 测 到 P0.0 为 高 电 平( 即 1), P1.0发 出 命 令 , 执 行 机 构 让 灌 水 机 进 水 ; 当 水 位 到 中 限 , 此 时 水 位 正 好 , SQ2 闭 合 , 这时 单 片 机 检 测 到 P0. 1 为 高 电 平 , 给 单 片 机 一 个 停 水 信 号 , Pl. 1 输 出 停 水 信 号 ,停 机 ; 当 水 位 涨 到 上 限 水 位 时 , SQ3 闭 合 , 单 片 机 检 测 到P0.2 为 高 电 平 后 , 排 水机 开 始 工 作 , 到 达 SQ2 时 , 停 机 。 当 测 氧 传 感 器 输 出 一 个 高 电 平 给 单 片 机 的 P0. 4脚 , P1.4 输 出 信 号 , 氧 气 泵 启 动 , 一 段 时 间 后 , 泵 停 。 1. 报 警 接 口 电 路 为 了 避 免 系 统 发 生 故 障 时 , 水 位 失 去 控 制 造 成 严 重 后 果 , 在 超 出 、 低 于 警 戒 界 水 位 时 , 报 警 信 号 直 接 从 高 、 低 警 界 水 位 电 极 获 得 。 单 片 机P0.0 端 口 为 启 动 电机 命 令 输 出 端 口 , P0.0=l 为 高 电 平 , 与 电 机 的 另 一 端 接 地 导 通 , 启 动 电 机 工 作 ;P0. 1 二 1 为 高 电 平 , 反 之, 电 机 停 ...

1、当您付费下载文档后,您只拥有了使用权限,并不意味着购买了版权,文档只能用于自身使用,不得用于其他商业用途(如 [转卖]进行直接盈利或[编辑后售卖]进行间接盈利)。
2、本站所有内容均由合作方或网友上传,本站不对文档的完整性、权威性及其观点立场正确性做任何保证或承诺!文档内容仅供研究参考,付费前请自行鉴别。
3、如文档内容存在违规,或者侵犯商业秘密、侵犯著作权等,请点击“违规举报”。

碎片内容

鱼塘水位水质自动控制系统硬件设计

雪雪文库+ 关注
实名认证
内容提供者

各类文档,专业文档

确认删除?
VIP
微信客服
  • 扫码咨询
会员Q群
  • 会员专属群点击这里加入QQ群
客服邮箱
回到顶部