电脑桌面
添加小米粒文库到电脑桌面
安装后可以在桌面快捷访问

工程进度与控制管理制度VIP免费

工程进度与控制管理制度_第1页
1/17
工程进度与控制管理制度_第2页
2/17
工程进度与控制管理制度_第3页
3/17
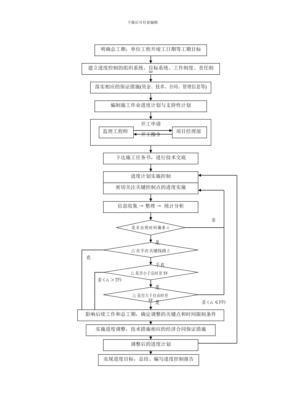
下载后可任意编辑工程进度与控制管理制度1 总则1.1 目的说明工程项目进度计划管理的任务、职责,建立项目进度计划管理和控制的模式、工作程序和工作方法。促进工程项目进度计划管理工作科学化、法律规范化,系统地积累所需各种基础数据,提高进度计划管理和控制的工作效率、质量和水平。1.2 适用范围本实施细则适用于水电十四局西成客专项目部管理的工程项目进度计划管理工作。本实施细则是考核项目部各层次工程项目进度管理和控制的依据。1.3 使用原则项目部的工程项目进度管理应根据本实施细则进行管理和控制,执行行业、地区颁发的有关政策、法规及文件要求,还应遵循承包合同规定的要求。2 进度管理主要内容和工作程序2.1 进度管理的主要内容工程项目进度管理的主要内容见图 2.1“工程项目进度管理内容”。图 2.1 工程项目进度管理内容2.2 工程项目进度管理工作程序工程项目进度控制的程序见图 2.2“工程项目进度管理工作程序”。进度管理内容计划实施检查处理1. 制订施工方案2. 编制施工项目总进度计划和单位工程进度计划1. 编制施工作业计划2. 做好施工记录,掌握现场施工实际情况3. 调度工作。指材料、劳力、机械等各种资源与进度的配合调度1. 实际进度与计划进度对比,是否有偏差2. 分析存在偏差的原因,计划的调整及实行的措施1. 总结经验,并使之标准化、制度化2. 转入下一个管理循环编制施工进度总计划和单位工程施工进度计划下载后可任意编辑明确总工期,单位工程开竣工日期等工期目标△ 在不在关键线路上△ 是否小于总时差 TF△ 是否大于自由时差FF下载后可任意编辑 否 是否出现时间偏差△ 是 在 不在 否(△>TF) 是 是 否(△≤FF) 建立进度控制的组织系统、目标系统、工作制度、责任制度落实相应的保证措施(资金、技术、合同、管理信息等)编制施工作业进度计划与支持性计划开工申请开工指令监理工程师项目经理部下达施工任务书,进行技术交底进度计划实施控制密切关注关键控制点的进度实施信息收集 → 整理 → 统计分析影响后续工作和总工期,确定调整的关键点和时间限制条件实施进度调整,技术措施相应的经济合同保证措施调整后的进度计划实现进度目标,总结、编写进度控制报告下载后可任意编辑图 2.2 工程项目进度管理工作程序(注: “△”表示实际进度时间与计划进度时间的偏差,“TF”表示工作总时差, “FF”表示工作自由时差。)3 进度管理与控制职责分工第八条 项目经理...

1、当您付费下载文档后,您只拥有了使用权限,并不意味着购买了版权,文档只能用于自身使用,不得用于其他商业用途(如 [转卖]进行直接盈利或[编辑后售卖]进行间接盈利)。
2、本站所有内容均由合作方或网友上传,本站不对文档的完整性、权威性及其观点立场正确性做任何保证或承诺!文档内容仅供研究参考,付费前请自行鉴别。
3、如文档内容存在违规,或者侵犯商业秘密、侵犯著作权等,请点击“违规举报”。

碎片内容

工程进度与控制管理制度

元素商铺+ 关注
实名认证
内容提供者

欢迎挑选合适的文档

确认删除?
VIP
微信客服
  • 扫码咨询
会员Q群
  • 会员专属群点击这里加入QQ群
客服邮箱
回到顶部