电脑桌面
添加小米粒文库到电脑桌面
安装后可以在桌面快捷访问

有机产品认证通用问答题VIP免费

有机产品认证通用问答题_第1页
1/8
有机产品认证通用问答题_第2页
2/8
有机产品认证通用问答题_第3页
3/8
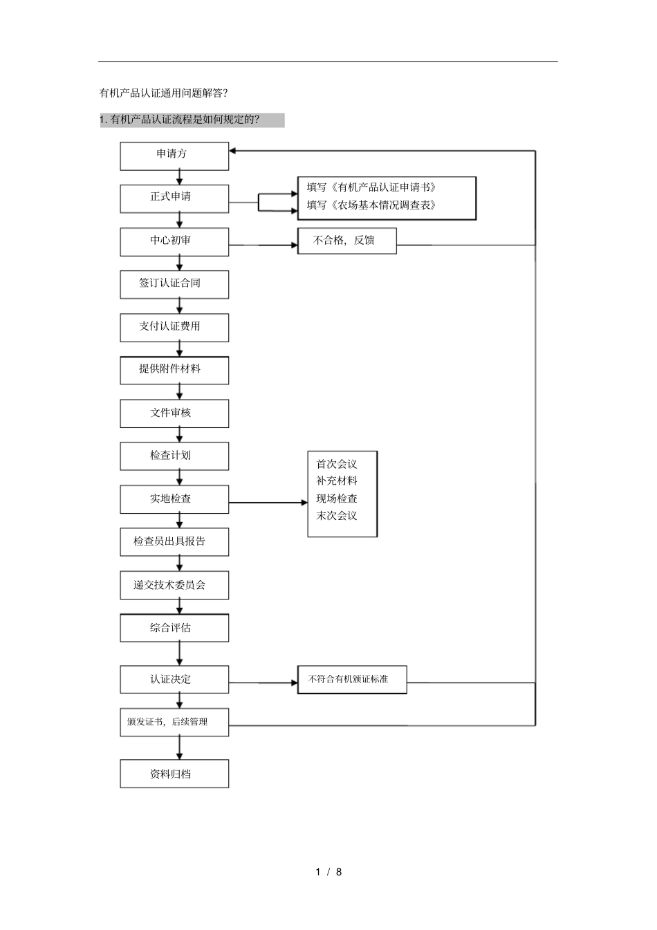
1 / 8 有机产品认证通用问题解答?1. 有机产品认证流程是如何规定的?申请方正式申请中心初审支付认证费用提供附件材料签订认证合同实地检查检查计划文件审核检查员出具报告递交技术委员会综合评估认证决定颁发证书,后续管理资料归档填写《有机产品认证申请书》填写《农场基本情况调查表》首次会议补充材料现场检查末次会议不合格,反馈不符合有机颁证标准2 / 8 2. 什么是有机农业?遵照一定的有机农业生产标准,在生产中不采用基因工程获得的生物与其产物,不使用化学合成的农药、化肥、生长调节剂、饲料添加剂等物质,遵循自然规律和生态学原理,协调种植业和养殖业的平衡,采用一系列可持续发展的农业技术以维持持续稳定的农业生产体系的一种农业生产方式。所以有机农业是一种能维护和延续土壤、生态系统和人类健康的生产体系,遵循当地的生态节律、 生物多样性和自然循环,而不依赖会带来不利影响的生产投入品,有利于保护我们的生存环境和促进包括人类的健康发展。3. 什么是有机产品?有机产品国家标准定义:生产、加工、销售过程符合标准要求的供人类消费和动物食用的产品。供人类食用的有机产品又叫有机食品,有机食品主要包括:水果、蔬菜、大田作物、畜禽以与其产品、蜂产品、水产品等;除了有机食品,有机产品还涉与:饲料、纺织品、化妆品、林业产品、家具、肥料、生物农药等。4. 有机产品的四个特点?第一,原料来源于有机农业生产体系或有机方式才记得野生天然产品;第二,整个生产过程严格按照有机产品国家标准要求;第三,在生产和流通过程中,有完善的跟踪体系和完整的生产和销售记录;第四,必须通过合法的,独立的第三方公正性的有机产品认证机构的认证。5. 有机产品认证围是什么?有机产品国家标准规定了农作物、食用菌、野生植物、畜禽、水产、蜜蜂与其未加工产品的有机生产通用要求;主要包括:作物种植、食用菌栽培、野生植物采集、畜禽养殖、水产养殖、蜜蜂养殖与其产品的运输、贮藏和包装。6. 种植基地转换期的有何要求?一年生作物的转换期一般不少于24 个月转换期,多年生作物的转换期一般不少于36个月。 新开荒的、 长期撂荒的、 长期按传统农业方式耕种的或有充分证据证明多年未使用禁用物质的农田,也应经过至少12 个月的转换期。转换期必须完全按照有机农业的要求进行管理。7. 如何选择种子和种苗?应选择有机种子或种苗。当从市场上无法获得有机种子或种苗时,可以选用未经禁用物3 / 8 质处...

1、当您付费下载文档后,您只拥有了使用权限,并不意味着购买了版权,文档只能用于自身使用,不得用于其他商业用途(如 [转卖]进行直接盈利或[编辑后售卖]进行间接盈利)。
2、本站所有内容均由合作方或网友上传,本站不对文档的完整性、权威性及其观点立场正确性做任何保证或承诺!文档内容仅供研究参考,付费前请自行鉴别。
3、如文档内容存在违规,或者侵犯商业秘密、侵犯著作权等,请点击“违规举报”。

碎片内容

有机产品认证通用问答题

文库响当当+ 关注
实名认证
内容提供者

该用户很懒,什么也没介绍

确认删除?
VIP
微信客服
  • 扫码咨询
会员Q群
  • 会员专属群点击这里加入QQ群
客服邮箱
回到顶部