电脑桌面
添加小米粒文库到电脑桌面
安装后可以在桌面快捷访问

机床电气控制习题测验VIP免费

机床电气控制习题测验_第1页
1/14
机床电气控制习题测验_第2页
2/14
机床电气控制习题测验_第3页
3/14
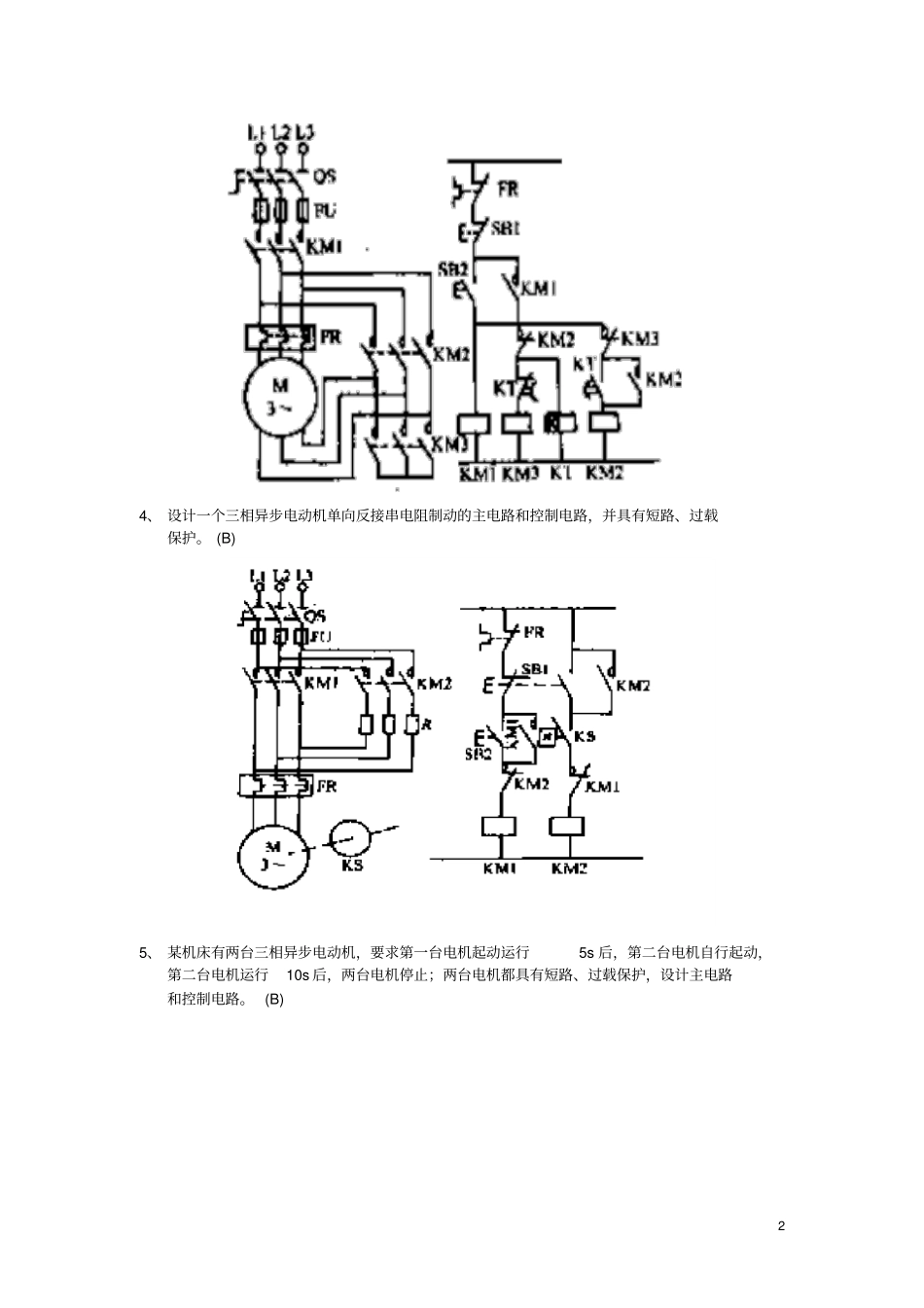
1 1、 设计一个三相异步电动机两地起动的主电路和控制电路,并具有短路、过载保护。? 2、 设计一个三相异步电动机正— 反— 停的主电路和控制电路,并具有短路、 过载保护。 (B) 3、 设计一个三相异步电动机星型——三角形减压起动的主电路和控制电路,并具有短路、过载保护。 (B) 2 4、 设计一个三相异步电动机单向反接串电阻制动的主电路和控制电路,并具有短路、过载保护。 (B) 5、 某机床有两台三相异步电动机,要求第一台电机起动运行5s 后,第二台电机自行起动,第二台电机运行10s 后,两台电机停止;两台电机都具有短路、过载保护,设计主电路和控制电路。 (B) 3 6、 某机床主轴工作和润滑泵各由一台电机控制,要求主轴电机必须在润滑泵电机运行后才能运行,主轴电机能正反转,并能单独停机,有短路、过载保护,设计主电路和控制电路。 (B) 7、 一台三相异步电动机运行要求为:按下起动按钮,电机正转,5s 后,电机自行反转,再过 10s,电机停止,并具有短路、过载保护,设计主电路和控制电路。(A) 4 8、 设计两台三相异步电动机M1 、M2 的主电路和控制电路,要求M1 、M2 可分别起动和停止,也可实现同时起动和停止,并具有短路、过载保护。? 9、 一台小车由一台三相异步电动机拖动,动作顺序如下:1)小车由原位开始前进,到终点后自动停止。2)在终点停留20s 后自动返回原位并停止。要求在前进或后退途中,任意位置都能停止或起动,并具有短路、过载保护,设计主电路和控制电路。(A) 5 10、设计三相异步电动机交流接触器控制的全压起动主辅控制电路,具有短路保护, 热保护功能。(C)七、分析题(每题10 分)1、根据下图,分析它的工作原理6 按下 SB2,KM1 吸合并自保,电机运行,速度达到140 转/分以上时, KS 触点闭合。按下 SB1,KM1断电, KM2吸合,进行反接制动,速度达到100 转/分以下时, KS触点断开,制动结束,电机慢慢停止转动。2、分析点动控制电路的工作原理按下 SB,KM 线圈得电, KM 触点闭合,电机转动;松开SB, KM 线圈失电, KM触点断开,电机停转。3、分析起动、自保控制电路的工作原理7 按下 SB2,KM1 线圈得电, KM 吸合,主触电接通电机电源,电机运行;同时辅助触点闭合,接通控制回路,并保持。松开SB2,由于辅助触点已经闭合了控制回路,靠辅助触点继续接通控制回路,电机继续运行。按下SB1,KM1 断电,辅助触点断开,主触点断开电机电源,...

1、当您付费下载文档后,您只拥有了使用权限,并不意味着购买了版权,文档只能用于自身使用,不得用于其他商业用途(如 [转卖]进行直接盈利或[编辑后售卖]进行间接盈利)。
2、本站所有内容均由合作方或网友上传,本站不对文档的完整性、权威性及其观点立场正确性做任何保证或承诺!文档内容仅供研究参考,付费前请自行鉴别。
3、如文档内容存在违规,或者侵犯商业秘密、侵犯著作权等,请点击“违规举报”。

碎片内容

机床电气控制习题测验

您可能关注的文档

文库当当响+ 关注
实名认证
内容提供者

该用户很懒,什么也没介绍

确认删除?
VIP
微信客服
  • 扫码咨询
会员Q群
  • 会员专属群点击这里加入QQ群
客服邮箱
回到顶部