电脑桌面
添加小米粒文库到电脑桌面
安装后可以在桌面快捷访问

2025年应急救援预案流程图VIP免费

2025年应急救援预案流程图_第1页
1/1
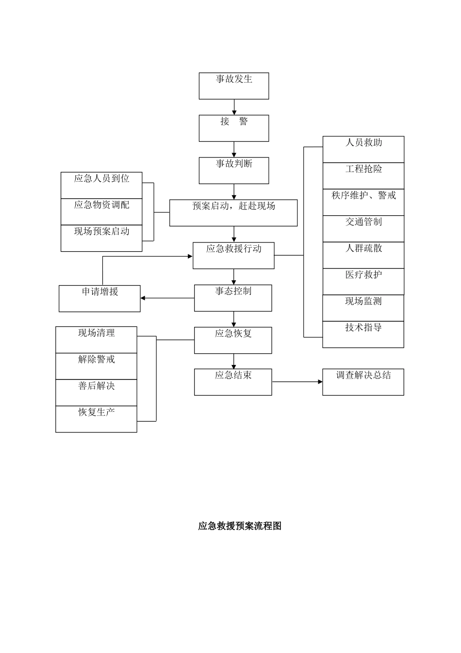
应急救援预案流程图交通管制秩序维护、警戒工程抢险人员救助技术指导现场监测医疗救护人群疏散调查解决总结恢复生产善后解决解除警戒现场清理申请增援现场预案启动应急物资调配应急人员到位应急结束应急恢复事态控制应急救援行动预案启动,赶赴现场事故判断接 警事故发生

1、当您付费下载文档后,您只拥有了使用权限,并不意味着购买了版权,文档只能用于自身使用,不得用于其他商业用途(如 [转卖]进行直接盈利或[编辑后售卖]进行间接盈利)。
2、本站所有内容均由合作方或网友上传,本站不对文档的完整性、权威性及其观点立场正确性做任何保证或承诺!文档内容仅供研究参考,付费前请自行鉴别。
3、如文档内容存在违规,或者侵犯商业秘密、侵犯著作权等,请点击“违规举报”。

碎片内容

2025年应急救援预案流程图

枕上诗书+ 关注
实名认证
内容提供者

该用户很懒,什么也没介绍

确认删除?
VIP
微信客服
  • 扫码咨询
会员Q群
  • 会员专属群点击这里加入QQ群
客服邮箱
回到顶部