电脑桌面
添加小米粒文库到电脑桌面
安装后可以在桌面快捷访问

混凝土工程监理实施细则1q

混凝土工程监理实施细则1q_第1页
1/14
混凝土工程监理实施细则1q_第2页
2/14
混凝土工程监理实施细则1q_第3页
3/14
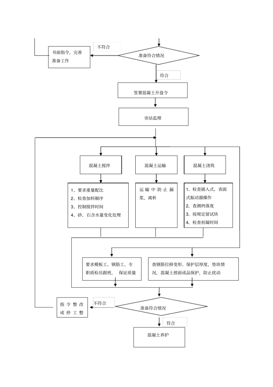
混凝土工程监理实施细则编制:审批:河北三元建设监理有限责任公司商贸广场监理部混凝土工程监理实施细则一、专业工程的特点混凝土工程包括制备、运输、浇筑、捣实和养护等施工过程,各个施工环节相互联系和影响,任一施工过程处理不当,都会影响混凝土工程的最后质量,所以必须抓好每个环节。近年来混凝土外加剂发展很快, 它们的应用影响着混凝土的性能和施工工艺,此外,自动化、机械化的发展, 新的施工机械和新的施工工艺的应用也大大的改变了混凝土工程的施工面貌。二、监理工作的流程准备工作检查材料进场数量、材质单、合格证、复试报告检查设备、机具规格、性能、安全运转,设备机具齐备查验测量器具规格、合格证、数量、计量标定查 验 试 验 室相 关 资 质 证件,配比单审 查 施 工 方案、技术交底书、安全措施检 查 质 量 保证体系各 种 劳 动 力配备情况模 板 、 钢 筋水、电、暖验收完成情况审查材料供应商资格及商品混凝土资格生产力水、电备用措施书面指令,完善准备工作准备符合情况签署混凝土开盘令混凝土搅拌混凝土浇筑1、要求重量配比2、检查加料顺序3、控制搅拌时间4、砂、石含水量变化处理运 输 中 防 止 漏浆,离析1、检查插入式、表面式振动器操作2、查测坍落度3、按规定留试块4、检查初凝时间要求模板工、钢筋工、专职质检员跟班, 保证质量查钢筋位移变形、保护层厚度,垫块情况,混凝土搓面成品保护,防止扰动旁站监理混凝土运输不符合符合指 令 整 改或 停 工 整准备符合情况不符合混凝土养护符合三、监理工作的控制要点及目标值(一)控制要点1、原材料1、检查混凝土养护覆盖情况,测温记录,2、控制不同水泥品种混凝土养护时间天数3、控制混凝土达到一定强度允许踩踏安装模板或支架书面指令整改符合情况混凝土分项验收外观质量检查结构尺寸偏差检查施工资料整理审查书面指令整改符合情况完成不符合符合混凝土试块评定符合不符合(1)水泥:水泥进场时应对其品种、级别、包装或散装仓号、出厂日期等进行检查,并应对其强度、安定性及其他必要的性能指标进行复验,其质量必须符合现行国家标准 《硅酸盐水泥、普通硅酸盐水泥》 GB175 等的规定。当在使用中对水泥质量有怀疑或水泥出厂超过三个月(快硬硅酸盐水泥超过一个月)时,应进行复验,并按复验结果使用。钢筋混凝土结构中,严禁使用含氯化物的水泥。(2)外加剂:混凝土掺用外加剂的质量及应用技术应符合现行国家标准《...

1、当您付费下载文档后,您只拥有了使用权限,并不意味着购买了版权,文档只能用于自身使用,不得用于其他商业用途(如 [转卖]进行直接盈利或[编辑后售卖]进行间接盈利)。
2、本站所有内容均由合作方或网友上传,本站不对文档的完整性、权威性及其观点立场正确性做任何保证或承诺!文档内容仅供研究参考,付费前请自行鉴别。
3、如文档内容存在违规,或者侵犯商业秘密、侵犯著作权等,请点击“违规举报”。

碎片内容

混凝土工程监理实施细则1q

您可能关注的文档

确认删除?
VIP
微信客服
  • 扫码咨询
会员Q群
  • 会员专属群点击这里加入QQ群
客服邮箱
回到顶部