电脑桌面
添加小米粒文库到电脑桌面
安装后可以在桌面快捷访问

关联交易管理风险与关键环节控制VIP免费

关联交易管理风险与关键环节控制_第1页
1/6
关联交易管理风险与关键环节控制_第2页
2/6
关联交易管理风险与关键环节控制_第3页
3/6
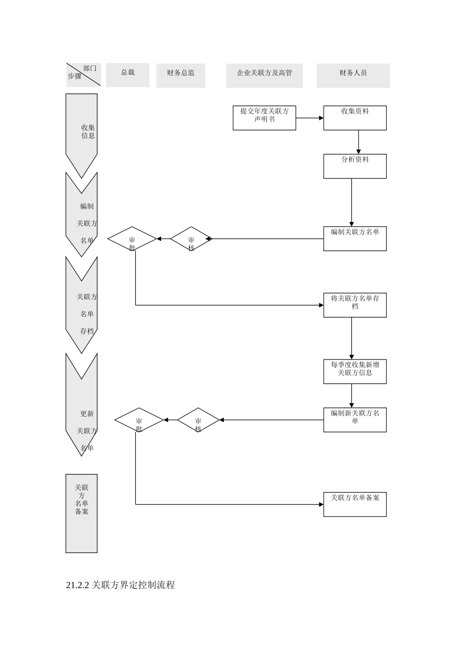
关联交易管理风险与关键环节控制21.1.1关联交易风险企业与关联方进行关联交易,有利于企业降低成本、优化资产结构、提高资金的利用率等,但其中存在的风险损害债权人与中小股东的利益、降低企业的抗风险能力等。这就需要我们仔细分析关联交易的风险并加强防范,具体风险如图21—1所示。图21—1关联交易中存在的风险示意图21.1.2关联交易关键环节控制关联交易虽然存在着巨大的风险,但这种风险通过对关联交易关键环节的控制可以降低到最小,具体的关键环节如图21—2所示。图21—2关联交易中关键环节示意图21.2关联交易及其控制21.2.1关联方界定依据编制流程风险1关联交易及其披露违反国家法律法规,可能遭受外部处罚,导致经济损失和信誉损失风险2关联交易未经适当审批或超越权限审批,可能因重大差错、舞弊、欺诈而导致损失风险3关联方界定不准确,可能导致财务报告信息不真实、不完整风险4关联交易定价不合理,可能导致企业资产损失或中小股东权益受损风险5关联交易之星不当,可能导致企业经营效率低下或资产遭受损失关键环节1加强对关联交易报告与披露的控制,根据国家统一的会计准则制度和其他法律法规确定关联交易披露内容、披露方式及披露流程规范加强对关联方的界定,采用有效措施防范关联方占用或转移企业的资源关键环节2规范关联交易行为,确保会计记录和价格直线机制的准确性和适当性关键环节321.2.2关联方界定控制流程部门步骤总裁关联方名单备案收集信息更新关联方名单财务人员财务总监提交年度关联方声明书审批编制关联方名单审核企业关联方及高管关联方名单存档收集资料分析资料编制关联方名单将关联方名单存档每季度收集新增关联方信息编制新关联方名单关联方名单备案审批审核21.2.3关联交易控制流程部门步骤董事会界定关联方调查交易对象进行关联方判断交易人员总裁收集信息判断是否在关联方名单中判断是否在年度关联方声明书中财务部确定交易对象调查核实交易对象的背景提供年度关联方声明书界定关联方提供关联方名单审批复核审核21.2.4关联交易回避制度部门步骤董事会及审计委员会编制关联交易会计报表及明细表准备交易记录交易档案交易人员总裁与关联方谈判审批财务总监签订交易合同审核会计人员审计人员执行交易合同编写交易意向书与交易关联方进一步谈判拟定交易合同签订交易合同严格按交易合同进行交易将交易过程及结果记入交易档案审核交易档案并建立交易台帐及时正确填报关联方交易会计报表定期审核并分析关联交易会计报表和价格执行情况退出完善的意见和建议执行每季度根据上述分析结果编制关联交易明细表整理、存档审议审核审核审批审议审核制度名称关联交易回避制度受控状态文件编号执行部门监督部门考证部门第1章总则第1条为了规范企业的关联交易,减少关联交易风险,特制定本制度。第2条本制度中的关联方是指一方控制、共同控制另一方或对另一方施加重大影响,以及两方或两方以上同受一方控制、共同控制或重大影响。第3条本制度中的关联交易是指本企业或控股子公司与关联方之间发生的转移资源、劳务或义务的行为,而不论是否收取价款。具体主要包括但不限于下列17项交易。1.购买或出售资产。2.对外投资(含委托理财、委托贷款等)。3.提供财务资助。4.提供担保(反担保除外)。5.租入或租出资产。6.签订管理方面的合同(含委托经营、受托经营等)。7.赠与或受赠资产。8.债权或债务重组。9.研究与开发项目的转移。10.签订许可协议。11.购买原材料、燃料、动力。12.销售产品、商品。13.提供或接受劳务。14.委托或受托销售。15.与关联人共同投资。16.其他通过约定可能造成资源或义务转移的事项。17.法律法规认定的属于关联交易的其他事项。第2章关联交易回避规定第4条董事会审议关联交易时,关联董事需回避,也不得代替其他董事进行表决。第5条有下列情形之一者,视为关联董事。1.交易对方。2.在交易对方任职,或在能控制该交易对方的企业任职。3.拥有交易对方直接或间接控制权的。4.与交易对方及其控制人关系密切的家庭成员。5.与交易对方及其控股股东的董事、监事和高级管理人员关系密切的家庭成员。6.由主管机构认定的其他原因...

1、当您付费下载文档后,您只拥有了使用权限,并不意味着购买了版权,文档只能用于自身使用,不得用于其他商业用途(如 [转卖]进行直接盈利或[编辑后售卖]进行间接盈利)。
2、本站所有内容均由合作方或网友上传,本站不对文档的完整性、权威性及其观点立场正确性做任何保证或承诺!文档内容仅供研究参考,付费前请自行鉴别。
3、如文档内容存在违规,或者侵犯商业秘密、侵犯著作权等,请点击“违规举报”。

碎片内容

关联交易管理风险与关键环节控制

您可能关注的文档

文章天下+ 关注
实名认证
内容提供者

各种文档应有尽有

确认删除?
VIP
微信客服
  • 扫码咨询
会员Q群
  • 会员专属群点击这里加入QQ群
客服邮箱
回到顶部