电脑桌面
添加小米粒文库到电脑桌面
安装后可以在桌面快捷访问

工艺安装专业培训教材样本

工艺安装专业培训教材样本_第1页
1/20
工艺安装专业培训教材样本_第2页
2/20
工艺安装专业培训教材样本_第3页
3/20
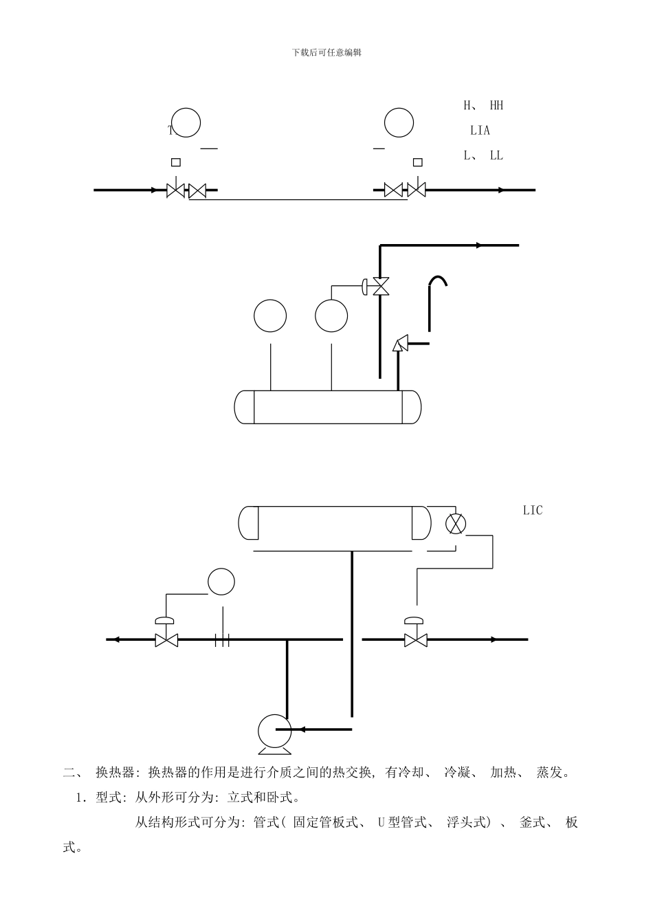
下载后可任意编辑工艺安装专业培训教材一、容器( 储罐) : 容器的作用有储存( 储存原材料、 产品、 中间产品) 、 缓冲、 混合均化、 分离( 气——液、 液——液、 液——固) 。 1.型式: 从受压情况可分为: 常压、 压力容器; 从外形上可分为: 卧式、 立式容器; 立式容器又可分为: 平顶( V<10m3) 、 锥顶( V<100m3) 、 拱顶( V=500~1000m3) 、 内浮顶( V<1000m3) 、 外浮顶( V>1000m3) 、 碟形封头、 椭圆封头、 球形封头、 球罐、 气柜( 干式、 湿式、 气囊) 。 平顶、 锥顶、 拱顶容器用于储存挥发性低的液体, 如: 柴油、 重油、 水、 乙二醇等; 当用于储存挥发性较高的液体时, 必须实行措施, 如冷凝回流、 气体回收。 内、 外浮顶容器主要用于有挥发性的、 常温下蒸气压较高的液体的储存, 如: 汽油、 己烷、 丙酮。 碟形封头、 椭圆封头、 球形封头、 球罐容器作为压力容器, 用于储存在常温下蒸气压大于 0.1MPa( 绝压) 的液体, 如: 液态烃。 气柜( 干式、 湿式、 气囊) 主要用于储存各种气体。 常压容器必须有通大气的放空管, 放空管一般不得有阀门, 对于储存可燃液体的必须有阻火器。 小型容器配管能够上进下出, 但上进的管道最好是沿容器壁流下, 以免液体冲击产生静电。 大中型容器配管应该下进下出, 管道与设备法兰间要用金属软管连接, 目的是防止容器沉降时拉裂管道或设备管口。 对于储存有毒、 易燃易爆液体的进出口管口要采纳双阀, 对于大中型容器靠近设备侧第 1 道阀门为手动阀门, 然后为遥控开关阀。 对于储存易冻、 易凝、 易挥发介质的容器要保温, 甚至加热; 对于储存低温介质的容器要保冷。 对于储存易燃介质的容器要有喷淋冷却。( 夏天气温较高或周围着火时) 储罐区内要有可燃气体报警器。 2.流程: 下载后可任意编辑 H、 HH TI LIA L、 LL PI PIC LIC FC二、 换热器: 换热器的作用是进行介质之间的热交换, 有冷却、 冷凝、 加热、 蒸发。 1.型式: 从外形可分为: 立式和卧式。 从结构形式可分为: 管式( 固定管板式、 U 型管式、 浮头式) 、 釜式、 板式。下载后可任意编辑 从换热管可分为: 光管和翅片管。 固定管板式换热器是使用最多的类型, 结构简单, 制造方便, 成本较低, 但由于壳程清洗困难, 因此要求壳程的流体介质比较洁净, 不能有较严重的结垢倾向或带有固体颗粒。 ...

1、当您付费下载文档后,您只拥有了使用权限,并不意味着购买了版权,文档只能用于自身使用,不得用于其他商业用途(如 [转卖]进行直接盈利或[编辑后售卖]进行间接盈利)。
2、本站所有内容均由合作方或网友上传,本站不对文档的完整性、权威性及其观点立场正确性做任何保证或承诺!文档内容仅供研究参考,付费前请自行鉴别。
3、如文档内容存在违规,或者侵犯商业秘密、侵犯著作权等,请点击“违规举报”。

碎片内容

工艺安装专业培训教材样本

确认删除?
VIP
微信客服
  • 扫码咨询
会员Q群
  • 会员专属群点击这里加入QQ群
客服邮箱
回到顶部