电脑桌面
添加小米粒文库到电脑桌面
安装后可以在桌面快捷访问

建设工程招标程序和步骤

建设工程招标程序和步骤_第1页
1/6
建设工程招标程序和步骤_第2页
2/6
建设工程招标程序和步骤_第3页
3/6
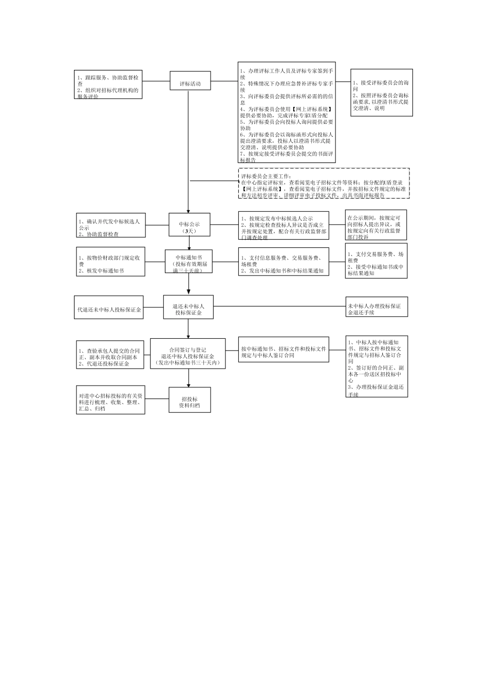
进中心招标申请招投标中心内容与程序招标人(招标代理机构或招标单位)投标人1、招标文件等经相关行政主管部门备案通过后填写《北仑工程建设项目招标申请表》并提交2、根据项目类别提交招标公告等相应资料3、下载【电子投标(申请)文件一级目录生成工具】受理审核审定招标工作计划1、受理、审核、审定2、指派项目负责人,明确场地和时间安排等招标工作计划投标邀请书1、按规定发出投标邀请书2、提交电子招标文件,以及由【电子投标(申请)文件一级目录生成工具】生成的电子招标文件一级目录组成3、提交招标控制价(工程量清单)电子文档和设计图纸电子文件工程建设项目电子招标投标邀请招标工作流程图 适适“适适适适适适适适适适适适适适适适适适适适适适适”适适适适适适适适适适适适适适适适适“适适适适适适适适适适适适适适适适适适适适适适适适适适适适适适”适适适适适适适适适适适适适适发出招标文件(5天)1、网上报名并下载(购买)电子招标文件和电子招标文件一级目录组成2、下载招标控制价(工程量清单)电子文档和设计图纸电子文件3、下载【电子投标(申请)文件制作工具】依法组建评标委员会办理评标专家计算机自动抽签和语音通知工作签到并受标1、办理开标工作人员及投标人签到手续2、接受电子投标文件并导入【网上评标系统】3、按规定查验投标人法定代表人或其授权代表以及按招标文件规定到场的有关人员的有效证件4、协助或委托 公证机构检 查投标文件密 封 和标识,制作受标记 录并确认1、按规定代收 并确认 投标保 证金2、场务 安排 3、维 护 交易 秩 序1、按招标文件规定,在 投标截 止 的4个 工作日 前 提交投标保 证金2、投标截 止 前 递 交电子投标文件3、确认 受标情 况招标答 疑(投标截 止15天前 )按规定对 电子招标文件进行必 要 的解答 、澄 清或修 改 ,并经相关行政主管部门备案通过1、对 电子招标文件有异 议的,按规定在 投标截 止 前10天前 向 招标人提出2、获 取 招标人对 电子招标文件的解 答 、澄 清或修 改3、使 用 【电子投标(申请)文件制作工具】编 制电子投标文件组建评标委员会发出(售 )电子招标文件确认 并发出电子招标文件、电子招标文件一级目录组成、招标控制价(工程量清单)电子文档确认 答 疑 (含 对 电子招标文件必 要 的澄 清或修 改 )开标活 动1、宣 布 开标纪 律2、公布 投标人名称 及其是 否 派员到场。...

1、当您付费下载文档后,您只拥有了使用权限,并不意味着购买了版权,文档只能用于自身使用,不得用于其他商业用途(如 [转卖]进行直接盈利或[编辑后售卖]进行间接盈利)。
2、本站所有内容均由合作方或网友上传,本站不对文档的完整性、权威性及其观点立场正确性做任何保证或承诺!文档内容仅供研究参考,付费前请自行鉴别。
3、如文档内容存在违规,或者侵犯商业秘密、侵犯著作权等,请点击“违规举报”。

碎片内容

建设工程招标程序和步骤

小辰3+ 关注
实名认证
内容提供者

出售各种资料和文档

确认删除?
VIP
微信客服
  • 扫码咨询
会员Q群
  • 会员专属群点击这里加入QQ群
客服邮箱
回到顶部