电脑桌面
添加小米粒文库到电脑桌面
安装后可以在桌面快捷访问

设备开箱验货方案

设备开箱验货方案_第1页
1/5
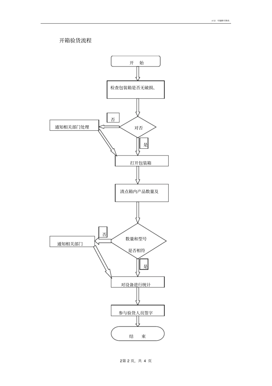
设备开箱验货方案_第2页
2/5
设备开箱验货方案_第3页
3/5
v1.0 可编辑可修改0第 0 页,共 4 页云南省官渡监狱信息化建设(一期)项目项目设备开箱验货方案云南省通信产业服务有限公司 2012 年 5 月v1.0 可编辑可修改1第 1 页,共 4 页目录1、概述 ............................................................................................................................................. 1开箱验货准备工作................................................................................................................... 1开箱验货流程 ........................................................................................................................... 2开箱验货注意事项................................................................................................................... 32、开箱 ............................................................................................................................................. 3开箱前对外包装的观察........................................................................................................... 3清点设备数量及其核对设备型号........................................................................................... 3规划货物堆放 ........................................................................................................................... 43、设备清点及检查......................................................................................................................... 4设备数量统计 ........................................................................................................................... 4设备检查 ................................................................................................................................... 41、概述开箱验货准备工作云南省官渡监狱信息化建设(一期)工程的施工过程中,涉及到监控、网络和报警等系统的相关设备比较多, 为了使工程能够按质按量完成, 在设备到场后,应准备好相关开箱工具,组织相关人员进行验货。1.1.1 准备工具开箱验货需用到以下工具,应该提前准备好:螺丝刀、尖嘴钳、斜口...

1、当您付费下载文档后,您只拥有了使用权限,并不意味着购买了版权,文档只能用于自身使用,不得用于其他商业用途(如 [转卖]进行直接盈利或[编辑后售卖]进行间接盈利)。
2、本站所有内容均由合作方或网友上传,本站不对文档的完整性、权威性及其观点立场正确性做任何保证或承诺!文档内容仅供研究参考,付费前请自行鉴别。
3、如文档内容存在违规,或者侵犯商业秘密、侵犯著作权等,请点击“违规举报”。

碎片内容

设备开箱验货方案

您可能关注的文档

确认删除?
VIP
微信客服
  • 扫码咨询
会员Q群
  • 会员专属群点击这里加入QQ群
客服邮箱
回到顶部