电脑桌面
添加小米粒文库到电脑桌面
安装后可以在桌面快捷访问

通信应急保障工作流程

通信应急保障工作流程_第1页
1/2
通信应急保障工作流程_第2页
2/2
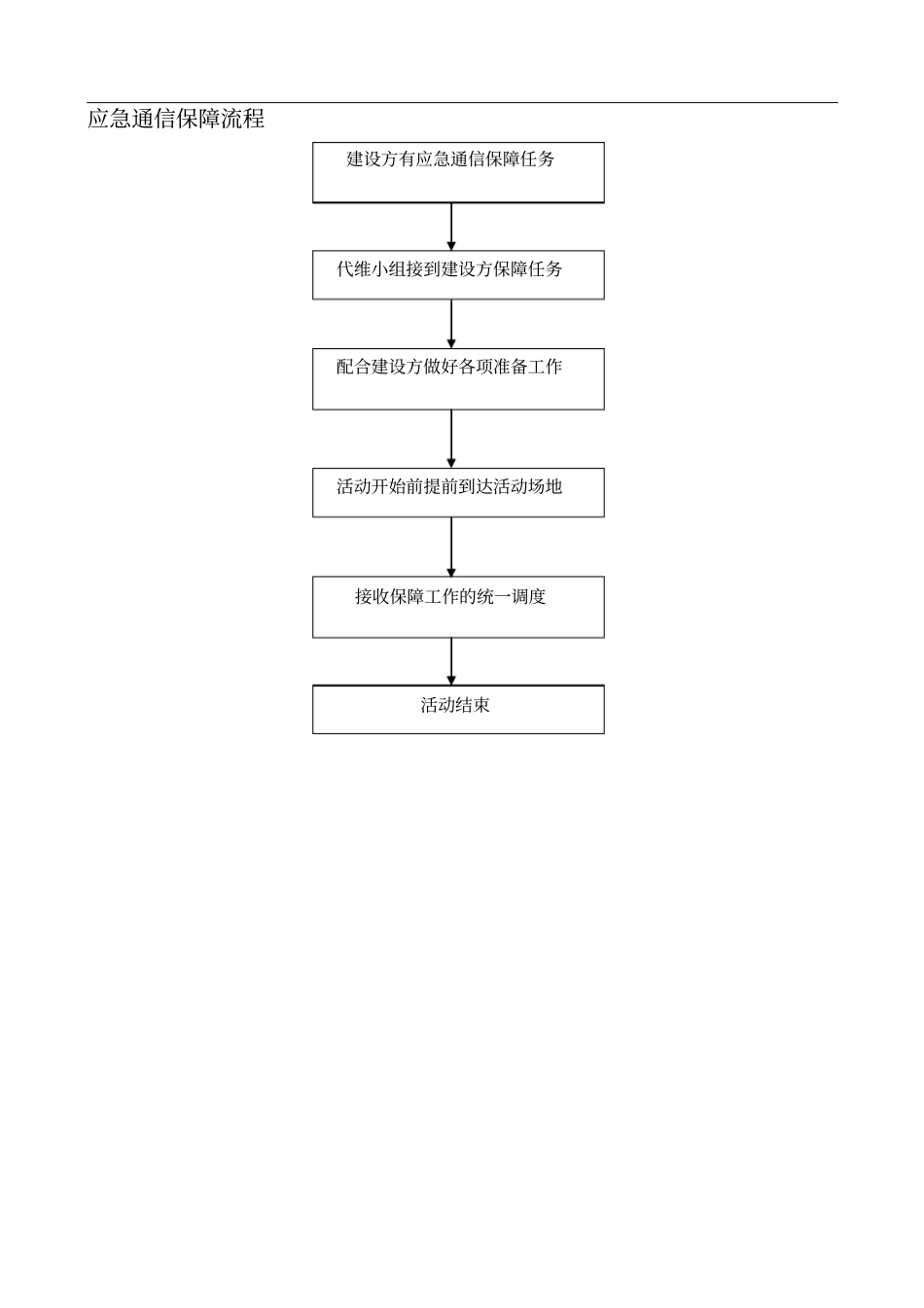
应急保障工作流程抗灾流程是否检查抗灾资是否满足要求?警报解除抗灾结束检查车辆、 油机、物资状况启动抗灾应急预案灾害发生申请抗灾资源投入保障工作组织调动代维小组投入抗灾保障工作抗灾结束后的各项善后工作配合建设单位做好抗灾准备工作应急通信保障流程建设方有应急通信保障任务代维小组接到建设方保障任务配合建设方做好各项准备工作活动开始前提前到达活动场地接收保障工作的统一调度活动结束

1、当您付费下载文档后,您只拥有了使用权限,并不意味着购买了版权,文档只能用于自身使用,不得用于其他商业用途(如 [转卖]进行直接盈利或[编辑后售卖]进行间接盈利)。
2、本站所有内容均由合作方或网友上传,本站不对文档的完整性、权威性及其观点立场正确性做任何保证或承诺!文档内容仅供研究参考,付费前请自行鉴别。
3、如文档内容存在违规,或者侵犯商业秘密、侵犯著作权等,请点击“违规举报”。

碎片内容

通信应急保障工作流程

您可能关注的文档

确认删除?
VIP
微信客服
  • 扫码咨询
会员Q群
  • 会员专属群点击这里加入QQ群
客服邮箱
回到顶部