电脑桌面
添加小米粒文库到电脑桌面
安装后可以在桌面快捷访问

院感流程管理

院感流程管理_第1页
1/7
院感流程管理_第2页
2/7
院感流程管理_第3页
3/7
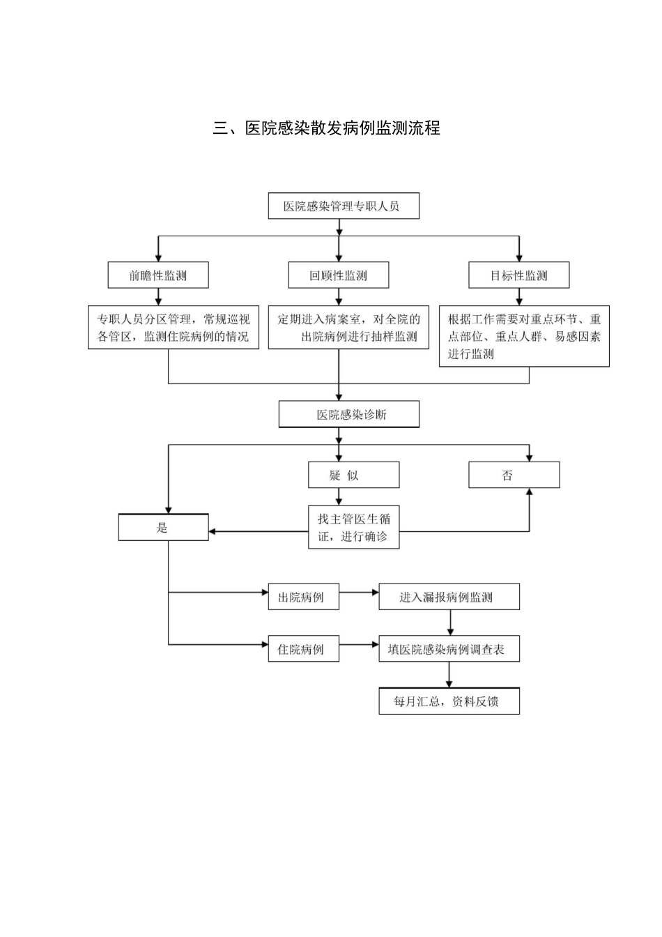
第四章、院感流程管理一、多重耐药菌监测、报告、处置流程二、医院感染暴发病例监测流程三、医院感染散发病例监测流程四、医疗废物分类、收集、回收、处理流程医疗废物分类(五类)医疗废物暂存处(暂存时间不超过 48 小时)*天一医疗废物处置公司来我院运出集中处置与暂存处工作人员交接签名五、医疗废物流失、泄露事故应急处理流程图六、医院感染暴发报告、应急处置流程图立即报告院感科/总值院感科到达现场调查、■1 小时内报告分管核实LJ院长

1、当您付费下载文档后,您只拥有了使用权限,并不意味着购买了版权,文档只能用于自身使用,不得用于其他商业用途(如 [转卖]进行直接盈利或[编辑后售卖]进行间接盈利)。
2、本站所有内容均由合作方或网友上传,本站不对文档的完整性、权威性及其观点立场正确性做任何保证或承诺!文档内容仅供研究参考,付费前请自行鉴别。
3、如文档内容存在违规,或者侵犯商业秘密、侵犯著作权等,请点击“违规举报”。

碎片内容

院感流程管理

wxg+ 关注
实名认证
内容提供者

该用户很懒,什么也没介绍

确认删除?
微信客服
  • 扫码咨询
会员Q群
  • 会员专属群点击这里加入QQ群