电脑桌面
添加小米粒文库到电脑桌面
安装后可以在桌面快捷访问

燃气泄漏分类及应急处理技术指引

燃气泄漏分类及应急处理技术指引_第1页
1/8
燃气泄漏分类及应急处理技术指引_第2页
2/8
燃气泄漏分类及应急处理技术指引_第3页
3/8
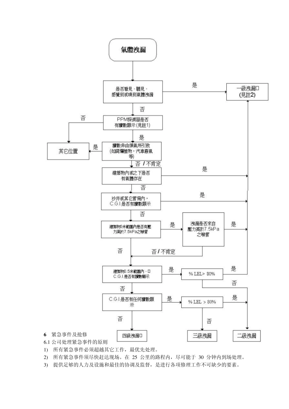
燃气泄漏分类及应急处理技术指引 1 . 目的 订定气体泄漏的类别及提供指引给工程部气体泄漏测量队,用于处理不同类别的气体泄漏时作出适当的行动。 2 . 应用范围 此技术指引适用于符合本文件所订立泄漏类别的所有气体泄漏显示。可能有些显示并未包括在本文件所提的泄漏类别之内,在此情况下,测量队应凭经验和常识当场作出正确判断。 3 . 参考文件 配气工作守则- 气体泄漏测量。 4 . 程序 4 .1 气体泄漏的类别 4 .1 .1 气体泄漏的类别一般均依照附图 1 的流程图。 4 .2 不同类别的气体泄漏处理 4 .2 .1 第一级气体泄漏 4 .2 .1 .1 泄漏测量队应当作紧急事件处理,并立即采取措施保障生命及财产的安全,同时通知管网调度中心。 4 .2 .1 .2 依照负责的工地督导级职员的指示进行适当的修理。 4 .2 .2 第二级气体泄漏 4 .2 .2 .1 泄漏测量队应通知管网调度中心,并请求指示。 4 .2 .2 .2 若证实对现场无实时的危险( 例如在沙井/ 管筒内探测不到燃气) ,并经过负责的工地督导级职员批准,则泄漏测量队可以离开现场,待日后进行修理工作。 4 .2 .2 .3 除须经过负责的工地督导级职员批准外,该修理工作应于六星期内进行。 4 .2 .2 .4 在进行修理工作之前,应每隔七天到场测量/ 监察气体泄漏情况。 4 .2 .3 第三级气体泄漏 4 .2 .3 .1 泄漏测量队应在下一工作日通知负责的工地督导级职员。 4 .2 .3 .2 在正常情况下,应在七天内进行复测工作。 4 .2 .4 第四级气体泄漏 4 .2 .4 .1 不需进行任何修理工作,只须作记录,以便下一次测量时作比较。 5 . 气体泄漏的类别 6 紧急事件及抢修 6 .1 公司处理紧急事件的原则 1 ) 所有紧急事件必须超越其它工作,最优先处理。 2 ) 所有紧急事件须尽快赶达现场。在 2 5 公里的路程内,尽可能于 3 0 分钟内到场处理。 3 ) 提供足够的人力及设施和最佳的协调及监督,是进行各项修理工作不可缺少的要素。 4) 行动时优先处理顺序: a、 保障生命; b、 保障财产; c、 找出及修理燃气泄漏; d、 在现场作最后调查; e、 找出紧急事件的起因并作出报告。 5) 紧急事件优先处理顺序: a、 燃气泄漏─火警─爆炸。 b、 燃气供应中断─供应不稳定─区域压力过高或过低。 c、 不安全的炉具或气体装置。 d、 医院或同类机构的有故障炉具或气体装置。 e、 工商业机构的有故障炉具或气...

1、当您付费下载文档后,您只拥有了使用权限,并不意味着购买了版权,文档只能用于自身使用,不得用于其他商业用途(如 [转卖]进行直接盈利或[编辑后售卖]进行间接盈利)。
2、本站所有内容均由合作方或网友上传,本站不对文档的完整性、权威性及其观点立场正确性做任何保证或承诺!文档内容仅供研究参考,付费前请自行鉴别。
3、如文档内容存在违规,或者侵犯商业秘密、侵犯著作权等,请点击“违规举报”。

碎片内容

燃气泄漏分类及应急处理技术指引

小辰2+ 关注
实名认证
内容提供者

出售各种资料和文档

确认删除?
VIP
微信客服
  • 扫码咨询
会员Q群
  • 会员专属群点击这里加入QQ群
客服邮箱
回到顶部