电脑桌面
添加小米粒文库到电脑桌面
安装后可以在桌面快捷访问

网络传输整个系统详解,ARP_UDP_TCP_IP数据传输格式_强烈推荐

网络传输整个系统详解,ARP_UDP_TCP_IP数据传输格式_强烈推荐_第1页
1/21
网络传输整个系统详解,ARP_UDP_TCP_IP数据传输格式_强烈推荐_第2页
2/21
网络传输整个系统详解,ARP_UDP_TCP_IP数据传输格式_强烈推荐_第3页
3/21
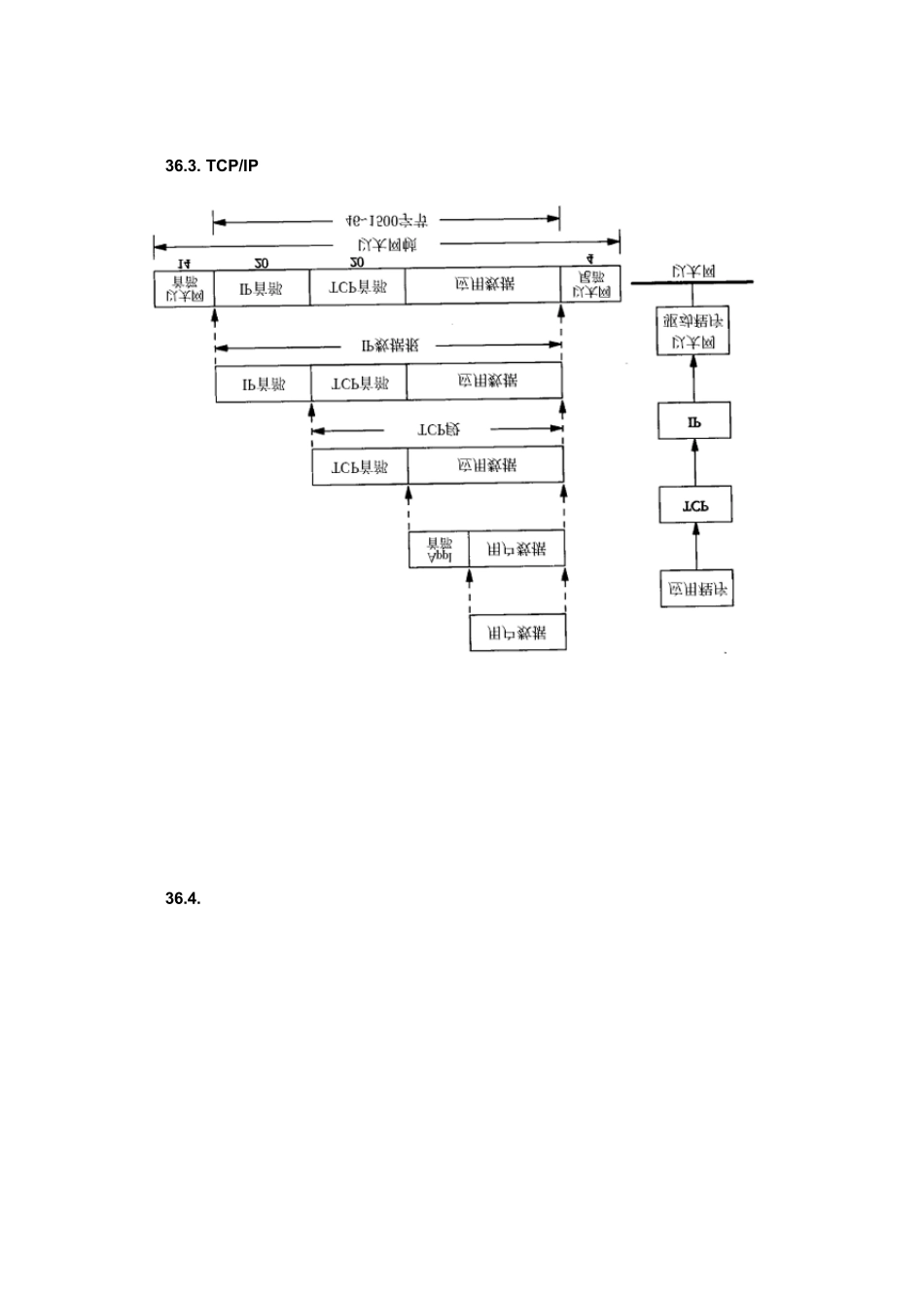
TCP/IP 协议栈与数据包封装TCP/IP 网络协议栈分为应用层( Application)、传输层(Transport)、网络层(Network)和链路层(Link)四层。如下图所示(该图出自)。图 36.1. TCP/IP 协议栈两台计算机通过 TCP/IP 协议通讯的过程如下所示(该图出自)。图 36.2. TCP/IP 通讯过程传输层及其以下的机制由内核提供,应用层由用户进程提供(后面将介绍如何使用 socketAPI编写应用程序),应用程序对通讯数据的含义进行解释,而传输层及其以下处理通讯的细节,将数据从一台计算机通过一定的路径发送到另一台计算机。应用层数据通过协议栈发到网络上时,每层协议都要加上一个数据首部(header),称为封装(Encapsulation),如下图所示(该图出自)。图 36.3. TCP/IP 数据包的封装不同的协议层对数据包有不同的称谓,在传输层叫做段( segment),在网络层叫做数据报(datagram),在链路层叫做帧(frame)。数据封装成帧后发到传输介质上,到达目的主机后每层协议再剥掉相应的首部,最后将应用层数据交给应用程序处理。上图对应两台计算机在同一网段中的情况,如果两台计算机在不同的网段中,那么数据从一台计算机到另一台计算机传输过程中要经过一个或多个路由器,如下图所示(该图出自)。图 36.4. 跨路由器通讯过程其实在链路层之下还有物理层,指的是电信号的传递方式,比如现在以太网通用的网线(双绞线)、早期以太网采用的的同轴电缆(现在主要用于有线电视)、光纤等都属于物理层的概念。物理层的能力决定了最大传输速率、传输距离、抗干扰性等。集线器(Hub)是工作在物理层的网络设备,用于双绞线的连接和信号中继(将已衰减的信号再次放大使之传得更远)。链路层有以太网、令牌环网等标准,链路层负责网卡设备的驱动、帧同步(就是说从网线上检测到什么信号算作新帧的开始)、冲突检测(如果检测到冲突就自动重发)、数据差错校验等工作。交换机是工作在链路层的网络设备,可以在不同的链路层网络之间转发数据帧(比如十兆以太网和百兆以太网之间、以太网和令牌环网之间),由于不同链路层的帧格式不同,交换机要将进来的数据包拆掉链路层首部重新封装之后再转发。网络层的IP协议是构成 Internet的基础。Internet上的主机通过 IP地址来标识,Internet上有大量路由器负责根据 IP地址选择合适的路径转发数据包,数据包从 Internet上的源主机到目的主机往往要经过十多个路由器。路由器是工作在第三层的网络设备,同时兼...

1、当您付费下载文档后,您只拥有了使用权限,并不意味着购买了版权,文档只能用于自身使用,不得用于其他商业用途(如 [转卖]进行直接盈利或[编辑后售卖]进行间接盈利)。
2、本站所有内容均由合作方或网友上传,本站不对文档的完整性、权威性及其观点立场正确性做任何保证或承诺!文档内容仅供研究参考,付费前请自行鉴别。
3、如文档内容存在违规,或者侵犯商业秘密、侵犯著作权等,请点击“违规举报”。

碎片内容

网络传输整个系统详解,ARP_UDP_TCP_IP数据传输格式_强烈推荐

小辰2+ 关注
实名认证
内容提供者

出售各种资料和文档

确认删除?
VIP
微信客服
  • 扫码咨询
会员Q群
  • 会员专属群点击这里加入QQ群
客服邮箱
回到顶部