电脑桌面
添加小米粒文库到电脑桌面
安装后可以在桌面快捷访问

工程制图作业参考答案

工程制图作业参考答案_第1页
1/8
工程制图作业参考答案_第2页
2/8
工程制图作业参考答案_第3页
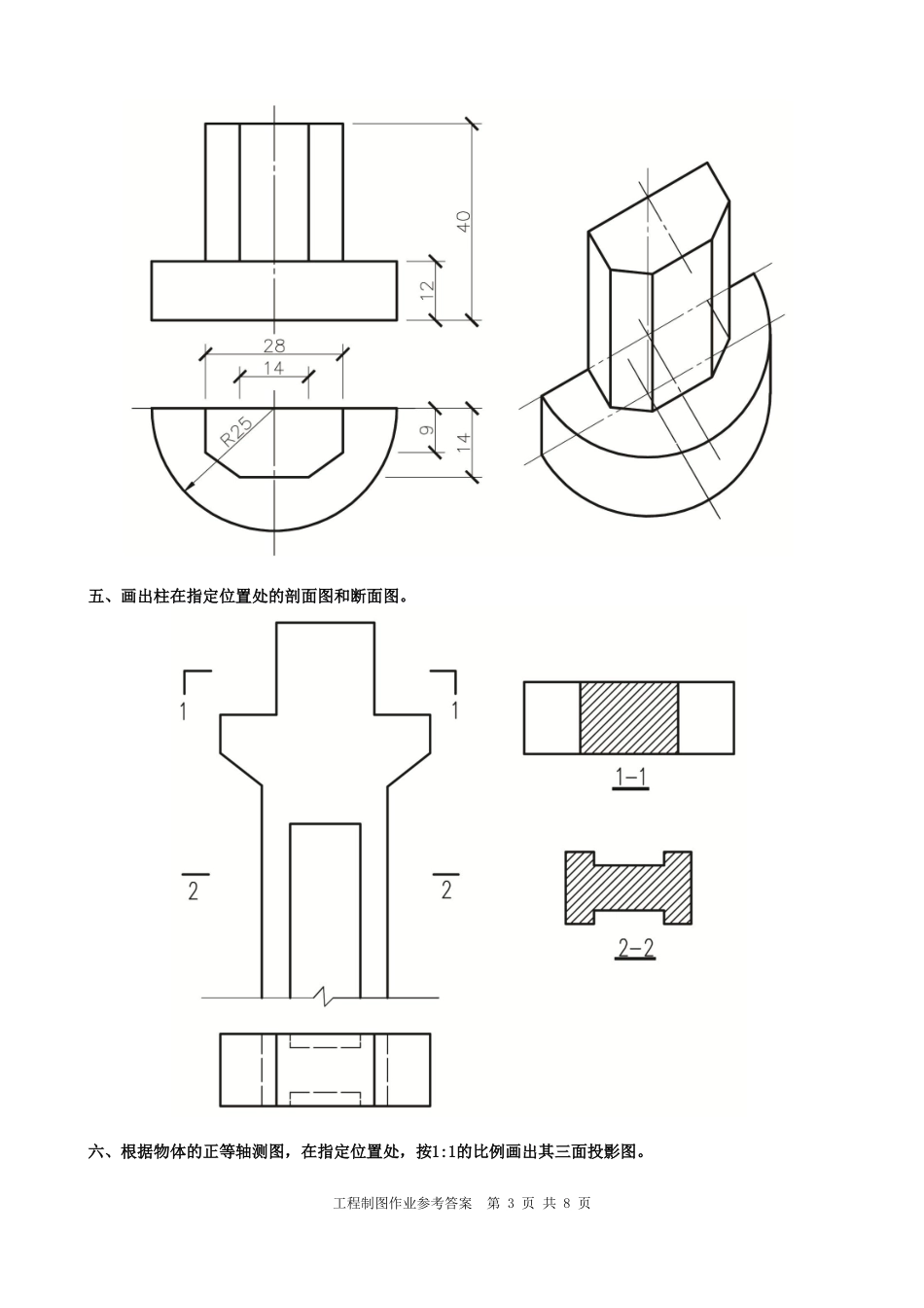
3/8
《工程制图》课程作业参考答案参考答案一一、填空题:请将答案填写在题中的横线上。1.2.工程制图作业参考答案第 1 页 共 8 页3.4.在建筑平面图和建筑剖面图中,凡被剖切到的墙、柱的断面轮廓线用 粗实线表示;未被剖切到的可见轮廓线,如窗台、花台等用中实线表示;定位轴线用细点画线表示;尺寸线用细实线表示;尺寸界线用细实线表示。二、求直线与平面的交点 K 的二投影,并判定其投影的可见性。三、补全圆柱被截切后的三面投影图。四、按 1:1 的比例标注下列视图的尺寸(精确到毫米);并画出其水平斜等轴测图(p=q=r=1)。工程制图作业参考答案第 2 页 共 8 页五、画出柱在指定位置处的剖面图和断面图。六、根据物体的正等轴测图,在指定位置处,按1:1的比例画出其三面投影图。工程制图作业参考答案第 3 页 共 8 页七、根据房屋模型的二投影图,画出第三投影图。工程制图作业参考答案第 4 页 共 8 页参考答案二一、填空题:请将答案填写在题中的横线上。1.2.工程制图作业参考答案第 5 页 共 8 页3.4.房屋建筑施工图,一般包括: 总平面图、平面图、 立面图、剖面图、详图。二、求作两平面的交线 MN 的二投影,并判定其投影的可见性。三、 补全四棱柱被截切后的水平投影,并画出侧面投影。工程制图作业参考答案第 6 页 共 8 页四、按 1:1 的比例标注下列视图的尺寸(精确到毫米);并画出其正等轴测图(p=q=r=1)。五、画出梁在指定位置处的剖面图和断面图。工程制图作业参考答案第 7 页 共 8 页六、根据物体的正等轴测图,在指定位置处,按1:1的比例画出其三面投影图。七、根据物体的二投影图,画出第三投影图。工程制图作业参考答案第 8 页 共 8 页

1、当您付费下载文档后,您只拥有了使用权限,并不意味着购买了版权,文档只能用于自身使用,不得用于其他商业用途(如 [转卖]进行直接盈利或[编辑后售卖]进行间接盈利)。
2、本站所有内容均由合作方或网友上传,本站不对文档的完整性、权威性及其观点立场正确性做任何保证或承诺!文档内容仅供研究参考,付费前请自行鉴别。
3、如文档内容存在违规,或者侵犯商业秘密、侵犯著作权等,请点击“违规举报”。

碎片内容

工程制图作业参考答案

确认删除?
VIP
微信客服
  • 扫码咨询
会员Q群
  • 会员专属群点击这里加入QQ群
客服邮箱
回到顶部