电脑桌面
添加小米粒文库到电脑桌面
安装后可以在桌面快捷访问

GPS处理软件简介

GPS处理软件简介_第1页
1/38
GPS处理软件简介_第2页
2/38
GPS处理软件简介_第3页
3/38
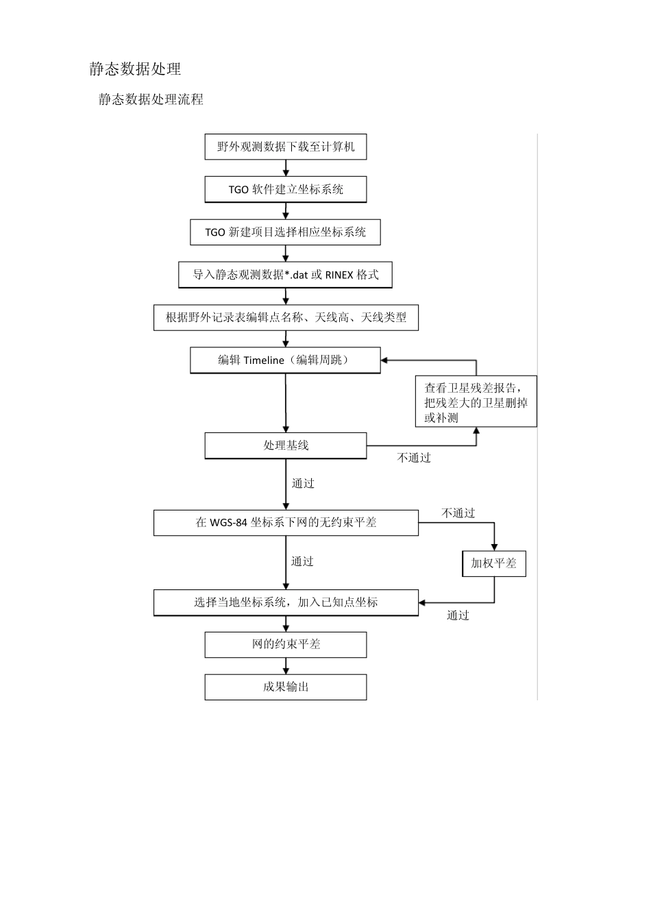
第二节 GPS处理软件简介 1概述 由于GPS 定位技术具有高精度、高速度和全天侯等优点,在大范围的首级控制测量工作中已基本取代传统测量方法。使用 GPS进行控制测量时,可采用静态和动态两种观测方法。其中静态观测方法精度较高普遍应用于控制测量工作。GPS接收机观测数据是使用与之配套的平差软件来解算的。国内外 GPS接收机和与之配套的处理软件产品很多,较为知名的国外生产厂商有美国 Trimble(天宝)导航公司,Ashtech(阿什泰克)测量系统,瑞士 Leica Geosystems(徕卡测量系统),日本 TOPCON(拓普康)公司,美国 Magellan(麦哲伦)公司,国内生产厂商有中海达、中纬、南方等测绘公司。本节举例介绍 GPS处理软件功能及操作步骤。 2 GPS处理软件主要功能 虽然 GPS接收机产品种类繁多,但与之配套的处理软件功能大体相同,主要有以下几个功能模块: 2.1文件管理模块 主要功能是新建 GPS数据处理文件,也可以打开原有文件,并对文件进行编辑和保存等操作。 2.2项目属性模块 可以建立参考椭球,输入投影椭球参数、投影参数、观测精度、控制网精度等级等相关数据。 2.3数据转换及导入 从 GPS接收机下载观测数据,并将观测数据导入程序,准备进行下一步基线解算。一些处理软件自带数据转换模块,可将其他数据文件格式转换为该软件数据文件格式,再导入观测数据。 2.4基线解算模块 导入观测数据后,按照对应时段输入相应接收机的天线高及测点名称,进行基线解算参数设置,其中包括:选择解算基线,卫星高度截止角,采集历元间隔,参考卫星,方差比,观测时段长,合格解选择等内容。基线解算完成后可显示基线边、同步环、异步环相对精度。解算成果合格可进行下一步平差解算工作。若成果不合格通过调整基线解算参数,删减观测数据,删减不合格基线等方法,再次重新解算不合格基线直至解算合格。 2.5平差解算模块 该模块功能主要是进行三维自由网平差,二维约束平差,高程拟合平差,且显示出平差成果及各项平差精度。 2.6成果报告模块 平差成果报告内容,输出文件格式均可在该模块中进行编辑,预览和打印。 3 TGO处理软件简介 3.1概述 Trimble Geomatics Office是Trimble公司GPS后处理软件,可以进行静态GPS 数据后处理以及RTK 测量数据处理。它可以处理所有Trimble GPS 的原始测量数据和其他品牌的GPS 数据(RINEX),还有传统光学测量仪器采集的数据以及激光测距仪的数据。 整个软件包由多个模块构成。...

1、当您付费下载文档后,您只拥有了使用权限,并不意味着购买了版权,文档只能用于自身使用,不得用于其他商业用途(如 [转卖]进行直接盈利或[编辑后售卖]进行间接盈利)。
2、本站所有内容均由合作方或网友上传,本站不对文档的完整性、权威性及其观点立场正确性做任何保证或承诺!文档内容仅供研究参考,付费前请自行鉴别。
3、如文档内容存在违规,或者侵犯商业秘密、侵犯著作权等,请点击“违规举报”。

碎片内容

GPS处理软件简介

确认删除?
VIP
微信客服
  • 扫码咨询
会员Q群
  • 会员专属群点击这里加入QQ群
客服邮箱
回到顶部