电脑桌面
添加小米粒文库到电脑桌面
安装后可以在桌面快捷访问

施工阶段质量控制流程

施工阶段质量控制流程_第1页
1/6
施工阶段质量控制流程_第2页
2/6
施工阶段质量控制流程_第3页
3/6
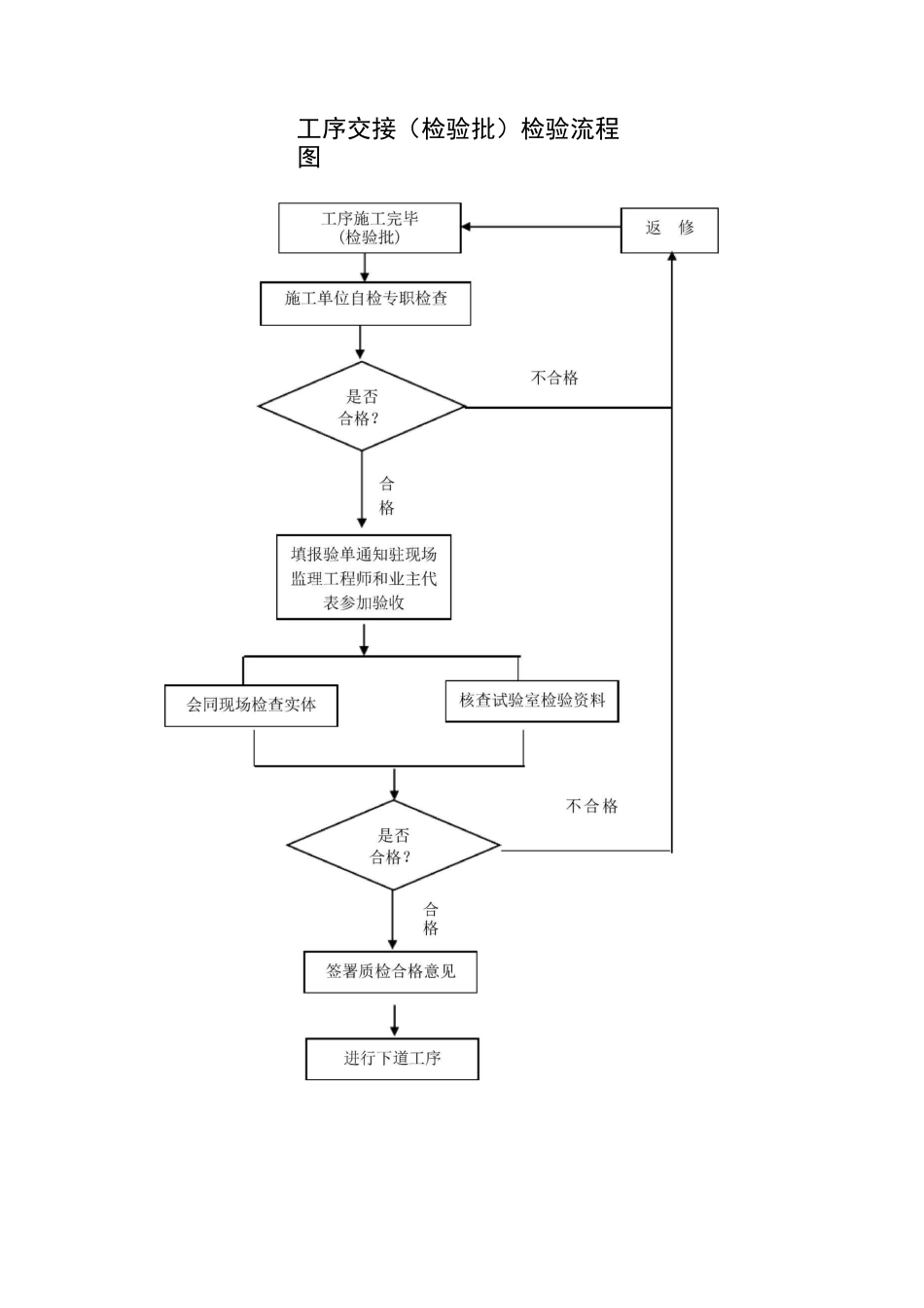
施工阶段质量控制流程项目总质量目标或单项工程质量目标确定质量控制目标各单位工程质量目标或各分部工程质量目标1r进彳丁质量目标分解计划分项工程验收分部工程验收工程竣工验收自检记录(承包原材料质量监理工作流程图原材料、购配件厂方或供应商质保资料进入质量事故处理流程不合格更换供应商或厂家工序交接(检验批)检验流程图设计变更处理流程图总监理工程师组织审核业主、设计、监理方签字设计变更文件下发到相关单位实施变更监理提出相关意见工程质量事故处理程序框图发生质量事故

1、当您付费下载文档后,您只拥有了使用权限,并不意味着购买了版权,文档只能用于自身使用,不得用于其他商业用途(如 [转卖]进行直接盈利或[编辑后售卖]进行间接盈利)。
2、本站所有内容均由合作方或网友上传,本站不对文档的完整性、权威性及其观点立场正确性做任何保证或承诺!文档内容仅供研究参考,付费前请自行鉴别。
3、如文档内容存在违规,或者侵犯商业秘密、侵犯著作权等,请点击“违规举报”。

碎片内容

施工阶段质量控制流程

确认删除?
VIP
微信客服
  • 扫码咨询
会员Q群
  • 会员专属群点击这里加入QQ群
客服邮箱
回到顶部