电脑桌面
添加小米粒文库到电脑桌面
安装后可以在桌面快捷访问

伯努利方程实验报告

伯努利方程实验报告_第1页
1/6
伯努利方程实验报告_第2页
2/6
伯努利方程实验报告_第3页
3/6
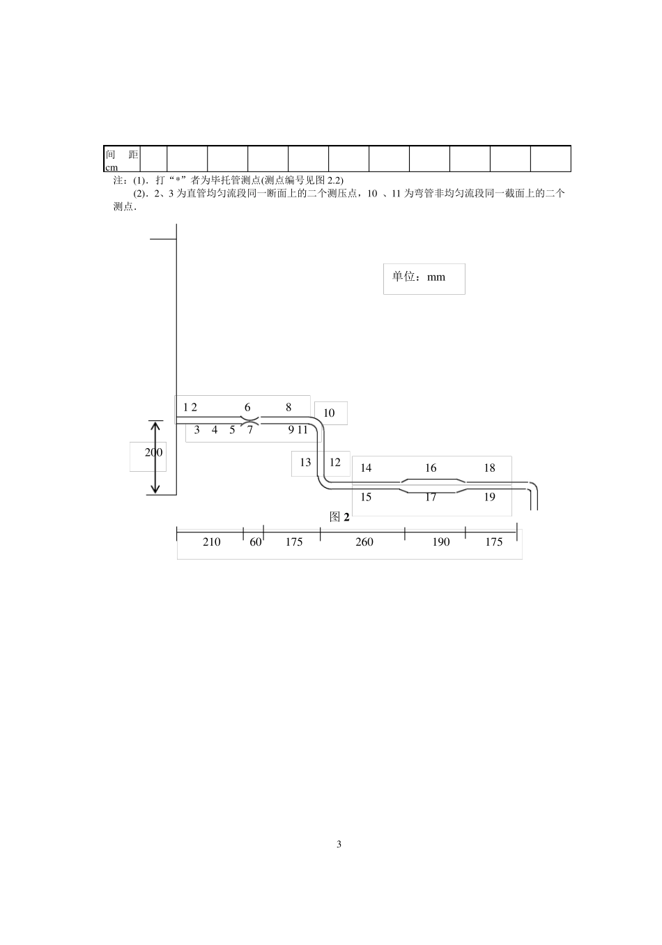
1 不可压缩流体定常流能量方程(伯努利方程)实验 一、实验目的要求: 1、掌握流速、流量、压强等动水力学水力要素的实验量测技术; 2、验证流体定常流的能量方程; 3、通过对动水力学诸多水力现象的实验分析研究,进一步掌握有压管流中动水力学的能量转换特性。 二、实验装置: 自循环 伯努利方程实验装置图 本实验的装置如图所示,图中: 1.自循环供水器; 2.实验台; 3.可控硅无级调速器; 4.溢流板; 5.稳水孔板; 6.恒压水箱; 7.测压计; 8.滑动测量尺; 9.测压管; 10.实验管道; 11.测压点; 12.毕托管 13.实验流量调节阀。 三、实验原理: 在实验管路中沿水流方向取 n 个过水截面。可以列出进口截面(1)至截面(i)的能量方程式(i=2,3,.....,,n ) 12 11 1 2 3 4 5 6 7 8 9 10 13 2 WihggpZggpZiii12222111 选好基准面,从已设置的各截面的测压管中读出gpZ值,测出通过管路的流量,即可计算出截面平均流速ν及动压g22,从而可得到各截面测管水头和总水头。 四、实验方法与步骤: 1、熟悉实验设备,分清各测压管与各测压点,毕托管测点的对应关系。 2、打开开关供水,使水箱充水,待水箱溢流后,检查泄水阀关闭时所有测压管水面是否齐平,若不平则进行排气调平(开关几次)。 3、打开阀 13,观察测压管水头线和总水头线的变化趋势及位置水头、压强水头之间的相互关系,观察当流量增加或减少时测压管水头的变化情况。 4、调节阀 13 开度,待流量稳定后,测记各测压管液面读数,同时测记实验流量(与毕托管相连通的是演示用,不必测记读数)。 5、再调节阀 13 开度 1~2 次,其中一次阀门开度大到使液面降到标尺最低点为限,按第 4 步重复测量。 五、实验结果及要求: 1、把有关常数记入表 2.1。 2、量测(gpZ)并记入表 2.2。 3、计算流速水头和总水头。 4、绘制上述结果中最大流量下的总水头线和测压管水头线(轴向尺寸参见图 2.2,总水头线和测压管水头线可以绘在图 2.2 上)。 六、结果分析及讨论: 1、测压管水头线和总水头线的变化趋势有何不同?为什么? 2、流量增加,测压管水头线有何变化?为什么? 3、测点 2、3 和测点 10 、11 的测压管读数分别说明了什么问题? 4、试问避免喉管(测点 7)处形成真空有哪几种技术措施?分析改变作用水头(如抬高或降低水箱的水位)对喉管压强的影响情况。 5、由毕托管测量显示的总水头线与实测...

1、当您付费下载文档后,您只拥有了使用权限,并不意味着购买了版权,文档只能用于自身使用,不得用于其他商业用途(如 [转卖]进行直接盈利或[编辑后售卖]进行间接盈利)。
2、本站所有内容均由合作方或网友上传,本站不对文档的完整性、权威性及其观点立场正确性做任何保证或承诺!文档内容仅供研究参考,付费前请自行鉴别。
3、如文档内容存在违规,或者侵犯商业秘密、侵犯著作权等,请点击“违规举报”。

碎片内容

伯努利方程实验报告

确认删除?
VIP
微信客服
  • 扫码咨询
会员Q群
  • 会员专属群点击这里加入QQ群
客服邮箱
回到顶部