电脑桌面
添加小米粒文库到电脑桌面
安装后可以在桌面快捷访问

危险性较大的分部分项工程安全控制要点

危险性较大的分部分项工程安全控制要点_第1页
1/16
危险性较大的分部分项工程安全控制要点_第2页
2/16
危险性较大的分部分项工程安全控制要点_第3页
3/16
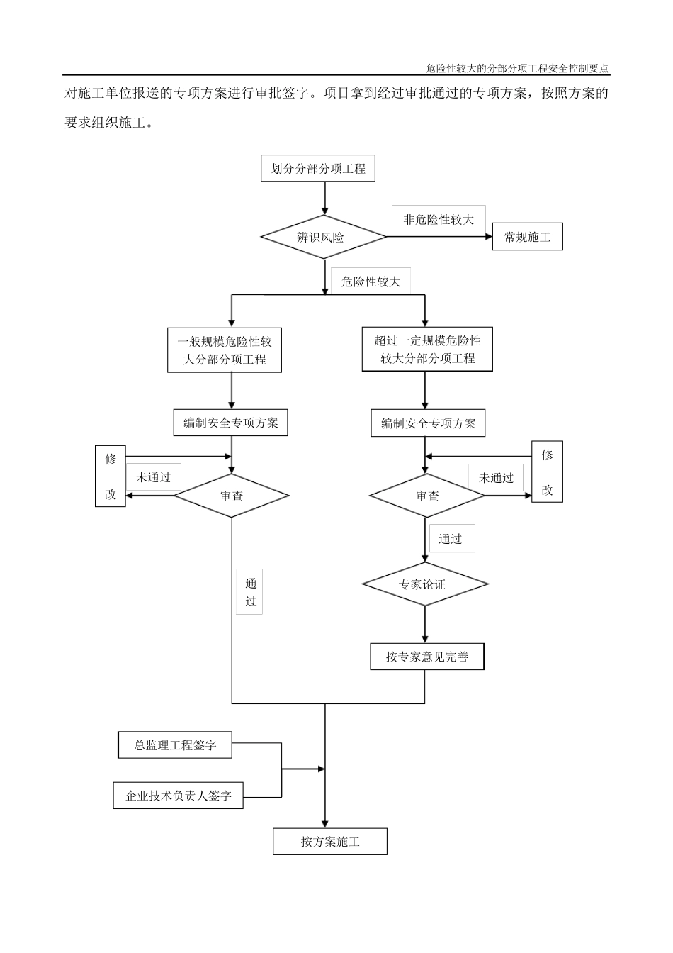
危险性较大的分部分项工程安全控制要点 危险性较大的分部分项工程安全控制要点 根据《危险性较大的分部分项工程安全管理办法》(建制[2009]87 号)(以下简称《办法》)的规定,大型化工项目建设将涉及到《办法》所列的七大基本条目,超过一定规模的危险性较大分部分项的工程是指危险性较大的分部分项工程超过了常规的规模可能造成的风险较大,此类分部分项工程的专项方案还需要专家论证后才可实施。 本控制要点主要从控制管理流程、专项方案编制内容、方案实施及控制要点四部分来加以分析说明。 一、控制流程 危险性较大的分部分项工程控制程序主要有以下七个过程,具体工作程序见图1。 1、划分分部分项工程。项目签约后,项目技术负责人组织相关施工管理技术人员针对合同约定的项目内容,结合设计提供的图纸对项目进行分部分项工程的划分。 2、辨识危险性较大的分部分项工程。施工技术人员对于划分出的分部分项工程对照《办法》所列条目进行甄别。 3、编制危险性较大分部分项工程专项方案。项目技术负责人组织对危险性较大分部分项工程分析编制专项施工方案。 4、专项方案审查。施工单位技术部门组织技术人员对专项方案进行审查,对超过一定规模的提出进行专家论证的建议,一般规模的审批后下发项目实施。 5、专家论证。对在审核中发现风险较大超过一定规模的分部分项工程组织专家进行专项方案的论证。 6、完善方案。对专家论证通过的专项方案组织相关技术人员对专家意见进行收集,并将意见纳入专项方案,对专家论证没有通过的专项方案组织相关技术人员按照专家意见进行修订,并再次进行专家论证。 7、施工单位技术负责人对审查,论证通过的安全专项方案进行签字,现场总 监 理工程师 危险性较大的分部分项工程安全控制要点 对施工单位报送的专项方案进行审批签字。项目拿到经过审批通过的专项方案,按照方案的要求组织施工。 一般规模危险性较大分部分项工程 未通过 未通过 划分分部分项工程 常规施工 辨识风险 非危险性较大 超过一定规模危险性较大分部分项工程 危险性较大 编制安全专项方案 编制安全专项方案 审查 审查 修 改 修 改 专家论证 通过 按专家意见完善 按方案施工 通 过 总监理工程签字 企业技术负责人签字 危险性较大的分部分项工程安全控制要点 图1 危险性较大的分部分项工程管理流程图 二、专项方案编制内容 危险性较大的分部分项工程专项方案由项目技术负责人组织项目工程技术...

1、当您付费下载文档后,您只拥有了使用权限,并不意味着购买了版权,文档只能用于自身使用,不得用于其他商业用途(如 [转卖]进行直接盈利或[编辑后售卖]进行间接盈利)。
2、本站所有内容均由合作方或网友上传,本站不对文档的完整性、权威性及其观点立场正确性做任何保证或承诺!文档内容仅供研究参考,付费前请自行鉴别。
3、如文档内容存在违规,或者侵犯商业秘密、侵犯著作权等,请点击“违规举报”。

碎片内容

危险性较大的分部分项工程安全控制要点

确认删除?
VIP
微信客服
  • 扫码咨询
会员Q群
  • 会员专属群点击这里加入QQ群
客服邮箱
回到顶部