电脑桌面
添加小米粒文库到电脑桌面
安装后可以在桌面快捷访问

安全带检验方法

安全带检验方法_第1页
1/16
安全带检验方法_第2页
2/16
安全带检验方法_第3页
3/16
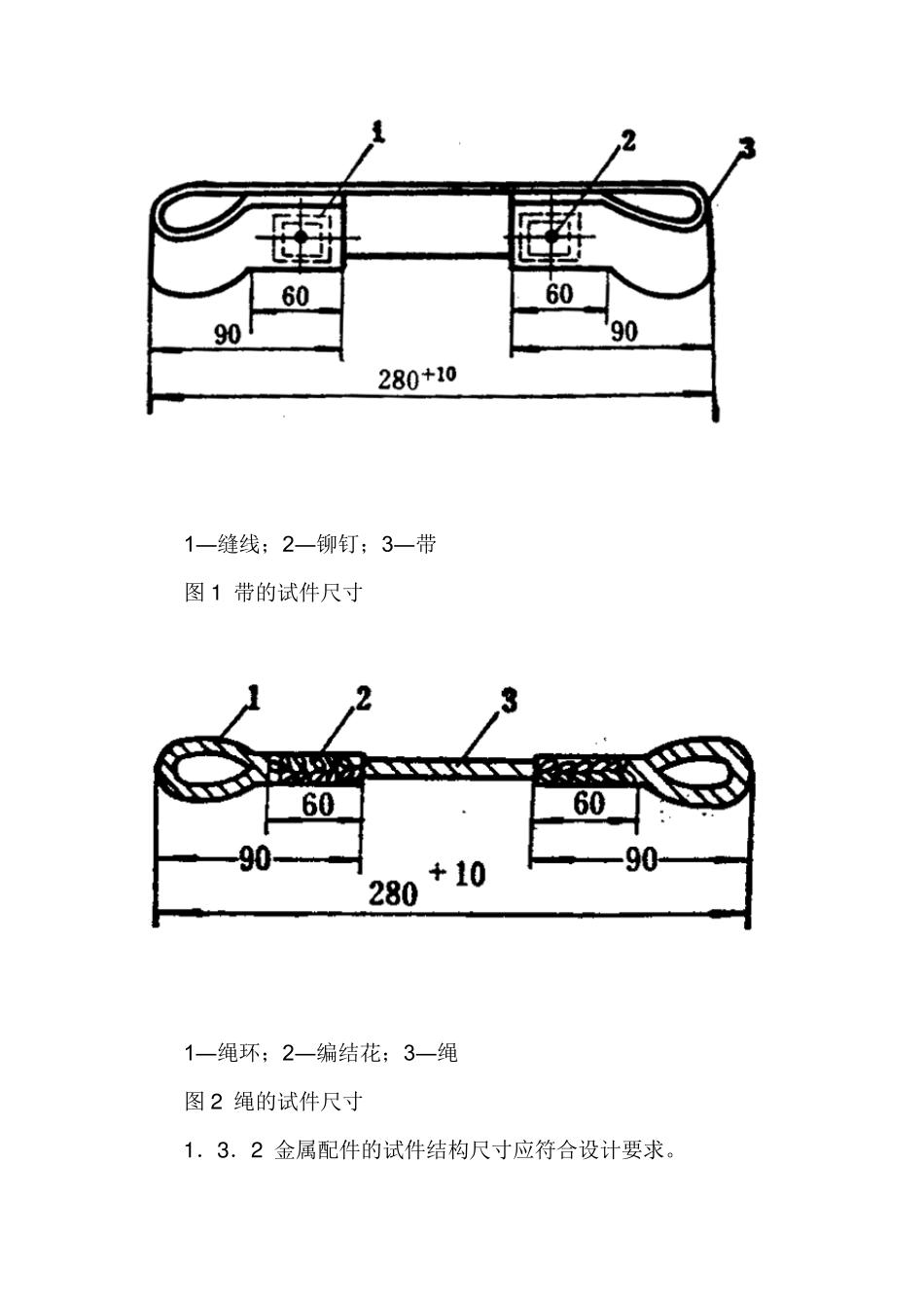
安全带检验方法 本标准适用于高处围杆,悬挂和攀登作业。 安全带各部件和整体要做负荷试验。分静负荷和冲击试验两部分。 1 静负荷试验和要求 1.1 安全带各部件(包括带、绳、金属配件和使用的缝线)和围杆带、绳整体做静负荷试验,按 GB6095—85《安全带》的规定进行,合格后才准组装成安全带。整体围杆带或绳做4412.7N(450kgf)静负荷测试,合格后,才能批量生产。 1.2 试验设备 49000N(5t)拉力试验机 1 台; 980.6N(100kg)拉力试验机 1 台; 试验架一座; 0.5t 卷扬机 1 台; 整体静负荷试验装置一套如图 10。 1.3 各部件检验情况 1.3.1 安全带、绳的试件结构尺寸见图 1、图 2。绳的两端应插成 3~ 4 道的花的绳环。 1― 缝线;2― 铆钉;3― 带 图1 带的试件尺寸 1― 绳环;2― 编结花;3― 绳 图2 绳的试件尺寸 1 .3 .2 金属配件的试件结构尺寸应符合设计要求。 1.3.3 安全钩静负荷试验连接形式,见图3、图4、图5、图6、图7。 1― 夹具;2― 扁钢钩;A、B― 加力处 图3 扁钢钩测试图 1― 夹具;2― 圆钢钩;A、B― 加力处 图4 圆钢钩测试图] 1― 绳;2― 自锁钩;3― 夹具;A、B― 加力处 图 5 封闭式自锁钩测试图 1― 绳;2― 开启式自锁钩;3― 挂钩;4― 夹具;A、B― 加力处 图 6 开启式自锁钩测试图 1、4― 夹具;2― 挂钩框;3― 攀登钩;A、B― 加力处 图 7 攀登挂钩测试图 1.3.4 各种连接环静负荷试验的连接形式,见图 8。 1― 板构夹具;2― 半圆环;3― U 型环夹具;4― 圆环;5― 三角环;6― 品字环;7― 8 字环 图8 连接环或试验用具图 1 .3 .5 安全带卡子静负荷试验连接形式,见图9 。 1、3― 夹具;2― 腰带扣;A、B― 加力处 图 9 腰带扣测试图 围杆带或绳做整体测试的连接形式,见图 10。 1― 夹具;2― 安全带;3― 半圆环;4― 钩;5― 三角环;6― 围杆带或围杆绳;7― 木轮;A― 加力处;B― 固定端 图10 围杆带或绳整体静负荷试验图 1.5 缝线试验 将线栓在夹具上做拉力试验,要求破断负荷为156.8N(16kgf),拉断速度100mm/min。 1.6 安全带部件和整体的负荷测试 安全带部件和整体做负荷测试时,拉伸速度为100mm/min。 2 冲击试验和要求 2.1 试验设备: a.冲击架一座; b.释放器一个; c.0.5t卷扬机一台; d.拉压式应变传感器一个; e.数据...

1、当您付费下载文档后,您只拥有了使用权限,并不意味着购买了版权,文档只能用于自身使用,不得用于其他商业用途(如 [转卖]进行直接盈利或[编辑后售卖]进行间接盈利)。
2、本站所有内容均由合作方或网友上传,本站不对文档的完整性、权威性及其观点立场正确性做任何保证或承诺!文档内容仅供研究参考,付费前请自行鉴别。
3、如文档内容存在违规,或者侵犯商业秘密、侵犯著作权等,请点击“违规举报”。

碎片内容

安全带检验方法

小辰7+ 关注
实名认证
内容提供者

出售各种资料和文档

确认删除?
VIP
微信客服
  • 扫码咨询
会员Q群
  • 会员专属群点击这里加入QQ群
客服邮箱
回到顶部