电脑桌面
添加小米粒文库到电脑桌面
安装后可以在桌面快捷访问

实验室内审和管理评审指南VIP专享

实验室内审和管理评审指南_第1页
1/6
实验室内审和管理评审指南_第2页
2/6
实验室内审和管理评审指南_第3页
3/6
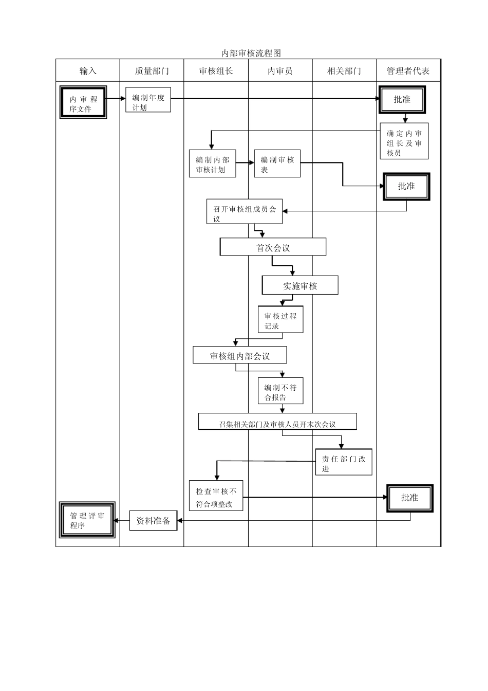
实验室内审和管理评审指南 一、 内部审核 评审准则第4.10条规定:“实验室应定期地对其质量活动进行内部审核,以验证其运作持续符合管理体系和本准则的要求。每年度的内部审核活动应覆盖管理体系的全部要素和所有活动。审核人员应经过培训并确认其资格,只要资源允许,审核人员应独立于被审核的工作。” “为获得审核证据并对其进行客观的评价,以确定满足审核准则的程度所进行的系统的、独立的,并形成文件的过程”称为审核,而用于内部目的,以检测机构自己的名义进行的审核称为内部审核。 内部审核是确定质量体系及其各要素的活动和其有关结果是否与有关标准或文件相符合,质量体系文件中各项规定是否得到有效贯彻,并适合于达到质量目标的、系统的、独立的审查。为达到管理体系运行预期的目的和要求,保证管理体系按照文件的要求,规范有序运行,检测机构应对管理体系运行的符合性进行自我评价。 内部审核是检测机构按照管理体系文件的规定对其管理体系的各个环节组织开展有计划的、系统的、独立的检查活动。内部审核是管理体系的组成部分,是管理体系自身的要求,不能将其视为管理体系之外的要求。如果检测机构的内部审核没有有效的实施,那么,可以认为该检测机构的管理体系运行是不全面的,并判定为缺少规定的要素和要求。 内部审核的依据是实验室资质认定评审准则、质量手册、程序文件、作业指导书(技术规范、规程)、法律、法规等。内部审核必须坚持客观性、独立性和系统方法才能够确保审核的有效性和效率。 内部审核应定期进行,内部审核的周期通常为一年,在此周期内应完成对此涉及的部门及全部适应的要素的审核。内部审核由质量负责人组织内审员按日程计划进行。内部审核计划要覆盖质量体系全部要素及检测的所有活动。 内审员经过培训具备持证上岗资格,审核应由有资质的内审员进行,可以是本单位的内审员,也可以是兄弟单位的内审员。质检机构应选送具备一定条件的人员通过专门培训、考核,取得内审员的任职资格,由本单位用文件的方式聘为内审员。质检机构应当保证其内审员对《评审准则》能够正确理解、清楚内部审核的技术方法和具备编制内部审核检查表和报告的能力。一般情况下,内审员不能审核自己的工作。在人力资源允许的情况下,应当保证内审员与其审核的部门或工作无关,即内审员应独立于被审核的工作,不能审核自己从事检测工作的所在部门,其目的在于确保内部审核工作的客观性、独立性。 (一)内部审核的方式:...

1、当您付费下载文档后,您只拥有了使用权限,并不意味着购买了版权,文档只能用于自身使用,不得用于其他商业用途(如 [转卖]进行直接盈利或[编辑后售卖]进行间接盈利)。
2、本站所有内容均由合作方或网友上传,本站不对文档的完整性、权威性及其观点立场正确性做任何保证或承诺!文档内容仅供研究参考,付费前请自行鉴别。
3、如文档内容存在违规,或者侵犯商业秘密、侵犯著作权等,请点击“违规举报”。

碎片内容

实验室内审和管理评审指南

确认删除?
VIP
微信客服
  • 扫码咨询
会员Q群
  • 会员专属群点击这里加入QQ群
客服邮箱
回到顶部