电脑桌面
添加小米粒文库到电脑桌面
安装后可以在桌面快捷访问

审批流程及操作规范

审批流程及操作规范_第1页
1/36
审批流程及操作规范_第2页
2/36
审批流程及操作规范_第3页
3/36
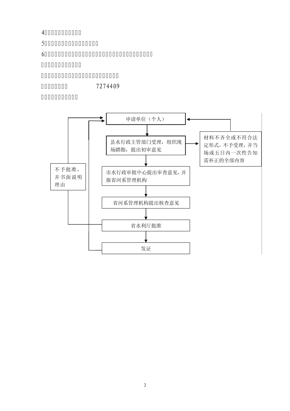
审批流程及操作规范 (申报指南<许可>) 满城县水务局 1 河道采砂审批 一、项目名称:河道采砂审批 二、设定依据:1、《中华人民共和国水法》第三十九条规定:“国家实行河道采砂许可制度。河道采砂许可制度实施办法,由国务院规定。” 2、《中华人民共和国河道管理条例》(国务院第3 号令)第二十五条规定:“在河道管理范围内进行下列活动,必须报经河道主管机关批准;涉及其他部门的,有河道主管机关会同有关部门批准:(一)采砂、取土、淘金、弃置砂石或淤泥。” 三、编号:421 四、法定实施主体名称:满城县水务局 五、审批权限:此事项由县级水行政主管部门初审,报市级水行政主管部门审查,由省水行政部门批准。 六、项目申请人种类:企业、事业、公民个人、其他组织 七、法定期限:20 个工作日 八、承诺期限:5 个工作日 九、收费标准:依据:《中华人民共和国河道管理条例》第四十条规定:“在河道范围内采砂、取土、淘金,必须按照经批准的范围和作业方式进行,并向河道主管机关缴纳管理费。收费的标准和计收办法由国务院水利行政主管部门会同国务院财政主管部门制定。” 标准:1、石料按料场当地销售价格10~ 25%,2、砂、土料按料场当地销售价格的5~ 25%, 3、淘金沙按每立方米淘金量售价的 3~ 5%。 十、年检情况:是 十一、申报条件:1、拟在满城县境内河道管理范围内开采砂、石、土,以及淘金(含淘取其他金属和非金属)的单位和个人,向县级水行政主管部门提出申请; 2、申请范围内的砂场未进行项目可行性论证的,应委托具有相应资质的水利水电勘察设计单位编制。 十二、申报材料: 1、河北省河道采砂许可申请书; 2、营业执照的复印件及其他相关材料; 3、采砂项目可行性论证报告; 2 4、采砂船舶、船员证书; 5、采砂设备及采砂人员的基本情况; 6、采砂申请与第三者有利害关系的,与第三者达成的协议或者有关文件。 以上申报材料,一式三份。 十三、受理地点:县行政服务中心满城县水务局窗口 十四、咨询电话:7274409 十五、项目程序示意图: 不予批准,并书面说明理由 申请单位(个人) 县水行政主管部门受理,组织现场踏勘,提出初审意见 市水行政审批中心提出审查意见,并报省河系管理机构 省河系管理机构提出核查意见 材料不齐全或不符合法定形式,不予受理,并当场或五日内一次性告知需补正的全部内容 省水利厅批准 发证 3 取水许可审批 一、项目名称:取水许可审批...

1、当您付费下载文档后,您只拥有了使用权限,并不意味着购买了版权,文档只能用于自身使用,不得用于其他商业用途(如 [转卖]进行直接盈利或[编辑后售卖]进行间接盈利)。
2、本站所有内容均由合作方或网友上传,本站不对文档的完整性、权威性及其观点立场正确性做任何保证或承诺!文档内容仅供研究参考,付费前请自行鉴别。
3、如文档内容存在违规,或者侵犯商业秘密、侵犯著作权等,请点击“违规举报”。

碎片内容

审批流程及操作规范

确认删除?
VIP
微信客服
  • 扫码咨询
会员Q群
  • 会员专属群点击这里加入QQ群
客服邮箱
回到顶部