电脑桌面
添加小米粒文库到电脑桌面
安装后可以在桌面快捷访问

机械控制工程基础期末试卷答案2

机械控制工程基础期末试卷答案2_第1页
1/12
机械控制工程基础期末试卷答案2_第2页
2/12
机械控制工程基础期末试卷答案2_第3页
3/12
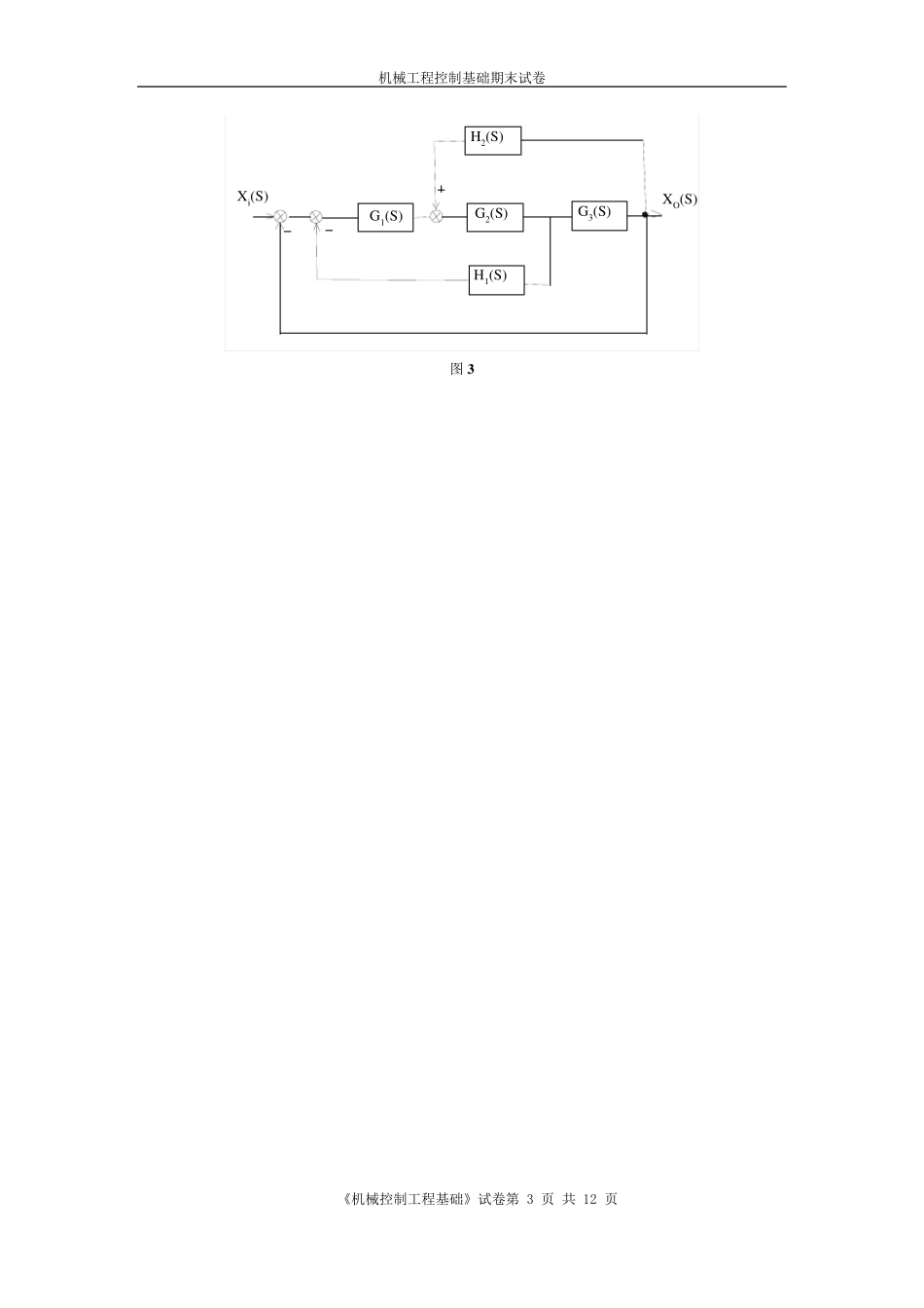
机械工程控制基础期末试卷 《机械控制工程基础》试卷第 1 页 共 12 页 一. 填空题(每小题2.5 分,共25 分) 1. 对控制系统的基本要求一般可以归纳为稳定性、 快速性 和 准确性 。 2. 按系统有无反馈,通常可将控制系统分为 开环系统 和 闭环系统 。 3. 在控制工程基础课程中描述系统的数学模型有 微分方程 、 传递函数 等。 4. 误差响应 反映出稳态响应偏离系统希望值的程度,它用来衡量系统 控制精度的程度。 5. 一阶系统11Ts 的单位阶跃响应的表达是 。 6. 有系统的性能指标按照其类型分为时域性能指标和 频域性能指标 。 7. 频率响应是线性定常系统对 谐波 输入的稳态响应。 8. 稳态误差不仅取决于系统自身的结构参数,而且与 的类型有关。 9. 脉冲信号可以用来反映系统的 。 10. 阶跃信号的拉氏变换是 。 二. 图1 为利用加热器控制炉温的反馈系统(10 分) 电压放大功率放大可逆电机+-自偶调压器~220VUf+给定毫伏信号+-电炉热电偶加热器UeUg炉温控制系统减速器- 图1 炉温控制结构图 试求系统的输出量、输入量、被 控对象 和系统各 部 分的组 成 ,且画 出原 理 方框 图,说 明其工作 原 理 。 三 、如 图2 为电路 。求输入电压iu 与输出电压0u 之 间 的微分方程, 并 求该 电路 的传递函数(1 0 分) 图2 Ru0uiLCu0uiCu0uiR(a)(b)(c)机械工程控制基础期末试卷 《机械控制工程基础》试卷第 2 页 共 12 页 四、求拉氏变换与反变换 (1 0 分) 1. 求 [0.5]tte(5 分) 2. 求13[](1)(2)sss(5 分) 五、化简图 3 所示的框图,并求出闭环传递函数(1 0 分) 机械工程控制基础期末试卷 《机械控制工程基础》试卷第 3 页 共 12 页 G1(S)G2(S)G3(S)H1(S)H2(S)Xi(S)XO(S) 图 3 机械工程控制基础期末试卷 《机械控制工程基础》试卷第 4 页 共 12 页 六、图 4 示机械系统由质量 m 、阻尼系数 C、弹簧刚度 K 和外力)(tf组成的机械动力系统。图 4(a)中)(txo是输出位移。当外力)(tf施加 3 牛顿阶跃力后(恒速信号),记录仪上记录质量 m 物体的时间响应曲线如图 4(b)所示。试求: 1)该系统的微分方程数学模型和传递函数;(5 分) 2)该系统的自由频率n 、阻尼比;(2 分) 3)该系统的弹簧刚度质量 m、阻尼系数 C、弹簧刚度 k;(3 分) 4)时间响应性能指标:上升时间...

1、当您付费下载文档后,您只拥有了使用权限,并不意味着购买了版权,文档只能用于自身使用,不得用于其他商业用途(如 [转卖]进行直接盈利或[编辑后售卖]进行间接盈利)。
2、本站所有内容均由合作方或网友上传,本站不对文档的完整性、权威性及其观点立场正确性做任何保证或承诺!文档内容仅供研究参考,付费前请自行鉴别。
3、如文档内容存在违规,或者侵犯商业秘密、侵犯著作权等,请点击“违规举报”。

碎片内容

机械控制工程基础期末试卷答案2

确认删除?
VIP
微信客服
  • 扫码咨询
会员Q群
  • 会员专属群点击这里加入QQ群
客服邮箱
回到顶部