电脑桌面
添加小米粒文库到电脑桌面
安装后可以在桌面快捷访问

水泥碎石路拌法施工方案

水泥碎石路拌法施工方案_第1页
1/20
水泥碎石路拌法施工方案_第2页
2/20
水泥碎石路拌法施工方案_第3页
3/20
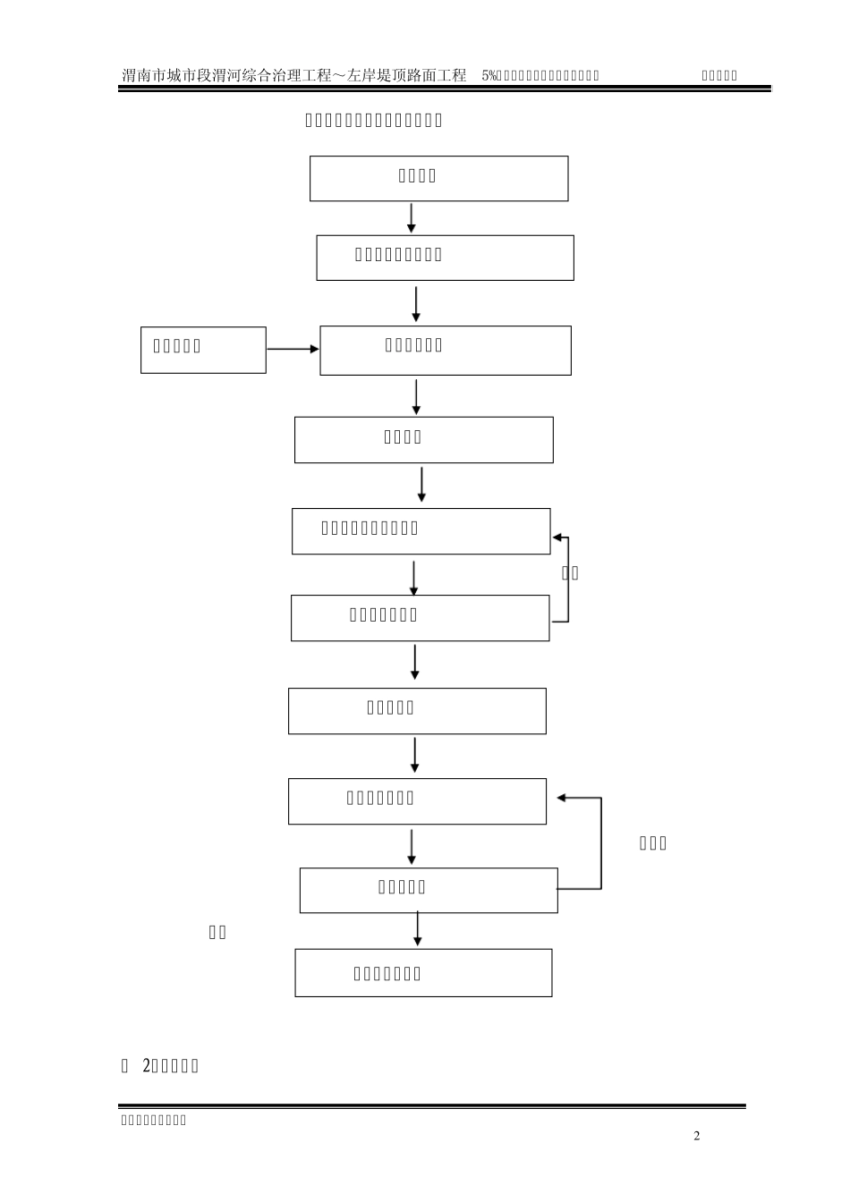
渭南市城市段渭河综合治理工程~左岸堤顶路面工程 5%水泥稳定碎石基层施工技术方案(路拌法) 宁夏水利水电工程局 1 5%水泥稳定碎石基层施工技术方案(路拌法) 一、 工程数量: “陕西省渭南市城市段渭河综合治理工程~左岸堤顶路面工程”,第Ⅻ标段EL101+935.2~ EL106+028.5, 长 4.0933km, 30cm 水泥稳定碎石基层 共约19648 ㎡。 二、 施工工期: 2012 年 11 月 10 日 -2012 年 12 月 10 日。 三、工程质量: 工程质量等级达到交通部JTG/1-2004《公路工程质量检验评定标准》合格,确保优良工程。 四、安全目标: 贯彻落实“安全第一、预防为主”的方针,实现无人员伤亡、无人身上等级工伤事故,无施工机械设备重大及以上责任事故,无或在、爆炸事故,无交通肇事责任事故。 五、施工技术人员及劳动力安排: 1、选择技术水平高、经验丰富、施工责任心强的施工、技术、试验检测人员8 人,项目分为一个施工小组,施工一队现场安排技术人员5 人,1名质检负责人员进行全程质量监控。 2、 选择具有水泥混凝土路面施工经验的工程队组织劳动力30 人保障水泥稳定碎石基层的正常施工。 六(1) :施工工艺流程 渭南市城市段渭河综合治理工程~左岸堤顶路面工程 5%水泥稳定碎石基层施工技术方案(路拌法) 宁夏水利水电工程局 2 水泥稳定碎石基层工艺流程框图 施工准备、培土路肩 合格 路拌机拌合 碾压和边部整形 不合格 合格 ( 2)施工方法 测量放线 摊铺级配碎石 调平整型 原材料检验 洒水闷料至最佳含水量 摆放、摊铺水泥 压实度检测 养护、交通管制 渭南市城市段渭河综合治理工程~左岸堤顶路面工程 5%水泥稳定碎石基层施工技术方案(路拌法) 宁夏水利水电工程局 3 下承层的检查和准备→施工测量放样(边线、中线、高程) 严格原材料试验→级配碎石的运输→含水量检测→摊铺水泥 路拌机拌和→混合料的碾压和边部整形→压实度检测→接缝处理→交通管制 1、下承层的检查和准备 在水稳基层施工前,对下承层进行外观检查。 在进行水稳基层铺筑前视路面干湿情况,如比较干燥用水车雾状喷洒,以工作面湿润没有积水为度。 2、测量放样 试验段施工区域测量放样按每10 米一根桩放出中桩和边桩,复测下承层标高,按标高值和松铺系数(按1.23 预设,松铺系数测定后进行调整)调整标志桩的高程,作为纵横坡基线。 3、材料检验 水稳基层所用的各种碎石原材料应严格符合规范和监理...

1、当您付费下载文档后,您只拥有了使用权限,并不意味着购买了版权,文档只能用于自身使用,不得用于其他商业用途(如 [转卖]进行直接盈利或[编辑后售卖]进行间接盈利)。
2、本站所有内容均由合作方或网友上传,本站不对文档的完整性、权威性及其观点立场正确性做任何保证或承诺!文档内容仅供研究参考,付费前请自行鉴别。
3、如文档内容存在违规,或者侵犯商业秘密、侵犯著作权等,请点击“违规举报”。

碎片内容

水泥碎石路拌法施工方案

您可能关注的文档

确认删除?
VIP
微信客服
  • 扫码咨询
会员Q群
  • 会员专属群点击这里加入QQ群
客服邮箱
回到顶部