电脑桌面
添加小米粒文库到电脑桌面
安装后可以在桌面快捷访问

CE认证模的9种基本模式以及各类医疗器械认证流程图

CE认证模的9种基本模式以及各类医疗器械认证流程图_第1页
1/8
CE认证模的9种基本模式以及各类医疗器械认证流程图_第2页
2/8
CE认证模的9种基本模式以及各类医疗器械认证流程图_第3页
3/8
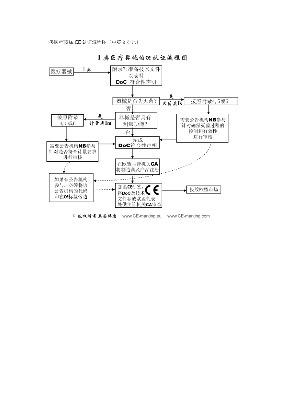
CE 认证的 9 种根本模式对于几乎所有的欧盟产品指令来说,指令通常会给制造商提供出几种 CE 认证的模式(Module),制造商可根据本身的情况量体裁衣,选择最适合自已的模式。一般地说, CE 认证模式可分为以下 9 种根本模式: * Module A: internal production control 模式 A: 内部生产控制 (自我声明) * Module Aa: intervention of a Notified Body 模式 Aa: 内部生产控制 加第 3 方检测 * Module B: EC type-examination 模式 B: EC 型式试验 * Module C: conformity to type 模式 C: 符合型式 * Module D: production quality assurance 模式 D: 生产质量保证 * Module E: product quality assurance 模式 E: 产品质量保证 * Module F: product verification 模式 F: 产品验证 * Module G: unit verification 模式 G: 单元验证 * Module H: full quality assurance 模式 H: 全面质量保证基于以上几种根本模式的不同组合,又可能衍生出其它假设干种不同的模式。一般地说,并非任何一种模式均可适用于所有的产品。换言之,也并非制造商可以随意选取以上任何一种模式来对其产品进行 CE 认证。一类医疗器械 CE 认证流程图〔中英文对比〕IIa 类医疗器械 CE 认证流程图〔中英文对比〕IIb 类医疗器械 CE 认证流程图〔中英文对比〕III 类医疗器械 CE 认证流程图〔中英文对比〕IVD 体外诊断医疗器械 CE 认证流程图AIMD 主动可植入医疗器械 CE 认证流程图

1、当您付费下载文档后,您只拥有了使用权限,并不意味着购买了版权,文档只能用于自身使用,不得用于其他商业用途(如 [转卖]进行直接盈利或[编辑后售卖]进行间接盈利)。
2、本站所有内容均由合作方或网友上传,本站不对文档的完整性、权威性及其观点立场正确性做任何保证或承诺!文档内容仅供研究参考,付费前请自行鉴别。
3、如文档内容存在违规,或者侵犯商业秘密、侵犯著作权等,请点击“违规举报”。

碎片内容

CE认证模的9种基本模式以及各类医疗器械认证流程图

不二商店+ 关注
实名认证
内容提供者

我是你的不二选择

确认删除?
VIP
微信客服
  • 扫码咨询
会员Q群
  • 会员专属群点击这里加入QQ群
客服邮箱
回到顶部