电脑桌面
添加小米粒文库到电脑桌面
安装后可以在桌面快捷访问

工程测量流程图

工程测量流程图_第1页
1/2
工程测量流程图_第2页
2/2
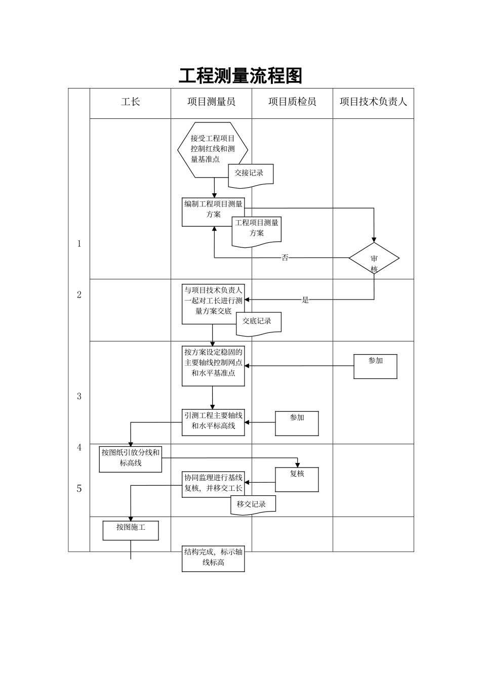
工程测量流程图12345工长项目测量员项目质检员项目技术负责人复核按图纸引放分线和标高线协同监理进行基线复核,并移交工长移交记录按图施工结构完成,标示轴线标高接受工程项目控制红线和测量基准点交接记录编制工程项目测量方案工程项目测量方案审核与项目技术负责人一起对工长进行测量方案交底交底记录按方案设定稳固的主要轴线控制网点和水平基准点引测工程主要轴线和水平标高线参加参加是否结束

1、当您付费下载文档后,您只拥有了使用权限,并不意味着购买了版权,文档只能用于自身使用,不得用于其他商业用途(如 [转卖]进行直接盈利或[编辑后售卖]进行间接盈利)。
2、本站所有内容均由合作方或网友上传,本站不对文档的完整性、权威性及其观点立场正确性做任何保证或承诺!文档内容仅供研究参考,付费前请自行鉴别。
3、如文档内容存在违规,或者侵犯商业秘密、侵犯著作权等,请点击“违规举报”。

碎片内容

工程测量流程图

您可能关注的文档

确认删除?
VIP
微信客服
  • 扫码咨询
会员Q群
  • 会员专属群点击这里加入QQ群
客服邮箱
回到顶部