电脑桌面
添加小米粒文库到电脑桌面
安装后可以在桌面快捷访问

时序电路逻辑功能描述方式

时序电路逻辑功能描述方式_第1页
1/2
时序电路逻辑功能描述方式_第2页
2/2
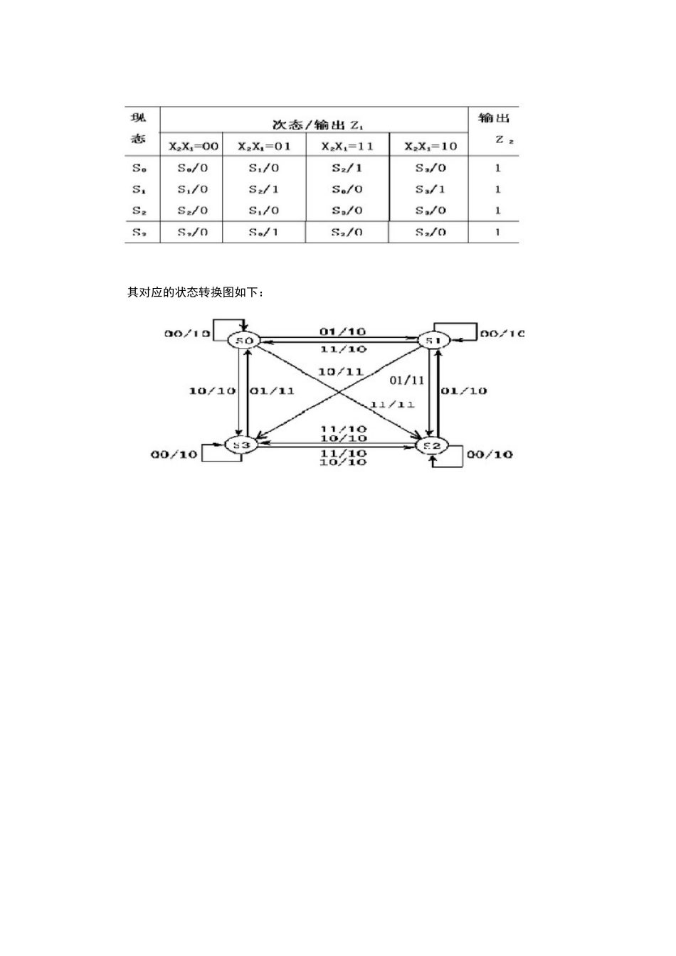
时序电路逻辑功能描述方式要求: 时序电路逻辑功能的描述方式有哪几种你能将其中任何一种描述方式转换成其他各种描述方式吗 1.分别写出几种不描述方式的特点;2.至少写出一种转换描述方式的方法,并且结合具体题目举例说明。3.本题目答案不唯一,请勿抄袭。1、描述时序电路逻辑功能的方法有:状态表、状态图、时序图、状态方程、驱动方程、输出方程、 2、状态表、状态图、时序图的特点:反映时序逻辑电路的输出 Z、次态 Qn+1 和电路的输入 X,现态 Qn 间对应取值 关系的表格称为状态表。 反映时序逻辑电路状态转换规律及相应输入、输出取值关系的图形称为状态图。 时序图即时序电路的工作波形图。 3、在状态图中,圆圈及圈内的字母或数字表示电路的各个状态,连线箭头表示状态转换的方向(由现态到次态)。标在连线一侧的数字表示状态转换前输入信号的取值和输出值。 例如已知状态表,请作出状态转换图。其对应的状态转换图如下:

1、当您付费下载文档后,您只拥有了使用权限,并不意味着购买了版权,文档只能用于自身使用,不得用于其他商业用途(如 [转卖]进行直接盈利或[编辑后售卖]进行间接盈利)。
2、本站所有内容均由合作方或网友上传,本站不对文档的完整性、权威性及其观点立场正确性做任何保证或承诺!文档内容仅供研究参考,付费前请自行鉴别。
3、如文档内容存在违规,或者侵犯商业秘密、侵犯著作权等,请点击“违规举报”。

碎片内容

时序电路逻辑功能描述方式

津创媒+ 关注
实名认证
内容提供者

欢迎交流文创,小店资料希望满足您的需要。

确认删除?
VIP
微信客服
  • 扫码咨询
会员Q群
  • 会员专属群点击这里加入QQ群
客服邮箱
回到顶部