电脑桌面
添加小米粒文库到电脑桌面
安装后可以在桌面快捷访问

一般监督检查流程图

一般监督检查流程图_第1页
1/6
一般监督检查流程图_第2页
2/6
一般监督检查流程图_第3页
3/6
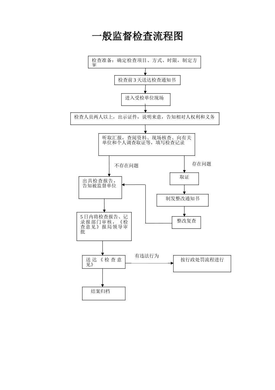
一般监督检查流程图检查准备:确定检查项目、方式、时限,制定方案检查前 3 天送达检查通知书进入受检单位现场检查人员两人以上,出示证件,说明来意,告知相对人权利和义务听取汇报,查阅资料、现场核查、向有关单位和个人调查取证等,填写检查记录出具检查报告,告知被监督单位取证制发整改通知书整改复查5 日内将检查报告、记录报部门审核,《检查意见》报局领导审批送 达 《 检 查 意见》按行政处罚流程进行 结案归档不存在问题存在问题有违法行为 建设工程施工现场安全监督评价流程图承诺期限:当时办结受理建筑工程招投标投诉及对投诉的处理工作流程图法定期限:5 日 承诺期限:5 日市政基础设施工程施工图设计文件审查工作监督管理流程图投诉人投诉受理调查、处理主管主任核查主管局长审批备案企业申请安全监督人员现场评价合格后出具评价单不合格,一次性书面告知,下发整改通知书站长审定(1)基础安全评价。在基础验槽前,施工企业自查、监理复查达标,提前3 日报书面安全评价申请,区安监站现场检查评价,符合要求,1 个工作日内向施工企业、监理单位分别出具安全评价单。市政、装修、安装、单体等工程完成 20%工程量时进行第一次安全评价。(2)达标安全评价。四层及其以上建筑工程主体施工至三层顶,施工企业自查、监理复查达标,提前 3 日报书面安全评价申请,区安监站现场检查评价,符合要求,1 个工作日内向施工企业、监理单位分别出具安全评价单(高层建筑每 10 层,增加一次安全评价)。三层及其以下建筑工程完成主体 50%工程量进行此次安全评价;市政、装修、安装等工程完成 50%工程量时进行此次安全评价。(3)主体安全评价。主体完工、脚手架拆除前,施工企业自查、监理复查达标,提前 3 日报书面安全评价申请,区安监站现场检查评价,符合要求,1 个工作日内向施工企业、监理单位分别出具安全评价单。经安监站检查达标并出具相应的阶段安全评价单后方可进行下道工序施工,安全评价单必须在相应施工阶段及时存入监理资料和施工安全管理资料。监理单位在施工企业未取得相应安全评价单前不得进行下道工序验收,并对未进行定期安全评价或安全评价不达标仍擅自施工的行为负责。一次书面告知全部补正内容不予受理告知投诉人建筑节能材料和产品监督管理流程图提交资料1. 市政施工图审查合格书一份2. 市 政 施 工 图审查报告书一份3. 施工图设计文件审查资料备案登记表一份提交资料受理、审查(1...

1、当您付费下载文档后,您只拥有了使用权限,并不意味着购买了版权,文档只能用于自身使用,不得用于其他商业用途(如 [转卖]进行直接盈利或[编辑后售卖]进行间接盈利)。
2、本站所有内容均由合作方或网友上传,本站不对文档的完整性、权威性及其观点立场正确性做任何保证或承诺!文档内容仅供研究参考,付费前请自行鉴别。
3、如文档内容存在违规,或者侵犯商业秘密、侵犯著作权等,请点击“违规举报”。

碎片内容

一般监督检查流程图

确认删除?
VIP
微信客服
  • 扫码咨询
会员Q群
  • 会员专属群点击这里加入QQ群
客服邮箱
回到顶部