电脑桌面
添加小米粒文库到电脑桌面
安装后可以在桌面快捷访问

手册附录C------企业质量控制系统质量控制图

手册附录C------企业质量控制系统质量控制图_第1页
1/9
手册附录C------企业质量控制系统质量控制图_第2页
2/9
手册附录C------企业质量控制系统质量控制图_第3页
3/9
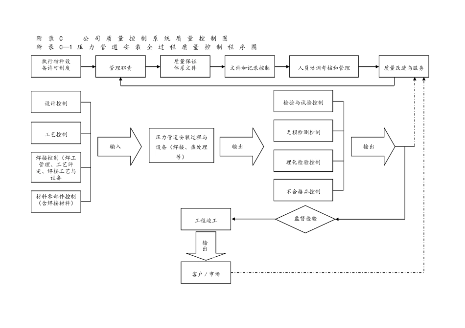
附 录 C 公 司 质 量 控 制 系 统 质 量 控 制 图附 录 C—1 压 力 管 道 安 装 全 过 程 质 量 控 制 程 序 图执行特种设备许可制度管理职责质量保证体系文件文件和记录控制人员培训考核和管理质量改进与服务压力管道安装过程与设备(焊接、热处理等)设计控制工艺控制焊接控制(焊工管理、工艺评定、焊接工艺与设备材料零部件控制(含焊接材料)检验与试验控制无损检测控制理化检验控制不合格品控制输入输出输出监督检验工程竣工客户 / 市场输出附录 C-2 工艺质量控制系统控制程序图附录 C—3 材料、零部件质量控制系统控制程序图附录 C—4 焊接质量控制系统控制程序图附录 C-5 无损检测质量控制系统控制程序图附录 C-6 理化检验质量控制系统控制程序图附录 C-7 热处理质量控制系统控制程序图附录 C-8 检验与试验质量控制系统控制程序图附录 C—9 设备和检验与试验装置控制系统控制程序图审批工程图纸审查工程材料预算编制生产科质量安全科编写施工工艺文件管子、管件、阀门检查图纸修改申请管道加工和预制施工工艺修改工程验收资料存档竣工(交用户)管道安装 管道系统试压管道系统吹扫和清洗管道防腐涂刷管道绝热保温工艺质量控制工艺文件发布实施工艺纪律检查符合不符合材料质保书齐全、外观质量检验检验确认材料质保书缺项、怀疑或标准规定时需复核理化试验、无损探伤及其它相关试验试 验 报 告材料、零部件质量控制编制采购文件合格供方择优选择到货检验(材料待检区)审批不合格合格检验、试验记录(报告)汇总不合格材料隔离处理质保书及代用审批文件进入工程竣工档案材料、设备责任人审批合格材料入库保管领料单签发标记移植、发料进入安装过程材料代用审批高压管件、阀门100% 抽查耐压、严密性试验试验报告一般管件、阀门按比例抽查耐压、严密性试验试验报告焊接质量控制管道焊接焊接工艺评定焊接试样焊前检查焊接过程外观检查总检无损探伤系统耐压试验焊缝返修焊材保温按工艺发放焊材管理焊材采购验收焊材烘烤使用保温桶现场焊接剩余焊条及焊条头回收焊工管理焊工考试建立焊工档案焊接过程中断操作 6 个月重新考核无损检测委托单NDT 记录报告焊接考试技能评定焊接工艺评定试件 RT无损检测记录、报告、底片汇总归档分包方评价分包协议备案工作状况无损检测人员资格四年复审一次设备仪器和工作场地满足检测要求编制 NDT工艺规程检测方案处理返修处理处理材料产工程焊接试...

1、当您付费下载文档后,您只拥有了使用权限,并不意味着购买了版权,文档只能用于自身使用,不得用于其他商业用途(如 [转卖]进行直接盈利或[编辑后售卖]进行间接盈利)。
2、本站所有内容均由合作方或网友上传,本站不对文档的完整性、权威性及其观点立场正确性做任何保证或承诺!文档内容仅供研究参考,付费前请自行鉴别。
3、如文档内容存在违规,或者侵犯商业秘密、侵犯著作权等,请点击“违规举报”。

碎片内容

手册附录C------企业质量控制系统质量控制图

您可能关注的文档

确认删除?
VIP
微信客服
  • 扫码咨询
会员Q群
  • 会员专属群点击这里加入QQ群
客服邮箱
回到顶部