电脑桌面
添加小米粒文库到电脑桌面
安装后可以在桌面快捷访问

施工质量保证措施及应急预案VIP专享

施工质量保证措施及应急预案_第1页
1/13
施工质量保证措施及应急预案_第2页
2/13
施工质量保证措施及应急预案_第3页
3/13
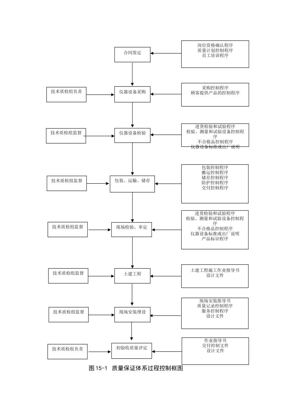
施工质量保证措施1 质量保证体系我所将严格根据 ISO9001 的质量管理和质量保证标准,建立了一整套完善的设计、开发、生产、安装和服务的质量保证体系。根据有关法律规范并结合科研生产单位的实际,制定了一整套详尽有用的质量管理措施并使之法律规范化,包括《技术标准》、《质量手册》、《安装操作规程》、《管理制度》、《岗位职责》等并予以严格执行.(1)质量目标根据本工程特点及招标文件要求,本工程的质量目标为:确保达到优良等级,争创优质工程,为了实现质量总目标,通过对工程及质量管理体系的综合归纳形成一套完整的工程质量体系。(2)质量管理体系① 建立和健全项目质量管理体系(见质量保证体系过程控制框图),并使之保持有效运行。其目的在于使全员、全面、全过程地重视质量,提高质量意识,严把质量关.② 根据标书规定的规程、法律规范,项目部质量安全负责人负责编制项目质量计划,制订质量管理监督实施办法,落实质量职能,明确质量岗位责任,并补充必要的作业指导书,质管人员根据项目质量总目标,负责质量计划执行情况的综合统计、考核,监督质量标准的贯彻执行。③ 建立以质检员、技术员、试验员、测量工为主体的质量信息反馈系统,做好质量记录,及时准确地向经理部、业主和监理工程师汇报状况,全面把握施工过程中的质量保证能力,使生产过程各工序始终处于稳定的受控状态。④ 做好技术准备工作:技术交底深化到具体操作手。严格根据设计要求、工程技术法律规范和业主、监理工程师的指令施工。假如发生质量事故,及时向有关部门迅速查明原因,制订对策,并及时处理以免造成更大的返工.⑤ 完善现场施工建设和管理,确保观测仪器设备埋设安装及自动控制系统的调试数据的准确,充分发挥其质量检验监督的功能。技术质检组监督技术质检组监督土建工程现场安装埋设现场安装指导书质量记录控制程序服务控制程序设计文件初验收质量评定技术质检组监督技术质检组监督技术质检组负责岗位资格确认程序质量计划控制程序员工培训程序采购控制程序顾客提供产品的控制程序进货检验和试验程序检验、测量和试验设备控制程序不合格品控制程序仪器设备标准或出厂说明包装控制程序搬运控制程序储存控制程序防护控制程序交付控制程序技术质检组负责技术质检组监督合同签定仪器设备采购仪器设备检验包装、运输、储存现场检验、率定进货检验和试验程序检验、测量和试验设备控制程序不合格品控制程序仪器设备标准或出厂说明产品标识程序土建工程施...

1、当您付费下载文档后,您只拥有了使用权限,并不意味着购买了版权,文档只能用于自身使用,不得用于其他商业用途(如 [转卖]进行直接盈利或[编辑后售卖]进行间接盈利)。
2、本站所有内容均由合作方或网友上传,本站不对文档的完整性、权威性及其观点立场正确性做任何保证或承诺!文档内容仅供研究参考,付费前请自行鉴别。
3、如文档内容存在违规,或者侵犯商业秘密、侵犯著作权等,请点击“违规举报”。

碎片内容

施工质量保证措施及应急预案

确认删除?
VIP
微信客服
  • 扫码咨询
会员Q群
  • 会员专属群点击这里加入QQ群
客服邮箱
回到顶部