电脑桌面
添加小米粒文库到电脑桌面
安装后可以在桌面快捷访问

2025年全套监理流程图

2025年全套监理流程图_第1页
1/69
2025年全套监理流程图_第2页
2/69
2025年全套监理流程图_第3页
3/69
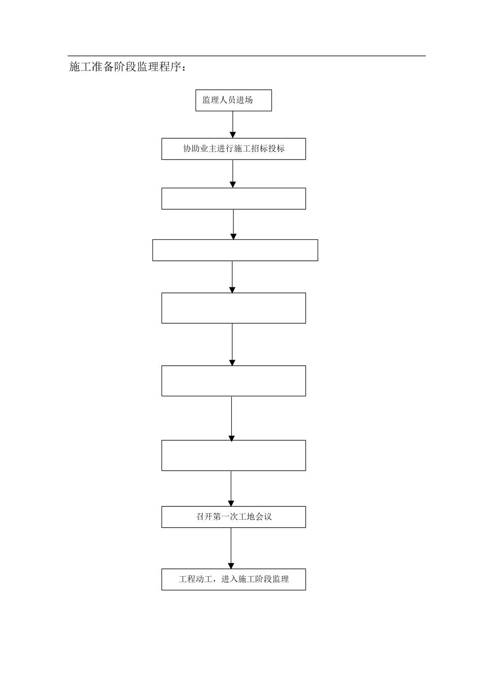
WWWHONG.C施工阶段监理工作总程序:项目监理组进驻现场熟悉图纸有关资料、编制监理实行细监理人 员 名单 通 监理工程师权限告知监理程序告知使用报表告知送施工单位施工现场调查施工组织设计审批图纸会审分包单位资格审查检查施工现 场的安全保 护文明设施分析查明原 因,监督返 修、返工第一次工地会议签发动工指令实行监督与管理 督促施工单位严格按规 范、图纸及工艺原则施 工,按规定及规定报验不合格组织竣工初验合格投 资 控 制质 量 控 制审核工程量审核预算 审核签发工程付款 单、处理索赔上岗人员资格审核 原材料预控 构配件预控 设备预控 分部分项与单位工 程质量预控及验收协助业主组织竣工验收参与质检部 门 核 定质量 等 进 度 控 制审核总进度计划审核年、季、月施 工进度计划 实际进度与计划进 度对比分析、调整签发竣工移交证书,施工阶段监理总结安 全 控 制审查安全技术措施方案检查各项安全生产制度 参与安全生产检查施工准备阶段监理程序:监理人员进场协助业主进行施工招标投标办理建筑、动工、施工许可证办理施工临时用电、临建报批手续办理拆迁、消防、交通、环境保护、绿化、通讯现场复查施工放线、测量原始地面线,现场交桩图纸会审、技术交底、施工组织设计、方案审查召开第一次工地会议工程动工,进入施工阶段监理动工申请核签程序:施工单位申 报总监室转 发签章批复签订 意见提示总监提出 初 审 意 见与业主及各方面协 调会现场监理工程师协调会议纪要签发程序:现 场 监 理 工 程 师 或 总 监 主 持 协 调 会 指 定 有 关 人 员 拟 订 会 议 纪 要 现场监理 工 程师或总 监 审 查 、 核 定 征 求 有 关 方 面 包 括 业 主 意 见 是修改否总 监 签 章 、 行 文 外 发 WWW.龙网图纸会审及技术交底程序:熟悉施工图纸,初审提出问题各专业监理工程师监理组内部会审总监主持整理列出问题清单各专业监理工程师清单问题审核总监理工程师清单问题补充各专业监理工程师清单问题汇总汇总清单问题报业主列出设计要点、施工重点及难点设计院各专业监理工程师召开技术交底会在业主、施工单位、设计单位、监理单位四方图纸会审会上,由设计院交底并 就准备好的问题进行答疑 业主、设计单位、监理单位、施工单位整理设计会审纪要发有关单位施工组织设计(方案)审查程序:施工组织设计申报施工单位初审各专业监理工程...

1、当您付费下载文档后,您只拥有了使用权限,并不意味着购买了版权,文档只能用于自身使用,不得用于其他商业用途(如 [转卖]进行直接盈利或[编辑后售卖]进行间接盈利)。
2、本站所有内容均由合作方或网友上传,本站不对文档的完整性、权威性及其观点立场正确性做任何保证或承诺!文档内容仅供研究参考,付费前请自行鉴别。
3、如文档内容存在违规,或者侵犯商业秘密、侵犯著作权等,请点击“违规举报”。

碎片内容

2025年全套监理流程图

您可能关注的文档

确认删除?
VIP
微信客服
  • 扫码咨询
会员Q群
  • 会员专属群点击这里加入QQ群
客服邮箱
回到顶部