电脑桌面
添加小米粒文库到电脑桌面
安装后可以在桌面快捷访问

物业管理工作流程图(全套)

物业管理工作流程图(全套)_第1页
1/36
物业管理工作流程图(全套)_第2页
2/36
物业管理工作流程图(全套)_第3页
3/36
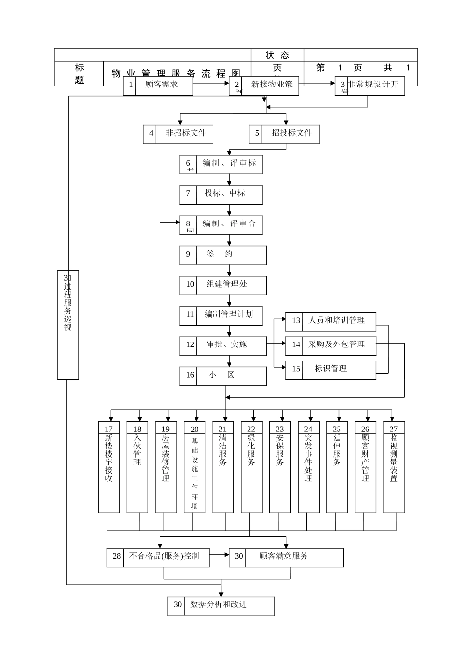
目 录管 理 工 作 流 程 图1 . 文 件 控 制 流 程 图2 . 记 录 控 制 流 程 图3 . 人 员 和 培 训 管 理 流 程 图4 . 采 购 管 理 流 程 图5 . 物 业 服 务 管 理 流 程 图 6 . 顾 客 满 意 管 理 流 程 图7 . 不 合 格 品 ( 服 务 ) 管 理 流 程 图 8 . 业 主 投 诉 处 理 流 程 图 安 保 工 作 流 程 图1 . 安 保 管 理 流 程 图2 . 物 业 管 理 部 工 作 流 程 图3 . 安 保 主 管 工 作 流 程 图4 . 班 长 日 检 查 工 作 流 程 图5 . 样 板 房 安 保 员 岗 位 工 作 流 程 图6 . 侧 门 岗 安 保 员 工 作 流 程 图7 . 巡 楼 安 保 员 操 作 流 程 图8 . 业 主 搬 迁 操 作 流 程 图9 . 外 来 人 员 出 入 管 理 流 程 图10 . 消 防 应 急 方 案 出 来 流 程 图11 . 突 发 事 件 处 理 流 程 图12 . 安 保 工 作 重 大 事 项 处 置 流 程 图13 . 电 梯 困 人 处 理 流 程 图意 外 停 电 处 理 流 程 图 意 外 停 水 处 理 流 程 图 意 外 停 气 处 理 流 程 图14 . 管 理 处 火 灾 处 理 流 程 图15 . 车 库 ( 场 ) 岗 位 工 作 流 程 图16 . 车 库 ( 场 ) 收 缴 费 管 理 流 程 图17 . 车 库 ( 场 ) 异 常 情 况 处 置 流 程 图18 . 车 辆 冲 卡 处 理 流 程 图19 . 可 疑 车 辆 出 场 处 置 流 程 图清 洁 绿 化 工 作 流 程 图1 . 清 洁 管 理 流 程 图2 . 清 洁 不 合 格 处 理 流 程 图3 . 绿 化 管 理 流 程 图4 . 绿 化 不 合 格 处 理 流 程 图 5 . 清 洁 绿 化 主 管 检 查 流 程 图工 程 工 作 管 理 流 程 图1 . 基 础 设 施 和 工 作 环 境 管 理 流 程 图2 . 机 电 设 备 管 理 流 程 图3 . 业 主 报 修 接 待 处 理 流 程 图4 . 消 防 报 警 信 号 处 理 流 程 图5 . 电 梯 故 障 处 理 流 程 图6 . 恒 压 变 频 生 活 供 水 系 统 操 作 流 程 图7 . 低 压 变...

1、当您付费下载文档后,您只拥有了使用权限,并不意味着购买了版权,文档只能用于自身使用,不得用于其他商业用途(如 [转卖]进行直接盈利或[编辑后售卖]进行间接盈利)。
2、本站所有内容均由合作方或网友上传,本站不对文档的完整性、权威性及其观点立场正确性做任何保证或承诺!文档内容仅供研究参考,付费前请自行鉴别。
3、如文档内容存在违规,或者侵犯商业秘密、侵犯著作权等,请点击“违规举报”。

碎片内容

物业管理工作流程图(全套)

您可能关注的文档

确认删除?
VIP
微信客服
  • 扫码咨询
会员Q群
  • 会员专属群点击这里加入QQ群
客服邮箱
回到顶部