电脑桌面
添加小米粒文库到电脑桌面
安装后可以在桌面快捷访问

生产及流程管理制度

生产及流程管理制度_第1页
1/4
生产及流程管理制度_第2页
2/4
生产及流程管理制度_第3页
3/4
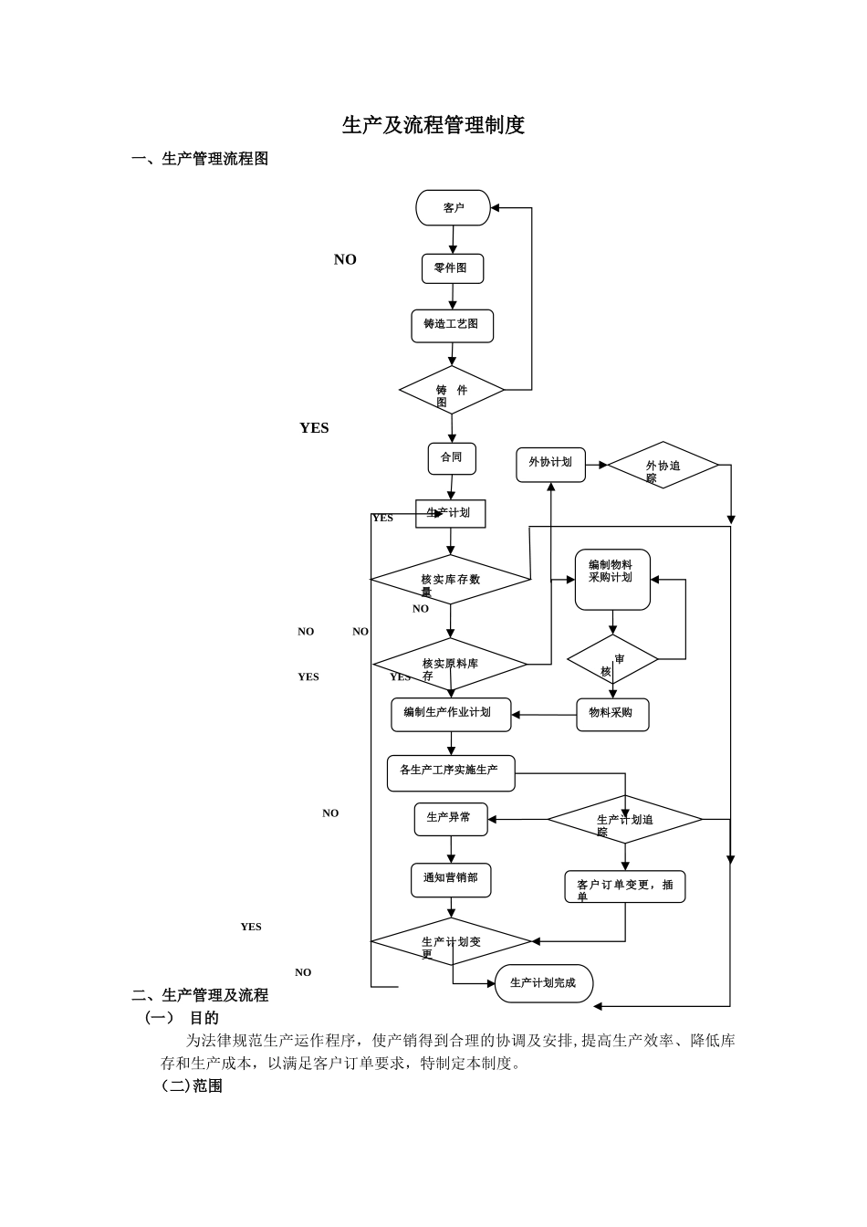
生产及流程管理制度一、生产管理流程图 NO YES YES NO NO NO YES YES NO YES YES NO 二、生产管理及流程 (一) 目的为法律规范生产运作程序,使产销得到合理的协调及安排,提高生产效率、降低库存和生产成本,以满足客户订单要求,特制定本制度。 (二)范围生产计划核实库存数量核实原料库存编制物料采购计划 审核编制生产作业计划物料采购各生产工序实施生产生产计划追踪生产异常客户订单变更,插单通知营销部生产计划变更生产计划完成 客户零件图铸造工艺图铸件图合同外协计划外协追踪适用于本公司生产运作体系。 (三)定义1、产能评估:依据现有的订单情况及现有生产能力,作出排程分析。2、品质评估:依据现有技术资源、设备水平等多方因素,作出品质保障能力分析。3、产能、质保协调:当产能和质保能力不能满足订单要求时,依据延长生产时间、外协加工、增加人员、增加设备等方法提高生产、技术、质保等能力,以满足订单按时、按质、按量交货.(四)相关部门职责1、生产营销部1。1、 负责客户订单的承接、审核。1.2、组织订单评审,负责客户的沟通及交期的协调等工作;1。3、 订单变更事宜的管理.2、制造部2。1、负责《生产计划》、《生产作业计划》、《物料采购计划》、《产品外协计划》的编制及审核。负责产销评估及协调,主持生产协调会的召开,负责生产协调及跟进生产达成情况;制订产品生产周期。负责外协产品的技术、质量检测跟进;2.2、合理组织公司相关部门和资源,执行、完成生产任务,协调生产进度.2.3、负责技术资料的确定或变更。2。4、制度品质保障方案,处理品质异常情况,监控物料及产品品质,保障、提升成品质量。3、综合部3。1、负责《物料采购计划》、《产品外协计划》的报审;3.2、制订物料采购周期,负责《采购订单》、《外协订单》的制定、发出及跟进,协调外购物料、外协品的进度和品质保障;供应商(加工商)的开发与评估、考核。4、财务部 负责物料进出仓作业、提报准确库存信息、合理保管物料;安全库存材料最低库存量的清理和信息填报,物料欠料的补购达成情况跟进.(五)作业程序1、《生产计划》的制定1。1、《生产计划》制定的依据1)市场部所接客户订单,客户样品试制单,公司计划内订单,长线产品库存需要;2)公司计划新品开发任务。1.2、《生产计划》的制定1) 营销部接到客户订货单经总经理批准后,应尽快安排时间组织相关部门进行订单评审。经评审后,若无法满足订单交期或其它需求,则由销售...

1、当您付费下载文档后,您只拥有了使用权限,并不意味着购买了版权,文档只能用于自身使用,不得用于其他商业用途(如 [转卖]进行直接盈利或[编辑后售卖]进行间接盈利)。
2、本站所有内容均由合作方或网友上传,本站不对文档的完整性、权威性及其观点立场正确性做任何保证或承诺!文档内容仅供研究参考,付费前请自行鉴别。
3、如文档内容存在违规,或者侵犯商业秘密、侵犯著作权等,请点击“违规举报”。

碎片内容

生产及流程管理制度

确认删除?
VIP
微信客服
  • 扫码咨询
会员Q群
  • 会员专属群点击这里加入QQ群
客服邮箱
回到顶部