电脑桌面
添加小米粒文库到电脑桌面
安装后可以在桌面快捷访问

电子招投标流程图

电子招投标流程图_第1页
1/7
电子招投标流程图_第2页
2/7
电子招投标流程图_第3页
3/7
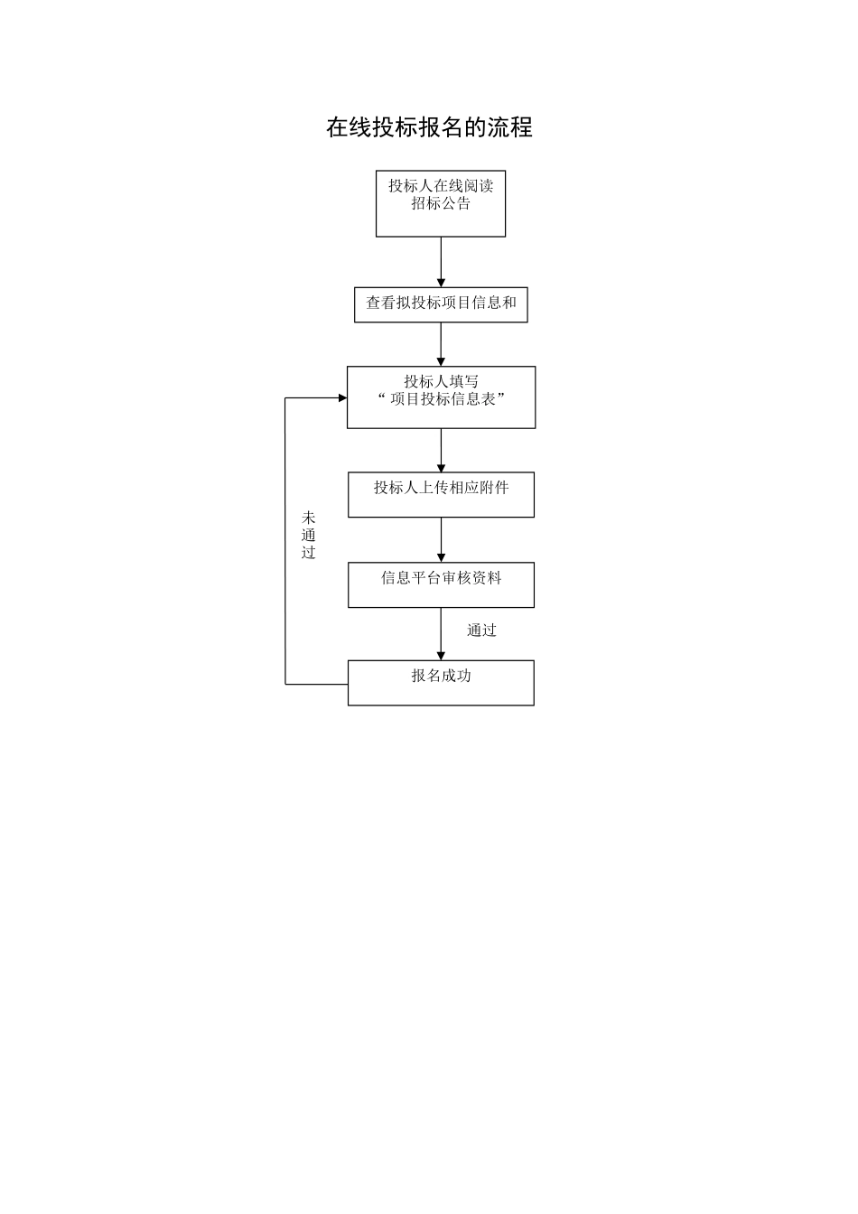
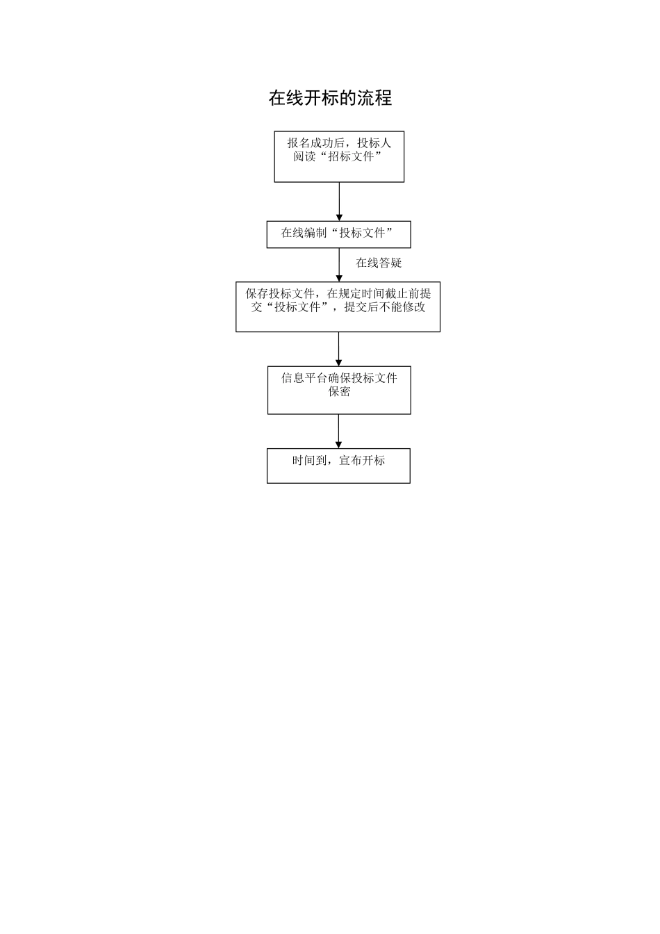
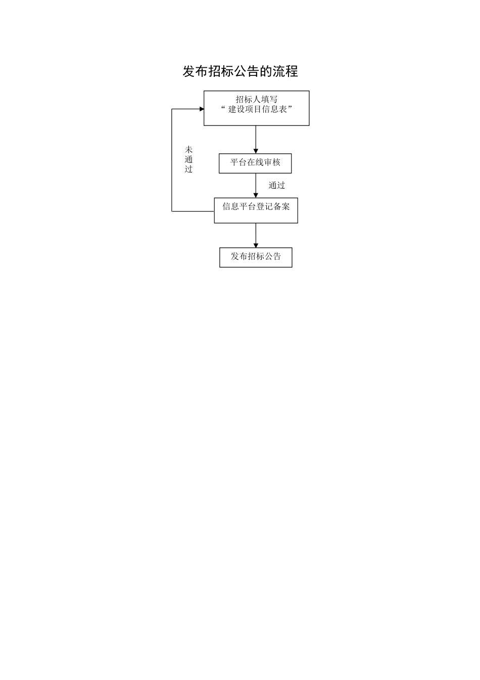
发布招标公告的流程招标人填写“ 建设项目信息表”信息平台登记备案平台在线审核通过未通过发布招标公告在线投标报名的流程投标人填写“ 项目投标信息表”投标人上传相应附件投标人在线阅读招标公告通过未通过查看拟投标项目信息和信息平台审核资料报名成功在线开标的流程保存投标文件,在规定时间截止前提交“投标文件”,提交后不能修改报名成功后,投标人阅读“招标文件”在线答疑在线编制“投标文件”时间到,宣布开标信息平台确保投标文件保密在线评标的流程按“招标文件” 评分要求对“投标文件”进行打分宣布开标后,招标人和专家批阅“投标文件”信息平台整理评标结果确认投标文件是否符合招标要求,否则废标招标人审核评标结果有异议无异议重新投标在线公示的流程信息平台,将确认后的评标结果在线公布信息平台,将评标整理结果发给招标人开标结束招标人确认评标结果及公示等相关信息发布公示,接受监督有异议无异议重新审核在线签订合同的流程信息平台,协助招标人发布中标通知书和签订合同公示结束,确认投标人信息平台,将结果反馈给招标人和中标人合同审核通过后,交易双方签字留存在线抽取专家的流程开标时间截止前一天,信息平台对投标项目信息进行审核信息平台,将专家人数和专业反馈给招标人确定专家人数和专业远程进行评标确定有异议无异议重新选择信息平台,链接省发改委专家抽取系统抽取评标专家,并通知各专家

1、当您付费下载文档后,您只拥有了使用权限,并不意味着购买了版权,文档只能用于自身使用,不得用于其他商业用途(如 [转卖]进行直接盈利或[编辑后售卖]进行间接盈利)。
2、本站所有内容均由合作方或网友上传,本站不对文档的完整性、权威性及其观点立场正确性做任何保证或承诺!文档内容仅供研究参考,付费前请自行鉴别。
3、如文档内容存在违规,或者侵犯商业秘密、侵犯著作权等,请点击“违规举报”。

碎片内容

电子招投标流程图

您可能关注的文档

确认删除?
VIP
微信客服
  • 扫码咨询
会员Q群
  • 会员专属群点击这里加入QQ群
客服邮箱
回到顶部