电脑桌面
添加小米粒文库到电脑桌面
安装后可以在桌面快捷访问

隧洞爆破方案设计

隧洞爆破方案设计_第1页
1/7
隧洞爆破方案设计_第2页
2/7
隧洞爆破方案设计_第3页
3/7
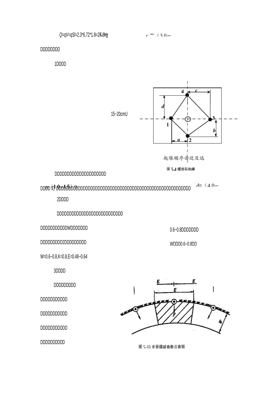
XX 叮叮叮叮叮叮DDDDDDXXDDDDDD280m,DDDDDDDDDDDDDDDD2.4m,DD1.6mDDDD1.2mDC20DDDDDDDDDDDDDDDDDDDDDDDDDDDDDDDDDDf=9DDDDDDDDDDDDDDDDDDDDDDDDDDDDDDDDDDDDDDDDDT40DDDDDDDDDDDDDDDDDDDDDDDDDDDDDDDDDDDDDDDDDDDDDDDDDDDDDDDDDDDDDDDDDDDDDDDDDDDDDDDDDDDDDDDDYT-28DDDDDDDDDDDD 屮 48DDDDDDDDDDDDDDDDDDDDDDD1DDDDDD042mm;2DDDDDD2m,DDDDD90%DDDDDDD=2*0.9=1.8m;3DDDDDNqSN==2.3*6.72/0.7*0.78=29ayDDDqDDDDDDDD=2.3kg/m3DDD5-6sDDDDDDs=6.72m2 口D5—4YDDDDDDDDDDD2DDDDDDDr=0.78kg/mUDaDDDDDDDDDDDDDDDDa=0.7DDD5—3DDDDN=29DDDDDDDDDD29DDDDDDD表 5-3 装药系数 ex 值围岩类别炮眼名称II.IIIIVVVI5-眼trtT表槽KL掏心0.5AJ42 号岩:0_550.60ACAi 每米重量勺0.650.800.55~药卷直径(mm)32353840444550Y(kg/m)Ot780,96L101,251.521.591.90表 5-6 爆破岩石所需的单位耗药量(kg/m3)(2 号岩石镂梯炸药)开挖部位和开挖面积(m2)围岩级别IV~Vin~IVn~IllI一个自由面的水平和倾斜隧道4~67~910-1213-1516-2040-43L5h31.21.21.8h61.51.41.32.32.0L8L7L61.1122 尸 22■■*■■4O1 営 594DDDDDDDDDDa=(1.0〜1.5)Db 二c 二(3.0〜d=(4.0〜0.6~0.8DDDDDDDWDDD0.6~0.8DDQ=qV=qSl=2.3*6.72*1.8=27.8kgDDDDDDDD1DDDDDDDDDDDDDDDDDDDDDDDDDDDDD 叮 DDDDDDDDDDDDDDDDDDDDDDDDDDDDDDDDDDDDDDDDDDDDDDDDDDDDDDD2DDDDDDDDDDDDDDDDDDDDDDDDDDDDDDDDDDDDDDDDDDWDDDDDDDDDDDDDDDD2DDDDDDDDDW=0.6~0.8,K=0.8,E=0.48~0.643DDDDDDDDDDDDDDDDDDDDDDDDDDDDDDDDDDDDDDDDDDDDDDDDDDDDDDDD15~20cmU图 5-4 螺旋形掏槽图 5-10 光面爆破参数示意图ADDDDDDDEDDE=D10~18DdDDDDDDDDDDDDDDDDEDDDDDDDDDEDDDDDDDDDDDDDDDDBDDDDDEDDDDWK 二 E/W,EDDDWDDDDDW=50~80cm,E=0.4~0.64UCDDDDDDDDDDDDDDDDDDDDDDDDDDDm-1DDDDDDDDDDDDDDDDDDDDDDDDDDDDDD0.30~0.35kgDm-1D32~40mmDDE=320~700mmDDDDDDDDDDDDDDDK=0.8DDDDDDDDDD0.15~0.25kg0.03~0.05DDDDDDDDDDDDDDDDDDDDDDDDDDDDDDDDDDDDDD10cmDDDDDD15cmU表 5-7 光面爆破一般参考数值岩石类别炮眼间距(E)(cm)抵抗线(W)(cm)密集系数(K=E/W)装药集中度(kg/m)硬岩中硬岩软岩34555511156705060-8060-8040-600.7-L077①Q0.5-0.80.300.350.200.30(k070.124DDDDDDDD1 2345nn9nnnnn05351Xnnnnnn5DDDDDDDDDDD□□□□□□□□□□□□□□□□□□□□□□□□□□□□□□□□□□□□□□□□□□□a□□□□□□□□□□□□□□□□□□□□□□□□□□□□□9DD□1□□211002.200.152□□□140.560.70422.001.001.800.781.405.623□□□390.560.70422.000.701.800.780.988.855□□□□□4110.600.65422.000.461.800.780.657.106□□550.600.65422.000.901.800.781.266.3272927.88□□□□□□0.727.8DDDDDDDDDDDDDDDDDDDDDDDDDDDDDDDDDDDDDDDDDDDDDDDDDDDDDDDDDDDDDDDDDDDDDDDDDDD90%DDDDDDDD2.0D2.3kg/M3U起爆示意图 炮孔旁数字为起爆顺序,由小至大。DDDDDDDDDDDD1DDDDDDDDDDDDDDDDDDDDDDDDDDDDDD2DDDDDDDDDDDDDDDDDDDDDDDDD2DDDDDDDDDDDDDDDDDDDDDDDDDDDDDDDDDDDDDDDDDDDDDDDDDDDDDDDDDDDD3DDDDDDDDDDDDDDDDDDDDDDDDDDDDDDDDDDDDDDDDDDDD4DDDDDDDDDDDDDDDDDDDDDDDDDDDDDDDDDDDDDDDDDDDDDDDDDDDDDDDDDDDDDDDDDDDDDDDDDDDDDDDDD

1、当您付费下载文档后,您只拥有了使用权限,并不意味着购买了版权,文档只能用于自身使用,不得用于其他商业用途(如 [转卖]进行直接盈利或[编辑后售卖]进行间接盈利)。
2、本站所有内容均由合作方或网友上传,本站不对文档的完整性、权威性及其观点立场正确性做任何保证或承诺!文档内容仅供研究参考,付费前请自行鉴别。
3、如文档内容存在违规,或者侵犯商业秘密、侵犯著作权等,请点击“违规举报”。

碎片内容

隧洞爆破方案设计

确认删除?
VIP
微信客服
  • 扫码咨询
会员Q群
  • 会员专属群点击这里加入QQ群
客服邮箱
回到顶部