电脑桌面
添加小米粒文库到电脑桌面
安装后可以在桌面快捷访问

安全生产保证体系和组织机构

安全生产保证体系和组织机构_第1页
1/15
安全生产保证体系和组织机构_第2页
2/15
安全生产保证体系和组织机构_第3页
3/15
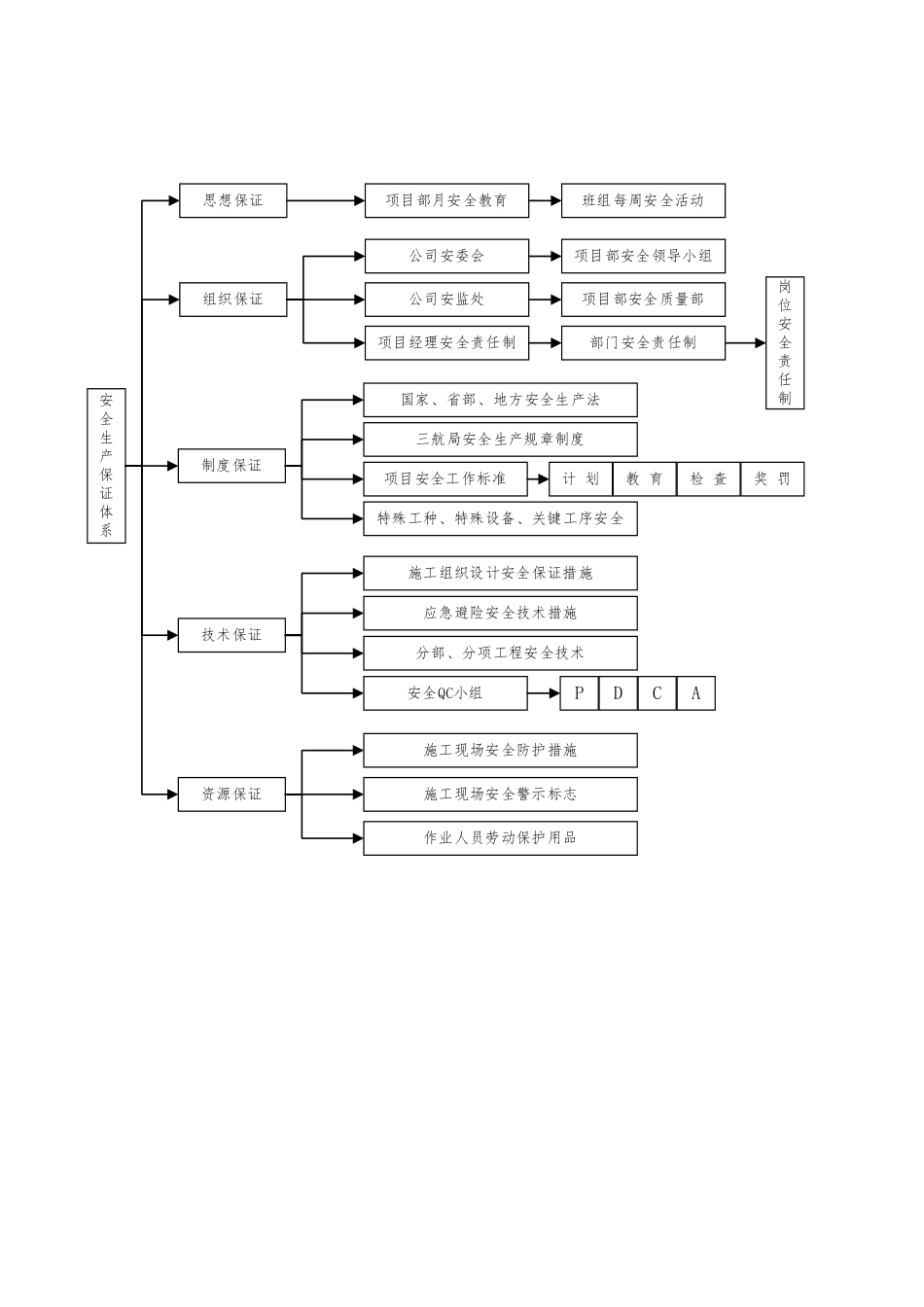
空 港 经 济 开 发 区 慧 城 大 路 绿 化 景 观( 金 港 大 街 - 九 台 南 站 段 ) 工 程 公园 与 道 路 施 工 一 标 段安 全 保 证 体 系安 全 组 织 机 构二〇一八年四月1 安全目标杜 绝 一 般 ( 与 以 上 ) 施 工 安 全 事 故 ; 杜 绝 一 般 ( 与 以 上 ) 道 路 交通 责 任 事 故 ; 杜 绝 较 大 ( 与 以 上 ) 火 灾 事 故 ; 控 制 和 减 少 责 任 事 故 ,确 保 人 民 生 命 财 产 不 受 损 害 。安 全 生 产 管 理 目 标安 全 生 产 管 理 项 目目 标完 成 情 况死 亡 事 故0重 伤 事 故0年 轻 伤 事 故 频 率 控 制﹤5‰重 大 道 路 交 通 责 任 事 故0职 业 病0安 全 生 产 管 理 人 员持 证 上 岗 率100%特 别 工 种 持 证 率100%重 要 危 险 源 控 制 合 格 率100%2 安全保证体系与职能分配。安 全 生 产 领 导 小 组 :组 长 : 黄 毅 ( 项 目 经 理 )副 组 长 : 时 培 萍 ( 施 工 员 ) 、 波 ( 技 术 负 责 人 ) 、 臧 宇 ( 安 全 员 )组 员 : 孔 德 军 、 黄 鹤 、 胡 连 杰 、 郭 春 生安 全 保 证 体 系 框 图安全生产保证体系思想保证组织保证制度保证技术保证资源保证项目部月安全教育公司安委会公司安监处项目经理安全责任制班组每周安全活动项目部安全领导小组项目部安全质量部部门安全责任制国家、省部、地方安全生产法三航局安全生产规章制度项目安全工作标准特殊工种、特殊设备、关键工序安全施工组织设计安全保证措施安全QC小组应急避险安全技术措施分部、分项工程安全技术施工现场安全防护措施施工现场安全警示标志作业人员劳动保护用品P计 划DCA教 育检 查奖 罚岗位安全责任制3 安全保证措施3.1安 全 管 理 方 针坚 持 “ 安 全 第 一 , 预 防 为 主 、 综 合 治 理 ” 的 方 针 , 遵 守 《 安 全 生产 法 》 、 《 安 全 生 产 许 可 证 条 例 》 和 其 他 有 关 安 全 生 产 的 法 律 、 法 规 。贯 彻 落 实 安 全 生 产 责 任 制 、 加 强 安 全 生 产 的 管 理 , 严 格 执 行 规 章 制 度 、持 续 不 断 完 ...

1、当您付费下载文档后,您只拥有了使用权限,并不意味着购买了版权,文档只能用于自身使用,不得用于其他商业用途(如 [转卖]进行直接盈利或[编辑后售卖]进行间接盈利)。
2、本站所有内容均由合作方或网友上传,本站不对文档的完整性、权威性及其观点立场正确性做任何保证或承诺!文档内容仅供研究参考,付费前请自行鉴别。
3、如文档内容存在违规,或者侵犯商业秘密、侵犯著作权等,请点击“违规举报”。

碎片内容

安全生产保证体系和组织机构

确认删除?
VIP
微信客服
  • 扫码咨询
会员Q群
  • 会员专属群点击这里加入QQ群
客服邮箱
回到顶部