电脑桌面
添加小米粒文库到电脑桌面
安装后可以在桌面快捷访问

什么是卫生监督协管?测试题VIP免费

什么是卫生监督协管?测试题_第1页
1/3
什么是卫生监督协管?测试题_第2页
2/3
什么是卫生监督协管?测试题_第3页
3/3
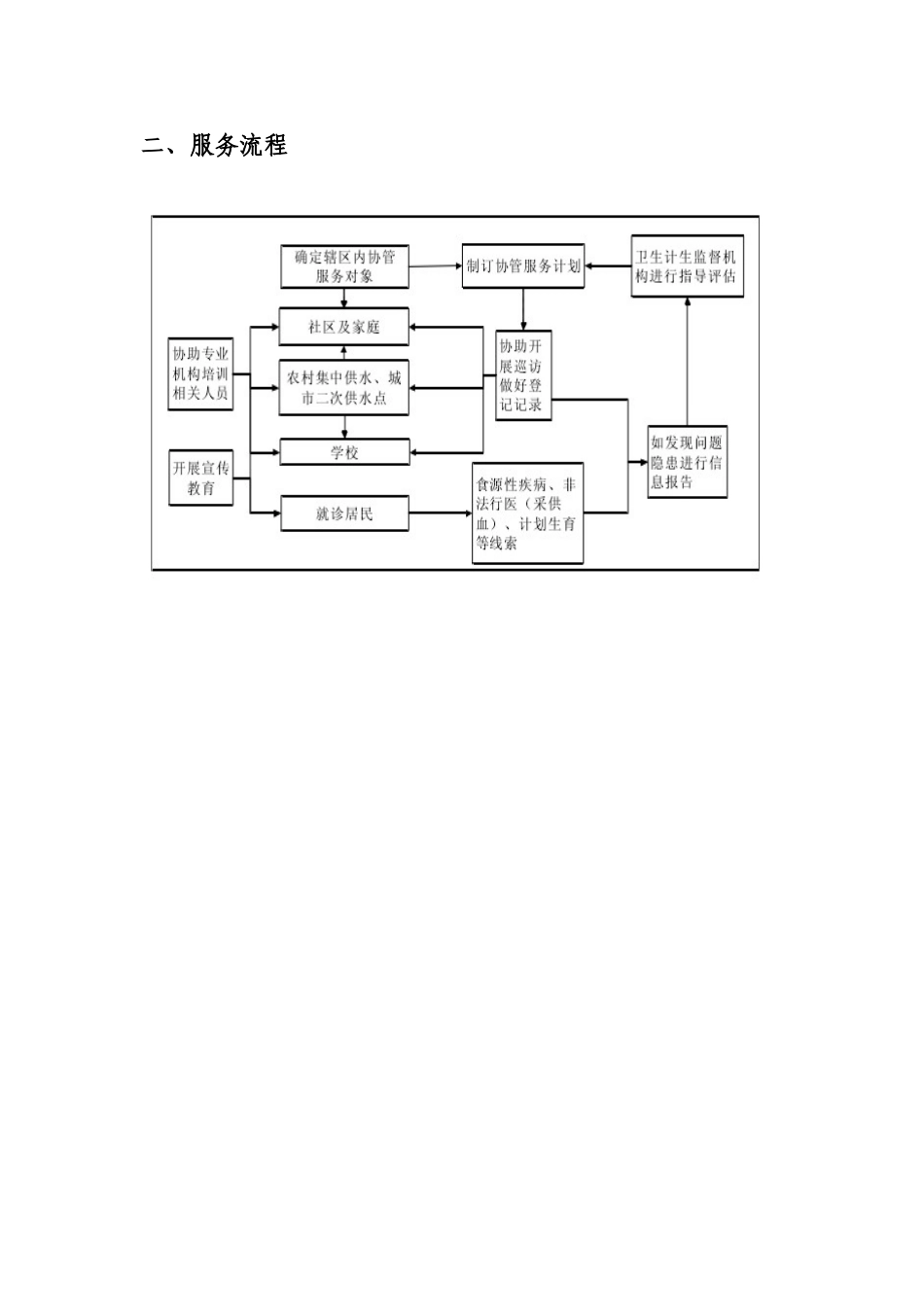
1.什么是卫生监督协管?卫生计生监督协管服务是广大城乡居民充分享有卫生计生监督服务的有力保障,其功能主要是协助基层卫生计生监督执法机构对被监督单位开展监督巡查、报告等工作,及时发现公共卫生安全隐患和问题,做到“早发现、早报告、早消除”,以便有效保障辖区居民的健康权益。2.服务内容及流程根据《国家基本公共卫生服务规范(第三版)》(国卫基层发〔2017〕13号)中卫生计生监督协管服务规范的要求,卫生计生监督协管服务主要包括食源性疾病及相关信息报告、公共场所卫生巡查、禁止吸烟场所控烟巡查、饮用水卫生安全巡查、学校卫生服务、非法行医和非法采供血信息报告、计划生育相关信息报告七部分。一、服务内容(一)食源性疾病及相关信息报告发现或怀疑有食源性疾病、食品污染等对人体健康造成危害或可能造成危害的线索和事件,及时报告区疾病预防控制机构。(二)公共场所卫生巡查协助卫生计生监督执法机构对公共场所进行巡查,掌握公共场所基本情况,发现问题及时报告;协助对公共场所从业人员开展业务培训。(三)禁止吸烟场所控烟巡查协助卫生计生监督执法机构对禁止吸烟场所进行巡查,掌握禁止吸烟场所落实控烟工作的情况,发现问题及时报告;协助对禁止吸烟场所从业人员开展培训。(四)饮用水卫生安全巡查协助卫生计生监督执法机构对农村集中式供水、城市二次供水和学校供水进行巡查,发现异常情况及时报告;协助有关专业机构对供水单位从业人员开展业务培训。有条件的地区,可协助开展饮用水水质抽检服务。(五)学校卫生服务协助卫生计生监督执法机构定期对学校传染病防控开展巡访,发现问题隐患及时报告。协助有关专业机构对校医(保健教师)开展业务培训。(六)非法行医和非法采供血信息报告协助定期对辖区内非法行医、非法采供血开展巡访,发现相关信息及时向卫生计生监督执法机构报告。(七)计划生育相关信息报告协助卫生计生监督执法机构定期对辖区内计划生育机构开展的计划生育工作进行巡查,协助对辖区内非医学需要的胎儿性别鉴定和非医学需要的选择性别的人工终止妊娠等计划生育相关活动开展巡访,发现相关信息及时报告。二、服务流程

1、当您付费下载文档后,您只拥有了使用权限,并不意味着购买了版权,文档只能用于自身使用,不得用于其他商业用途(如 [转卖]进行直接盈利或[编辑后售卖]进行间接盈利)。
2、本站所有内容均由合作方或网友上传,本站不对文档的完整性、权威性及其观点立场正确性做任何保证或承诺!文档内容仅供研究参考,付费前请自行鉴别。
3、如文档内容存在违规,或者侵犯商业秘密、侵犯著作权等,请点击“违规举报”。

碎片内容

什么是卫生监督协管?测试题

确认删除?
VIP
微信客服
  • 扫码咨询
会员Q群
  • 会员专属群点击这里加入QQ群
客服邮箱
回到顶部