电脑桌面
添加小米粒文库到电脑桌面
安装后可以在桌面快捷访问

2025年公路监理工作流程图全套VIP专享

2025年公路监理工作流程图全套_第1页
1/23
2025年公路监理工作流程图全套_第2页
2/23
2025年公路监理工作流程图全套_第3页
3/23
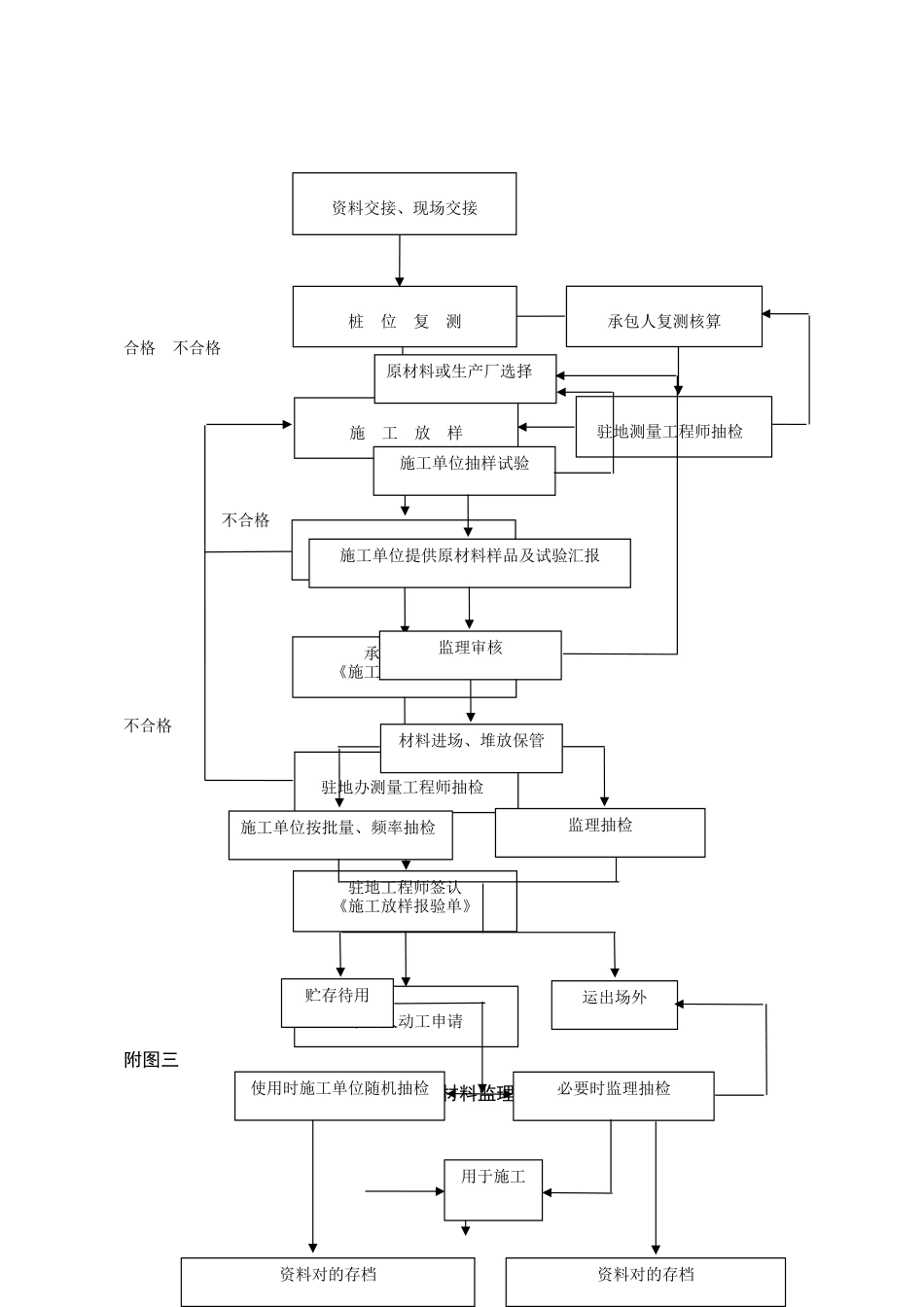
监理工作流程图附图一(一)总监理程序框图施工准备阶段监理施工阶段否监理是否附图二(二)施工测量监理程序 总动工令审批承包人施工进度计划审批承包人质量保证体系审查材料、设备现场状况分项工程动工汇报监理审查分项工程动工批复巡视、旁站工序清验单监理抽检补充、修改工地指示监理告知单工程施工工序验收单修改、返工工程计量计价单监理审核拨款告知修改补充合格 不合格不合格不合格附图三(三)自采材料监理程序框图资料交接、现场交接桩 位 复 测施 工 放 样承包人自检 承包人填报《施工放样报验单》驻地办测量工程师抽检 驻地工程师签认《施工放样报验单》承包人动工申请承包人复测核算驻地测量工程师抽检 原材料或生产厂选择施工单位抽样试验施工单位提供原材料样品及试验汇报监理审核材料进场、堆放保管施工单位按批量、频率抽检监理抽检贮存待用运出场外使用时施工单位随机抽检必要时监理抽检用于施工资料对的存档资料对的存档不合格 不 合格合 合格合格 不合格不合格合格 合格附图四(四)外购材料监理程序框图否施工单位提供产品合格证及试验汇报监理审核购置验收进场施工单位按频率抽检必要时监理抽检分类贮存保管使用退货施工单位使用前复核性抽检必要时监理抽检用于施工运出场外资料对的存档资料对的存档承认合格不合格合格 不合格附图五(五)外委试验监理程序框图否施工单位提供外委试验室资质监 理 审 核施工单位按频率抽检监 理 抽 检用于施工运出场外资料对的存档资料对的存档承认合格 不合格附图六(六)见证试验监理程序框图否承认施工单位选定有资质试验室监 理 审 核施工单位按频率抽检见证人取样资料对的存档施工单位返工合格不合格附图七(七)施工阶段费用控制工作流程监理计量支付体系工程量清单核算工程细目划分工程量清单分解组织地面线测量 费用控制准备工作 颁发计量支付许可证附图八 (八)分项工程动工汇报审批监理程序框图施工程序 监理程序 原始资料归档程序不承认承认不承认承认不承认承认不承认承认交工结帐周计量月度汇总中期支付施工放样监理核查施工放样资料二份原材料试验资料及材料准备监理核查或抽检原材料试验及材料准备资料二份施工场地布设状况(含草图)监理核查施工场地布设状况资料二份(含草图)原则试验资料监理审核或抽验原则试验资料二份人员、机具准备状况监理核查人员、机具准备状况资料二份技术交底及质量指标资料(含施工程序及方案)监理审核技术交...

1、当您付费下载文档后,您只拥有了使用权限,并不意味着购买了版权,文档只能用于自身使用,不得用于其他商业用途(如 [转卖]进行直接盈利或[编辑后售卖]进行间接盈利)。
2、本站所有内容均由合作方或网友上传,本站不对文档的完整性、权威性及其观点立场正确性做任何保证或承诺!文档内容仅供研究参考,付费前请自行鉴别。
3、如文档内容存在违规,或者侵犯商业秘密、侵犯著作权等,请点击“违规举报”。

碎片内容

2025年公路监理工作流程图全套

您可能关注的文档

山水人家+ 关注
实名认证
内容提供者

读万卷书,行万里路。

确认删除?
VIP
微信客服
  • 扫码咨询
会员Q群
  • 会员专属群点击这里加入QQ群
客服邮箱
回到顶部