电脑桌面
添加小米粒文库到电脑桌面
安装后可以在桌面快捷访问

外部招聘流程图VIP免费

外部招聘流程图_第1页
1/2
外部招聘流程图_第2页
2/2
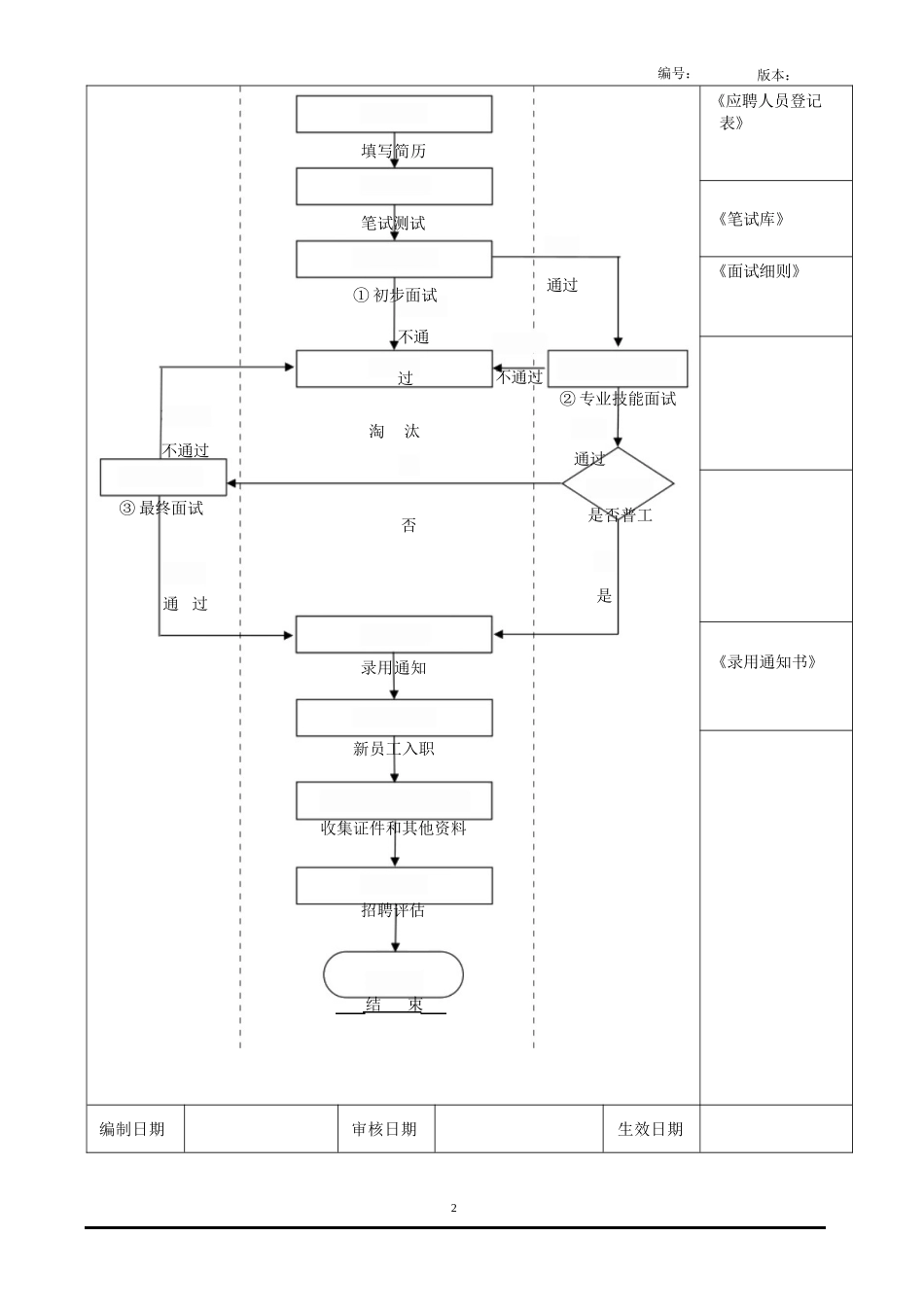
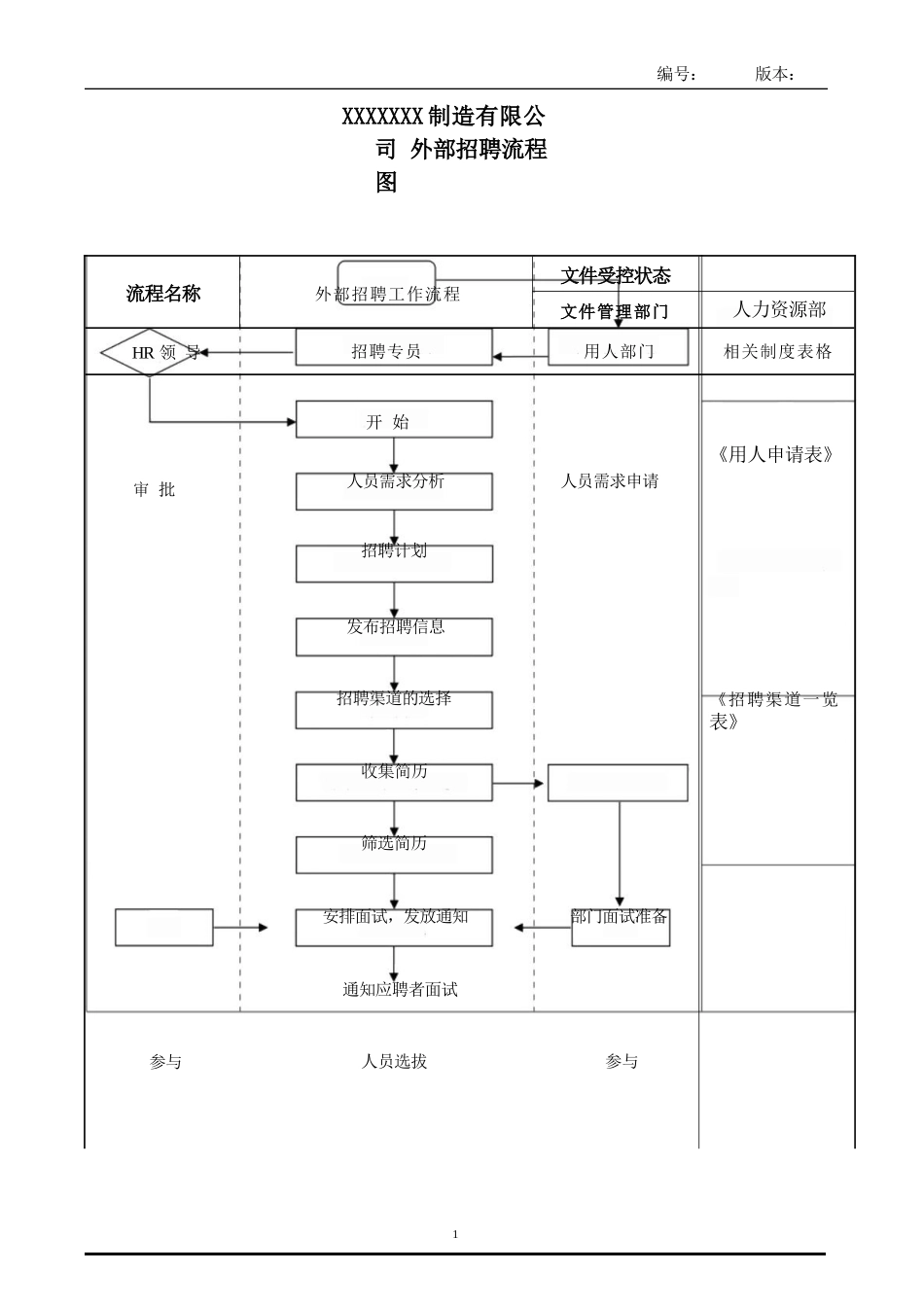
编号:版本:XXXXXXX制造有限公司外部招聘流程图流程名称外部招聘工作流程文件受控状态文件管理部门人力资源部HR领导招聘专员用人部门相关制度表格开始《用人申请表》审批人员需求分析招聘计划人员需求申请发布招聘信息招聘渠道的选择《招聘渠道一览表》收集简历筛选简历安排面试,发放通知部门面试准备通知应聘者面试参与人员选拔参与1编号:版本:填写简历《应聘人员登记表》不通过③最终面试通过笔试测试①初步面试不通过淘汰否通过不通过②专业技能面试通过是否普工《笔试库》《面试细则》是录用通知新员工入职收集证件和其他资料招聘评估结束《录用通知书》编制日期审核日期生效日期2

1、当您付费下载文档后,您只拥有了使用权限,并不意味着购买了版权,文档只能用于自身使用,不得用于其他商业用途(如 [转卖]进行直接盈利或[编辑后售卖]进行间接盈利)。
2、本站所有内容均由合作方或网友上传,本站不对文档的完整性、权威性及其观点立场正确性做任何保证或承诺!文档内容仅供研究参考,付费前请自行鉴别。
3、如文档内容存在违规,或者侵犯商业秘密、侵犯著作权等,请点击“违规举报”。

碎片内容

外部招聘流程图

您可能关注的文档

确认删除?
VIP
微信客服
  • 扫码咨询
会员Q群
  • 会员专属群点击这里加入QQ群
客服邮箱
回到顶部