电脑桌面
添加小米粒文库到电脑桌面
安装后可以在桌面快捷访问

一个简单的英语词典排版系统设计论文学位论文

一个简单的英语词典排版系统设计论文学位论文_第1页
1/12
一个简单的英语词典排版系统设计论文学位论文_第2页
2/12
一个简单的英语词典排版系统设计论文学位论文_第3页
3/12
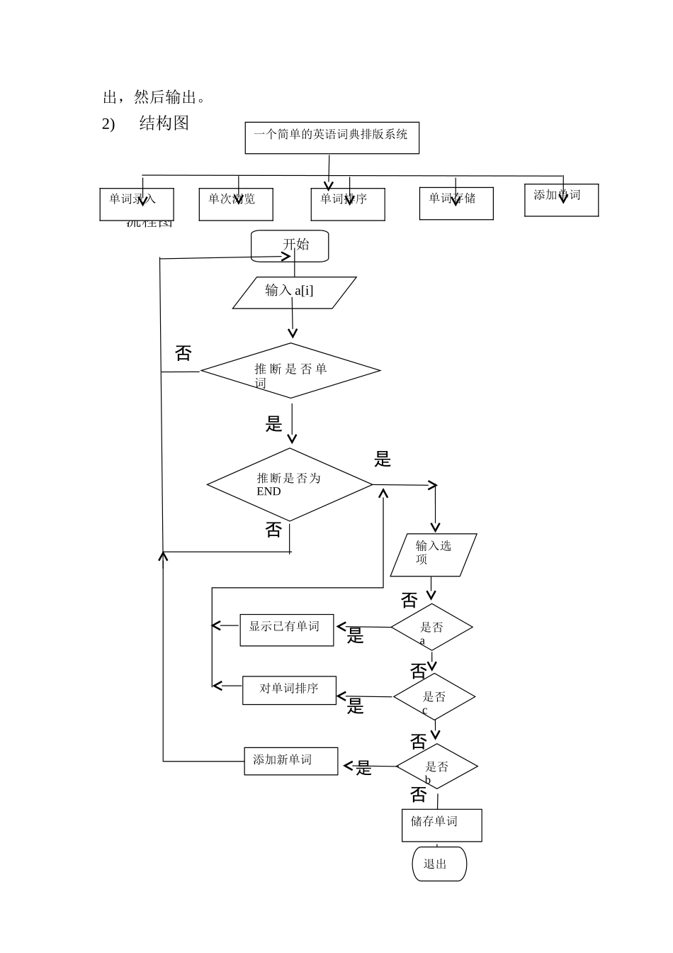
C 语言课程设计实习报告 姓 名: 学号: 院(系): 专业:班级序号: 题目类型: □ 编程实现 □ 代码修改 R 代码分析2025 年 6 月一.题目描述一种简单份的英文词典排版系统要求: (1)能输入和显示打入的词。 (2)能分辨出单词。 (3)对重复的单词和已输入的单词能自动排除。 (4)能按 A----Z 排序排版。 (5)能将运行结果以文本形式存储。 (6)具有添加新单词并重新排版的能力。 分析: 运行结果以文本形式存储,因而要提供文件份额输入输出操作; 通过查找操作检查重复单词;提供排序操作实现按 A---Z 的顺序排版;提供插入操作添加新单词并重新排版。另外通过键盘式菜单实现功能选择。 数据结构采纳指针数组或二维数组。以回车键或者空格键作为单词输入结束标志对重复的单词自动排除排除可选第一章的查找方法,数据结构可采纳指针和数组。 二.算法设计 1 总体设计整个系统被设计为单词录入模块,文件存储模块和单词浏览三个模块。I.单词录入模块要完成输入单词,检查是否重复,排序操作。 II.文件存储模块把存放单词的词组中的数据写入文件。III.单词浏览模块完成英文词典的输出,即文件的输出操作。2 详细设计1) 根据上面的整体思路,分别设计各个模块。 I.单词录入模块要完成输入单词,检查是否重复,排序操作。是设计程序的核心部分,对于检查是否重复,以及排序两个主要方面,我在设计中采纳了两个结构体。 输入一个单词,存放在一个临时字符数组中,以空格或回车表示单词的结束(这也是默认操作),然后换行输出刚刚输入的单词。采纳插入排序算法的思想把该单词插入单词数组中,不同的是假如两个单词相同则不插入。 II.文件存储模块把存放单词的词组中的数据写入文件,这个模块还需具有添加新单词的功能。采纳 fwrite 或 fprintf 把单词数组输入到文件中。 III.单词浏览模块完成英文词典的输出,即文件的输出操作。将文件储存模块的内容输出。采纳 fread 或 fscanf 把单词从文件中读出,然后输出。2) 结构图 流程图 否 是 是 否 否 是 否 是 否 是 否 一个简单的英语词典排版系统单词录入单次浏览单词排序单词存储添加单词 开始输入 a[i]推 断 是 否 单词推断是否为END输入选项是否a是否c是否b储存单词退出显示已有单词 对单词排序添加新单词三.程序设计及代码分析#include "stdio.h"#include "stdlib.h" //为 exit()函数提供原型#include "string.h" ...

1、当您付费下载文档后,您只拥有了使用权限,并不意味着购买了版权,文档只能用于自身使用,不得用于其他商业用途(如 [转卖]进行直接盈利或[编辑后售卖]进行间接盈利)。
2、本站所有内容均由合作方或网友上传,本站不对文档的完整性、权威性及其观点立场正确性做任何保证或承诺!文档内容仅供研究参考,付费前请自行鉴别。
3、如文档内容存在违规,或者侵犯商业秘密、侵犯著作权等,请点击“违规举报”。

碎片内容

一个简单的英语词典排版系统设计论文学位论文

您可能关注的文档

确认删除?
VIP
微信客服
  • 扫码咨询
会员Q群
  • 会员专属群点击这里加入QQ群
客服邮箱
回到顶部