电脑桌面
添加小米粒文库到电脑桌面
安装后可以在桌面快捷访问

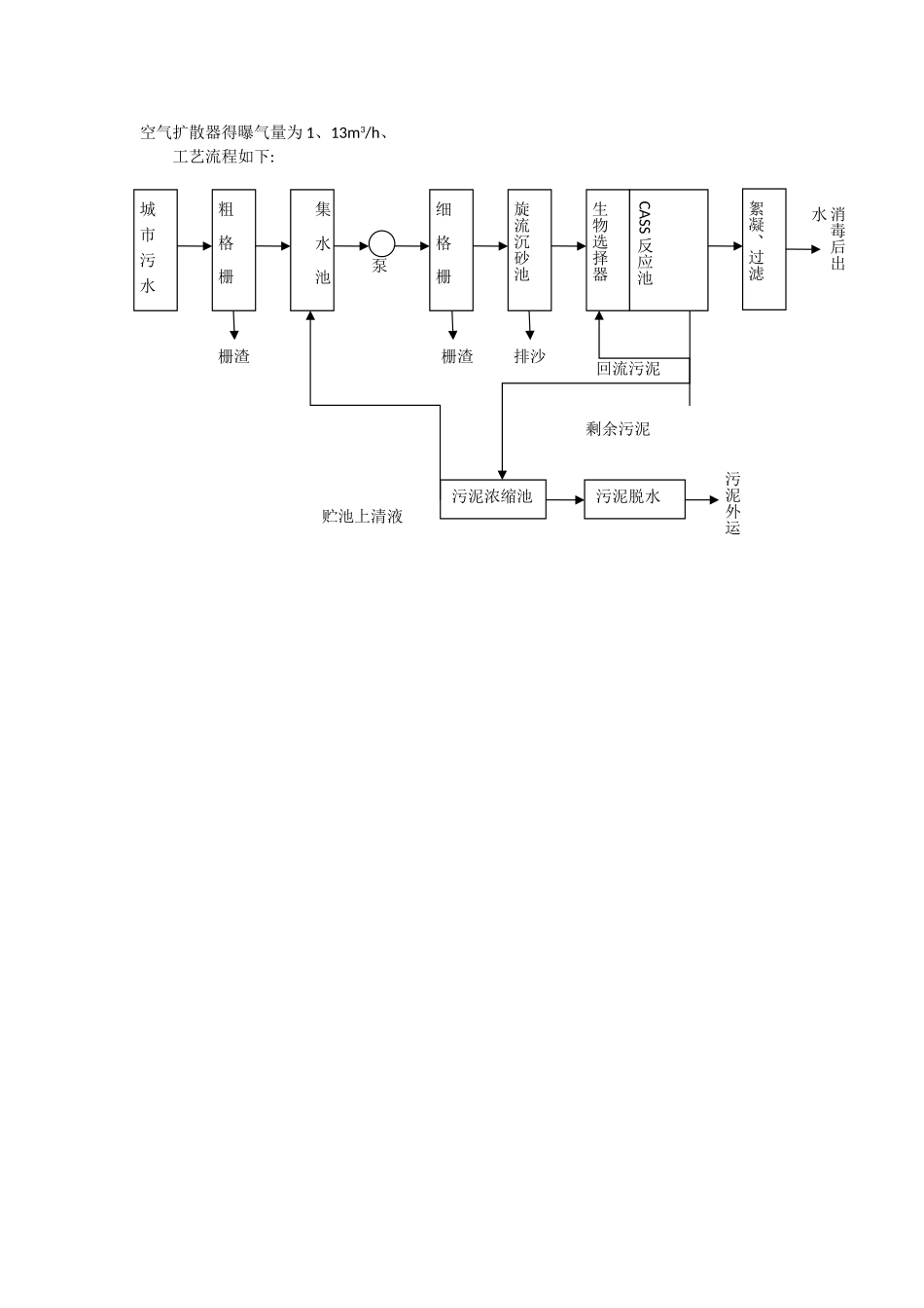
5万立方米每天。CASS工艺污水处理厂设计

5万立方米每天。CASS工艺污水处理厂设计_第1页
1/18
5万立方米每天。CASS工艺污水处理厂设计_第2页
2/18
5万立方米每天。CASS工艺污水处理厂设计_第3页
3/18
沈阳化工大学本 科 课 程 设 计题 目: 某城市污水处理厂 工程工艺设计 院 系: 环境与安全工程学院 专 业: 水质科学与技术 班 级: 1301 学生姓名: 朱立恒 指导老师: 金飙 论文提交日期: 年 月 日目录绪论..................................................................................................................................................3第一章 设计任务概述 .............................................................................................................. 3 1 、 1 设计任务 ................................................................................................................. 3 2 、 2 设计资料 .............................................................................................................. 3 第二章 污水处理厂工艺选择 .................................................................................................. 3 2 、 1 处理工芝设计原则 .......................................................................................... 3 2 、 3 污泥处理、处置工艺 .............................................................................................. 6 2 、 4 净化污水消毒方式 .................................................................................................. 7 第三章 CASS 工艺流程 ............................................................................................................. 8 3 、 1 CASS 工艺流程 ...................................................................................................... 8 3 、 2 CASS 工艺设计概要 .............................................................................................. 9 第四章 污水处理厂设计计算 ................................................................................................ 10 4 、 1 设计参数 ............................................................................................................ 10 4 、 2 构筑物设计计算 .................

1、当您付费下载文档后,您只拥有了使用权限,并不意味着购买了版权,文档只能用于自身使用,不得用于其他商业用途(如 [转卖]进行直接盈利或[编辑后售卖]进行间接盈利)。
2、本站所有内容均由合作方或网友上传,本站不对文档的完整性、权威性及其观点立场正确性做任何保证或承诺!文档内容仅供研究参考,付费前请自行鉴别。
3、如文档内容存在违规,或者侵犯商业秘密、侵犯著作权等,请点击“违规举报”。

碎片内容

5万立方米每天。CASS工艺污水处理厂设计

确认删除?
VIP
微信客服
  • 扫码咨询
会员Q群
  • 会员专属群点击这里加入QQ群
客服邮箱
回到顶部