电脑桌面
添加小米粒文库到电脑桌面
安装后可以在桌面快捷访问

工程项目主要承发包模式

工程项目主要承发包模式_第1页
1/4
工程项目主要承发包模式_第2页
2/4
工程项目主要承发包模式_第3页
3/4
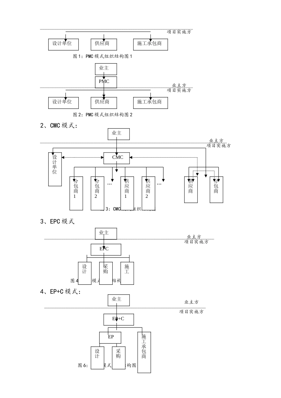
工程项目几种管理模式比较一、工程项目主要承发包模式1、PMC(项目管理承包)模式——工程建设项目管理承包业主将建设工程项目管理任务委托给一家工程项目管理咨询公司,即“代建制”。或业主和工程管理咨询公司组成一体化联合组织共同管理工程建设项目。2、CMC(施工管理承包)模式——施工项目管理承包 业主委托一家承包商来负责与设计协调,并管理施工。要求在设计尚为结束之前,当工程某些部分的施工图设计已经完成,即先进行该部分施工招标,从而使这部分施工提前到项目尚处于设计阶段即开始。3、EPC(设计采购施工总承包)模式——工程总承包业主将设计、采购、施工等一系列工作发包给一家承建商,作为总承包单位最后向业主交付一个符合动用条件的工程项目。4、EP+C(设计采购+施工总承包)模 式——设计施工联合体进行工程总承包业主将设计采购和施工等一系列工作发包给由一家设计单位和一家施工单位组成的设计施工联合体。5、CGC(施工总承包)模式——施工项目施工总承包业主将施工任务集中发包给一家施工总包单位,总包单位可以将其中一部分分包给其他承建单位。二、工程项目主要承发包模式的优缺点1、PMC 模式:优点:可以充分利用工程项目管理咨询公司的人员、技术、管理经验优势,避开设置庞大的机构,解决了工程完成后人员安置难题,可以提高项目净现值。缺点:项目管理承包商择优性差,合同价较高。2、CMC 模式:优点:设计、招标、施工三者充分搭接,施工可以在尽可能早的时间开始,大大缩短了整个项目的建设周期。缺点:施工总造价很难在工程开始前确定或得到保证。3、EPC 模式:优点:有利于合同管理、组织协调、缩短工期和投资控制。缺点:承建商择优性差,业主参加程度低,合同价一般较高。4、EP+C 模式:优点:有用性较广,合同数量少,选择承建商的择优性较强,可以发挥联合体各家所长。缺点:联合体内部协调工作量大,业主受约束程度大。5、CGC 模式:优点:有利于项目的组织管理。缺点:工期一般难于缩短。三、几种模式的组织结构图1 、PMC 模式: 业主方业主PMC项目管理部 项目实施方 图 1:PMC 模式组织结构图 1 业主方 项目实施方 图 2:PMC 模式组织结构图 22、CMC 模式: 业主方 项目实施方 … … 图 3:CMC 模式组织结构图3、EPC 模式 业主方 项目实施方 图 4:EPC 模式组织结构图4、EP+C 模式: 业主方 项目实施方 图 6:EP+C 模式组织结构图设计单位供应商施工承包商业...

1、当您付费下载文档后,您只拥有了使用权限,并不意味着购买了版权,文档只能用于自身使用,不得用于其他商业用途(如 [转卖]进行直接盈利或[编辑后售卖]进行间接盈利)。
2、本站所有内容均由合作方或网友上传,本站不对文档的完整性、权威性及其观点立场正确性做任何保证或承诺!文档内容仅供研究参考,付费前请自行鉴别。
3、如文档内容存在违规,或者侵犯商业秘密、侵犯著作权等,请点击“违规举报”。

碎片内容

工程项目主要承发包模式

确认删除?
VIP
微信客服
  • 扫码咨询
会员Q群
  • 会员专属群点击这里加入QQ群
客服邮箱
回到顶部