电脑桌面
添加小米粒文库到电脑桌面
安装后可以在桌面快捷访问

基于DSB的温度控制新版系统

基于DSB的温度控制新版系统_第1页
1/8
基于DSB的温度控制新版系统_第2页
2/8
基于DSB的温度控制新版系统_第3页
3/8
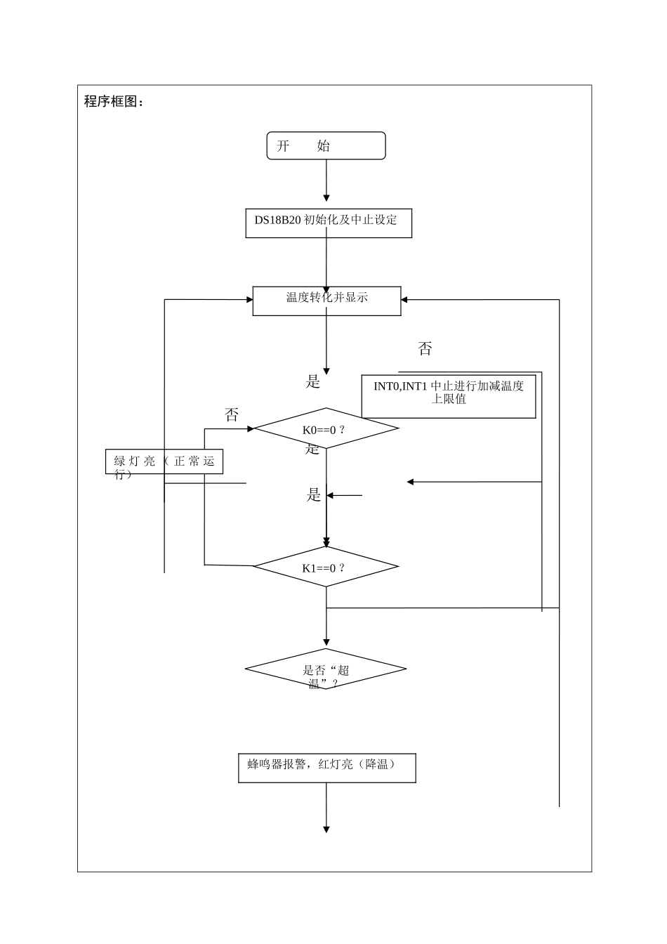
课 程 设 计 报 告 安徽文达信息工程学院电子工程学院 成绩:分为优、良、中、及格、不及格五等学 号1340201***姓 名李**班 级13 级电子信息工程1 班成 绩专 业电子信息工程课 程单片机原理和应用指导老师***题 目基于 DS18B20 温度控制系统任 务1)实现温度检测,并以 3 位 LED 数码管显示测量温度值,2 位显示温度符号,温度检测正确到 0.1 度。2)当温度低于 30℃,单片机控制加热电路工作,当温度高于 40℃,停止加热。制冷实行自然冷却方法。3)能经过按键调整温度范围。4 扩展功效:正确到 0.01 度。有声音报警功效。方案论证:1)DS18B20 温度传感器是一线总线器件,一线总线标准接线方法经济灵活,很轻易组成传感器控制网络。DS18B20 温度测量范围为-55~+125℃,在-10~+85℃范围内,精度为 0.5℃。实行“一线总线”方法传输,能够大大提升系统抗干扰能力,所以此次课程设计以 DS18B20 作为温度采集传感器,经单片机处理显示并含有高温报警功效。2)用四个按钮开关进行温度范围调整,K0 进行调整功效选择,K1 调整值确实定,K2 外部中止 0 方法温度值增加,K3 外部中止 2 方法温度值降低。 3)扩展功效:正确地 0.01 度。实现方法:在“读温度”函数所得实际温度扩大 100 倍,进行温度转化显示就可得到预期效果。成绩:分为优、良、中、及格、不及格五等完成任务思绪:1) DS18B20 温度采集;2) 单片机处理并数码管显示温度值;3) 程序设定高温报警功效;4) 实行中止设定高温值加减运算,即经过按键调整温度范围;5) 综合调试运行程序。电路原理图:程序框图: 否是否是否是DS18B20 初始化及中止设定INT0,INT1 中止进行加减温度上限值温度转化并显示蜂鸣器报警,红灯亮(降温)是否“超温”?K1==0 ?K0==0 ?开 始绿 灯 亮 ( 正 常 运行)#include#include#define uchar unsigned char#define uint unsigned intsbit K0=P3^0;//显示温度报警值sbit K1=P3^1;//温度值设定确定sbit K2=P3^2;//温度加sbit K3=P3^3;//温度减sbit DQ=P3^4;sbit LED1=P3^5; //红灯,报警状态sbit LED2=P3^6; //绿灯,正常状态sbit BEEP=P3^7;uint temp=300,i;uint sum=300;bit flag_bj=0;uchar code SegCode[]={0x3F,0x06,0x5B,0x4F,0x66,0x6D,0x7D,0x07,0x7F,0x6F,0x73,0x80,0x00,0x63,0x39}; //共阴极uchar code ={0x01,0x02,0x04,0x08,0x1...

1、当您付费下载文档后,您只拥有了使用权限,并不意味着购买了版权,文档只能用于自身使用,不得用于其他商业用途(如 [转卖]进行直接盈利或[编辑后售卖]进行间接盈利)。
2、本站所有内容均由合作方或网友上传,本站不对文档的完整性、权威性及其观点立场正确性做任何保证或承诺!文档内容仅供研究参考,付费前请自行鉴别。
3、如文档内容存在违规,或者侵犯商业秘密、侵犯著作权等,请点击“违规举报”。

碎片内容

基于DSB的温度控制新版系统

您可能关注的文档

文森传品+ 关注
实名认证
内容提供者

一家传播文化教育的小店,资料丰富,随意挑选。

相关文档

确认删除?
VIP
微信客服
  • 扫码咨询
会员Q群
  • 会员专属群点击这里加入QQ群
客服邮箱
回到顶部