电脑桌面
添加小米粒文库到电脑桌面
安装后可以在桌面快捷访问

天津天保国际商务园机电给排水及采暖工程监理实施细则

天津天保国际商务园机电给排水及采暖工程监理实施细则_第1页
1/8
天津天保国际商务园机电给排水及采暖工程监理实施细则_第2页
2/8
天津天保国际商务园机电给排水及采暖工程监理实施细则_第3页
3/8
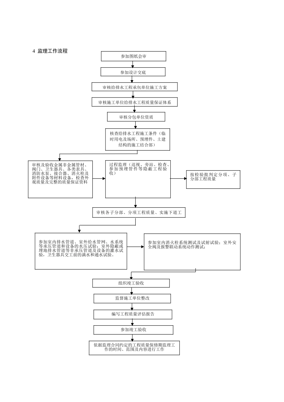
天津天保国际商务园(A)机电工程建筑给排水及采暖监理实施细则编制人: 批准人: 批准时间: 上海外经工程咨询监理有限公司天津天保国际商务园 A 区 监理项目部建筑给水排水及采暖工程1 工程概况本工程地块位于天津空港物流加工区中心大道与西二路交角处 A 地块,场地北邻环河北路,东临中心大道,南侧为西二路,西侧为规划支二路二。A 地块商务园项目由地上、地下二部分组成:(1)地上部分为 31 幢写字楼。其层数分别为 4、5、6、9 层,其檐口高度分别为 4 层 19.05 米、5 层 23.1 米、6 层 27.65 米、9 层 40.05 米。4、5 层建筑为多层建筑,6、9 层建筑为二类高层建筑。各单体地上部分使用功能首层入口大厅、商务办公、二至顶层为标准办公层,屋顶为电梯机房、空调机房、水箱间、冷却塔、楼梯间、屋顶花园。(2)地下部分由 a-f6 个区组成,6 个区均为地下一层。地下部分使用功能其中 a-d 区为汽车库、设备用房、商务配套餐厅、厨房、e 区为汽车库、设备用房及 15000m2人防,人防共分为 8 个防护单元,平常为汽车库,设备用房:战时转换为二等人员掩蔽、物资库、防控专业装备掩蔽部、柴油电站等功能,f 区为 A 地块的动力中心。(3)施工范围:包括室内给水系统、中水系统、排水系统、雨水系统、空调冷却循环水系统、消火栓系统、湿试喷淋系统的设计及灭火器的配置。3 执行的标准、法规1.《建筑给水排水及采暖工程施工质量验收法律规范》GB50242-20252.《建筑给水硬聚氯乙烯(PVC-U)管道工程技术法律规范》GBJ/CT504-993.《建筑给水交联聚乙烯(PEX)管道工程技术规程》DBJ/CT503-994.《建筑给水聚丙烯(PP-R)工程技术规程》DBJ/CT501-995.,建筑给水铝塑复合管管道工程技术规程》CECS105∶20006.《建筑给水排水设计法律规范》GB15-88(1997 年版)7.《建筑设计防火法律规范》GBJ16-87(2001 年版)8.《高层民用建筑设计防火法律规范》GB5045-979.《建筑给水硬聚氯乙烯管道设计与施工验收法律规范》CECS41∶9210.《自动喷水灭火系统施工及验收法律规范》GB50261-202511.《埋地硬聚氯乙烯给水管道工程技术规程》CECS17∶200012.《埋地硬聚氯乙烯排水管道工程技术规程》CECS122∶200113.《建筑排水硬聚氯乙烯管道工程技术规程》CJJ/T29-9814.《屋面雨水排水硬聚氯乙烯管道工程技术规程》DBJ08-42-9515.《工业金属管道施工及验收法律规范》GB50235-9716.《机械设备安装工程施工及验收通用法律规...

1、当您付费下载文档后,您只拥有了使用权限,并不意味着购买了版权,文档只能用于自身使用,不得用于其他商业用途(如 [转卖]进行直接盈利或[编辑后售卖]进行间接盈利)。
2、本站所有内容均由合作方或网友上传,本站不对文档的完整性、权威性及其观点立场正确性做任何保证或承诺!文档内容仅供研究参考,付费前请自行鉴别。
3、如文档内容存在违规,或者侵犯商业秘密、侵犯著作权等,请点击“违规举报”。

碎片内容

天津天保国际商务园机电给排水及采暖工程监理实施细则

阳光书坊+ 关注
实名认证
内容提供者

阳光书坊,传播未来

相关文档

确认删除?
VIP
微信客服
  • 扫码咨询
会员Q群
  • 会员专属群点击这里加入QQ群
客服邮箱
回到顶部