电脑桌面
添加小米粒文库到电脑桌面
安装后可以在桌面快捷访问

工程监理总程序VIP专享

工程监理总程序_第1页
1/12
工程监理总程序_第2页
2/12
工程监理总程序_第3页
3/12
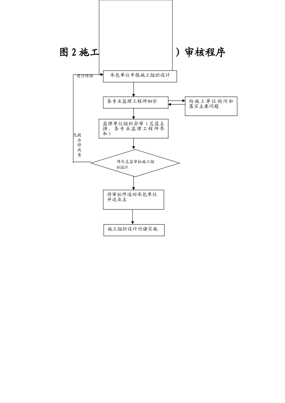
图 1 工 程 监 理 总 程 序签订业主工程师及监理合同组织项目监理站机构进行监理准备工作编制工程施工总体管理规划、编写监理规划及实施细则报业主审批参加业主施工、设备投标工作项目监理部进驻现场办理开工前手续监理人员名单监理工程师权限通知监理程序通知使用表格通知送施工承包项目经理部施工现场调查施工组织设计审批组织图纸会审对分包单位资质审核第一次施工场地会议审批开工报告签发开工令实施监督与管理督促承包商严格按规定图纸及工艺标准施工,按规定要求预算合同管理信息管理各方关系的协调组织竣工初验整理合同文件、技术档案资料、编号竣工验收评估报告协助业主组织施工验收参加质检部门核定质量等级签发施工移交证书、施工阶段监理结束分析、检查原因,实施返修、返工监理不合格投资控制质量控制进度控制安全控制审核工程量审核预算审核签发工程付款单处理索赔上岗人员资格审核原材料预控构配件预控设备预控分项分部及单位工程质量控制及验收参加质量事故分析监督事故处理方案执行审核总进度计划审核年、季、月施工进度计划实际进度与计划进度对比分析检查施工单位安培人员落实重要工序安全技术措施审批安全防护措施齐备图 2 施工组织设计(方案)审核程序 承包单位申报施工组织设计各专业监理工程师初审监理单位组织会审(总监主持,各专业监理工程师参加)将审批件返回承包单位并送业主施工组织设计付诸实施向施工单位询问和落实主要问题项目总监审批施工组织设计进行修改提出修改意见 图 3 分包单位资格审查程序 不同意 选择分包单位总承包单位填写《分包单位资格报审》表》监理工程师审查、协调、签认审核意见总承包单位与分包单位签订分包合同分包单位进驻现场图 4 图纸会审控制程序各专业监理工程师熟悉施工图纸、初审提出问题总监主持监理部内部会审各专业监理工程师整理列出问题清单总监理工程师审核问题问题清单汇总问题清单汇总报业主各专业监理工程师将图纸汇总问题在业主、施工、设计、监理四方的图纸会审会上提出已准备好的图纸问题落实问题整理归档、写进会议纪要图 5 合同管理工作程序掛 未履约 图 6 施工阶段进度控制程序合同签定意向合同订立审批制度合同谈判合同评审合同履约检查合同登记保管制度合同统计制度合同资料整理归档制度合同履约检查制度索赔处理写明索赔事项原因报业主审批合同签字承包单位根据工期总目标编制施工总进度计划填写《施工进度计划报审表》应附有:编制材料、...

1、当您付费下载文档后,您只拥有了使用权限,并不意味着购买了版权,文档只能用于自身使用,不得用于其他商业用途(如 [转卖]进行直接盈利或[编辑后售卖]进行间接盈利)。
2、本站所有内容均由合作方或网友上传,本站不对文档的完整性、权威性及其观点立场正确性做任何保证或承诺!文档内容仅供研究参考,付费前请自行鉴别。
3、如文档内容存在违规,或者侵犯商业秘密、侵犯著作权等,请点击“违规举报”。

碎片内容

工程监理总程序

确认删除?
VIP
微信客服
  • 扫码咨询
会员Q群
  • 会员专属群点击这里加入QQ群
客服邮箱
回到顶部