电脑桌面
添加小米粒文库到电脑桌面
安装后可以在桌面快捷访问

建筑工程施工阶段安全监理系统流程

建筑工程施工阶段安全监理系统流程_第1页
1/3
建筑工程施工阶段安全监理系统流程_第2页
2/3
建筑工程施工阶段安全监理系统流程_第3页
3/3
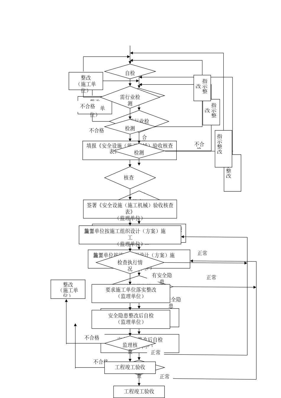
第四章 建筑工程施工阶段安全监理系统流程4.1 建筑工程施工阶段安全监理的系统过程施工监督安全监理设计交底和图纸会审施工方案(安全专项施工方案)安全管理制度检查安全检查、旁站监督新技术、新工艺、新材料的审查施工现场环境的控制对分包方、供应方等审查安全物资(施工机械等)的控制危险源的控制安全管理制度、施工管理及人员资格审核安全管理体系施工安全技术与管理措施施工平面图施工进度计划安全设施、施工机械验收核查程变更、施工方案变更的审查施工过程安全控制作业安全技术交底施工组织设计审查施工生产要素配置安全审查施工监督安全监理施工监督安全监理开工审查4.2 施工阶段工程安全监理工作流程图开工准备(施工单位)安全设施(施工机械)完成后自检(施工单位)填报《施工组织设计(方案)报审表》(施工单位)按方案施工(施工单位)整改(施工单位)审查《施工组织设计(方案)报审表》(监理单位)签署《施工组织设计(方案)报审表》(监理单位)开工准备(施工单位)提交工程开工报审表(施工单位))批准开工申请(监理单位)工程施工(施工单位)施工组织设计施工人员到场情况施工设备到场情况安全防护用具、材料等到场情况安全管理体系分包单位资质、安全生产许可证审查开工条件(监理单位)否否同意整改(施工单位)合格合格填报《安全设施(施工机械)验收核查表》(施工单位)不合格监理核查要求施工单位落实整改(监理单位)安全隐患整改后自检(监理单位)工程竣工验收签署《安全设施(施工机械)验收核查表》(监理单位)核查 检查执行情况监督施工单位按施工组织设计(方案)施工(监理单位)整改(施工单位)指示整改指示整改检测需行业检测自检不合格正常有安全隐患正常不合格监理核查要求施工单位落实整改(监理单位)安全隐患整改后自检(监理单位)工程竣工验收签署《安全设施(施工机械)验收核查表》(监理单位)核查 检查执行情况监督施工单位按施工组织设计(方案)施工(监理单位)整改(施工单位)指示整改指示整改检测需行业检测自检不合格正常有安全隐患正常不合格

1、当您付费下载文档后,您只拥有了使用权限,并不意味着购买了版权,文档只能用于自身使用,不得用于其他商业用途(如 [转卖]进行直接盈利或[编辑后售卖]进行间接盈利)。
2、本站所有内容均由合作方或网友上传,本站不对文档的完整性、权威性及其观点立场正确性做任何保证或承诺!文档内容仅供研究参考,付费前请自行鉴别。
3、如文档内容存在违规,或者侵犯商业秘密、侵犯著作权等,请点击“违规举报”。

碎片内容

建筑工程施工阶段安全监理系统流程

文森传品+ 关注
实名认证
内容提供者

一家传播文化教育的小店,资料丰富,随意挑选。

相关文档

确认删除?
VIP
微信客服
  • 扫码咨询
会员Q群
  • 会员专属群点击这里加入QQ群
客服邮箱
回到顶部