电脑桌面
添加小米粒文库到电脑桌面
安装后可以在桌面快捷访问

现浇钢筋混凝土工程监理实施细则

现浇钢筋混凝土工程监理实施细则_第1页
1/17
现浇钢筋混凝土工程监理实施细则_第2页
2/17
现浇钢筋混凝土工程监理实施细则_第3页
3/17
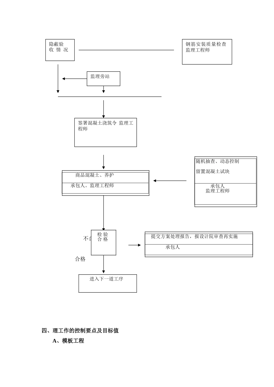
现浇钢筋混凝土工程监理实施细则一、 编制依据 1、望江佳园工住宅小区监理规划:2、湖南建设集团有限公司建筑规划设计院提供的施工图:3、国家现行施工及验收法律规范、规程:1)、GB50204—2025《混凝土结构工程施工及验收法律规范》2)、GB20252—2025《建筑地基基础工程施工质量验收法律规范》3)、JGJ18—2025《钢筋焊接及验收规程》4)、JGJ127—2025《钢筋焊接接头试验方法标准》5)、JGJ103—2025《钢筋机械连接通用技术法律规范》6)、JGJ3—2025《高层建筑混凝土结构技术规程》7)、GB50214—2001《组合钢模板技术法律规范》8)、GB50164—92《混凝土质量控制标准》二、专业工程特点本工程由新希望房地产开发有限公司投资开发的长沙望江佳园住宅小区,由 6 栋住宅及地下二层和附属门面组成的建筑群,总建筑面积 121486 平方米,总投资 1 亿元人民币,连续工期 24 个月(2 年)。住宅均为框剪结构,23~26层楼。全部栋号含有地下室,房屋高度分别为 69 米和 78 米基础采纳人工挖孔桩和筏板基础 。抗震设防裂度为 6 度,抗震等级为二级,耐火等级为一级。地下室平常为地下车库,战时为人防工程共分为 4 个防护单位、2 个甲类人同掩护体,4 个人防物质库。同时地下室采纳平战结合动力照明、弱电、消防及接地系统设计。三、监理工作流程 A、场地高程复测B、梁、柱、墙放线C、建筑物坐标复测承包人、监理工程师 钢材进场检验商品砼(或砂、卵石、水泥)检验 承包人、监理工程师 不合格 不合格 合 格 合 格模板制作承包人混凝土配合比试验、审查承包人、监理工程师钢材检验合格钢材退场承包人安装模板承包人返工承包人隐蔽验收情况返工承包人 过场材料堆放承包人钢筋下料加工承包人 不合格 合格四、理工作的控制要点及目标值 A、模板工程隐蔽验 收 情 况监理旁站钢筋安装质量检查监理工程师签署混凝土浇筑令 监理工程师商品混凝土、养护承包人。监理工程师随机抽查、动态控制留置混凝土试块承包人 监理工程师检 验合 格进入下一道工序提交方案处理报告,报设计院审查再实施 承包人1、模板用材料1.1、与模板、支模有关的材料、配件,必须具有足够的强度,能够满足施工、振捣的技术要求。1.2、模板材料应保持表面光滑、外形平直,能够保证浇捣混凝土的质量及外形尺寸。1.3、木模板不允许使用腐朽、裂纹严重的材料;对承担材料其木节、髓心等应加以限制。2、模板安装2.1、模板工程要求构造简单、装...

1、当您付费下载文档后,您只拥有了使用权限,并不意味着购买了版权,文档只能用于自身使用,不得用于其他商业用途(如 [转卖]进行直接盈利或[编辑后售卖]进行间接盈利)。
2、本站所有内容均由合作方或网友上传,本站不对文档的完整性、权威性及其观点立场正确性做任何保证或承诺!文档内容仅供研究参考,付费前请自行鉴别。
3、如文档内容存在违规,或者侵犯商业秘密、侵犯著作权等,请点击“违规举报”。

碎片内容

现浇钢筋混凝土工程监理实施细则

确认删除?
VIP
微信客服
  • 扫码咨询
会员Q群
  • 会员专属群点击这里加入QQ群
客服邮箱
回到顶部