电脑桌面
添加小米粒文库到电脑桌面
安装后可以在桌面快捷访问

质量控制主要监理流程

质量控制主要监理流程_第1页
1/26
质量控制主要监理流程_第2页
2/26
质量控制主要监理流程_第3页
3/26
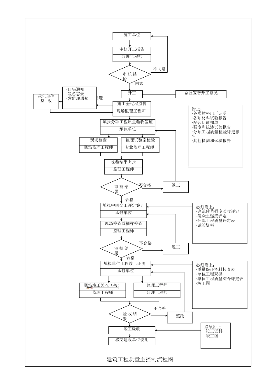
不同意 同意 存在问题 不合格合格 不合格合格不合格 建筑工程质量主控制流程图现场监理工程师承包单位 整 改·口头通知·发备忘录·发监理通知开工施工全过程监督填报分项工程质量验收签证承包单位现场监理工程师现场检查监理试验室检验专业监理工程师监理工程师检验结果上报返工承包单位填报中间交工评定签证监理工程师现场检查或抽样检查审 核 结论附上:·各项材料出厂证明·各项材料试验报告·配合比通知单·强度和抗渗试验报告·分项工程质量检验评定报告·其他检测和试验报告审 批 结果审 批 结果返工必须附上:·砌筑砂浆强度验收评定·混凝土强度评定·分部工程质量评定表·试验资料 填报单位工程竣工证明承包单位必须附上:·质量保证资料核查表·单位工程观感·单位工程质量综合评定表·竣工图施工单位监理工程师审核开工报告现场竣工验收(初)监理工程师监理工程师监理工程师验 收 结果整改竣工验收移交建设单位使用必须附上:·竣工资料·竣工图总监签署开工意见施工阶段监理工作主程序框图施工组织设计(施工方案)审批程序图工程施工阶段质量控制程序框图工程预检、隐检、分项分部工程验收程序框图工程质量问题、质量事故处理程序框图工程保修期(缺陷责任期)监理工作流程程序框图组织图纸会审参加设计交底审批施工组织设计签认“施工组织设计报审表”审定分包单位签认“分包单位资审查表”审定结构用原材料,设备,构配件的质量对影响使用功能和观感的材料进行质量预控参加隐蔽工程验收核验分部分项工程质量签 定 装 饰工 程 样 板间签认“工程检验认可书”或签认“不合格工程通知书”签认分部分项工程质量验收单签 认 “ 监理通知”签认“建筑材料报验单”监理单位签认必要文件后,施工单位可进行下一道工序施工监理单位竣工初验监理单位参加“三方”竣工验收监督承包单位报请监督站核定竣工工程质量监理单位签发“竣工移交证书” 单位工程质量控制流程图承包单位隐检、分部、分项验收纪录签认完成分部、分项工程质量评定完成自评完成自评合格质量保证资料齐全、合格施工单位填“工程报验单报监理单位监理工程师检查质量保证资料是否符合要求检查分部、分项工程质量是否合格检查隐蔽工程、分部、分项工程是否完成不合格:下达“不合格项目通知”合格:签认“工程检验认可书” 隐蔽工程、分部分项工程质量控制流程图不合格合格不同意 同意施工承包单位土建工程竣工、设备完成试车调试施工承包单位提交...

1、当您付费下载文档后,您只拥有了使用权限,并不意味着购买了版权,文档只能用于自身使用,不得用于其他商业用途(如 [转卖]进行直接盈利或[编辑后售卖]进行间接盈利)。
2、本站所有内容均由合作方或网友上传,本站不对文档的完整性、权威性及其观点立场正确性做任何保证或承诺!文档内容仅供研究参考,付费前请自行鉴别。
3、如文档内容存在违规,或者侵犯商业秘密、侵犯著作权等,请点击“违规举报”。

碎片内容

质量控制主要监理流程

文本预览

{php // 将文本按句子/段落分割,输出为段落标签,更利于SEO $paragraphs = preg_split('/[\n\r]+/', trim($seo_txt)); foreach($paragraphs as $p) { $p = trim($p); if(strlen($p) > 5) { echo '

' . htmlspecialchars($p) . '

'; } } }
展开全部 ▼
确认删除?
VIP
微信客服
  • 扫码咨询
会员Q群
  • 会员专属群点击这里加入QQ群
客服邮箱
回到顶部