电脑桌面
添加小米粒文库到电脑桌面
安装后可以在桌面快捷访问

静压桩质量监理细则ww

静压桩质量监理细则ww_第1页
1/19
静压桩质量监理细则ww_第2页
2/19
静压桩质量监理细则ww_第3页
3/19
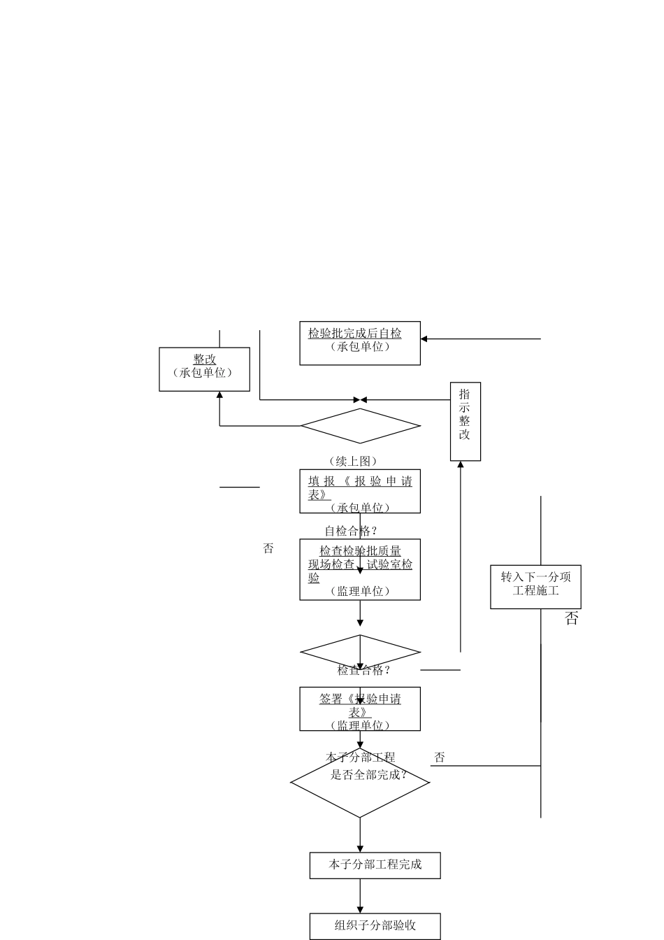
静压桩质量监理细则第一节 工程概况1.1 工程设计单位: 1.2 工程勘察单位: 1.3 设计技术要求:静压预制桩截面尺寸为 ,安全等级为 级,桩身砼强度等级为 ,采纳 接头,单桩坚向极限承载力标准值 QUK KN。静压桩数共 根,以第 层粉细砂层作为持力层,以油压值和桩长双控,试桩 根,先施工试桩,再施工工程桩。1.4 岩土工程地质条件:(1)建筑场地下从上至下在钻探的深度范围内可分为 层:1)2)3)……(2)建筑场地条件第二节 工程特点2.1 工程分析对该静压桩的特点及场地地质条件、施工方案等对施工过程中可能产生的影响以及拟采纳的方法作简要的说明和分析。2.2 静压桩容易出现的问题(1)桩倾斜过大1) 预制桩质量差,桩尖位置不正或变形,易造成桩倾斜;2) 压桩机倾斜;3) 桩端遇孤石或障碍物;4) 桩施工顺序不当而产生较强的挤土效应;5) 基坑开挖的方法不当。(2)断桩1) 桩倾斜过大可能产生桩断裂;2) 桩堆放、起吊、运输的支点、吊点不当;3) 压桩过程中,桩身弯曲过大而断裂。(3)桩位偏差大1) 测量放线不准确或对放线的基桩保护不好;2) 沉桩工艺不良,如桩身倾斜就可能造成竣工桩位出现较大的偏差。(4)桩难以压入,达不到设计要求的深度; 1)压桩顺序不当,产生了较强的挤土效应。第三节 施工质量控制的依据3.1 工程合同文件:承包合同文件和委托监理合同文件。3.2 设计文件:“按图施工”是施工阶段质量控制的一项重要原则,设计图纸及岩土工程勘察报告必须经过审查,并且有准用证。3.3 国家及政府有关部门颁布的有关质量管理方面的法律、法规性文件(a)《中华人民共和国建筑法》(1997 年 11 月 1 日颁布);(b)《建设工程质量管理条例》(2000 年 1 月 30 日颁布);(c)《建筑业企业资质管理规定》(2001 年 4 月颁布);3.4 有关质量检验与控制的专门技术法规性文件(a)《建筑工程施工质量验收统一标准》GB50300-2001;(b)《建筑地基基础工程施工质量验收法律规范》GB50202-2025;(c)《建筑桩基技术法律规范》JGJ94-94;(d)《建筑工程桩基检测技术法律规范》JGJ106;(e)《混凝土结构工程施工质量验收法律规范》GB50204-2025;(f)《建筑地基基础设计法律规范》GB50007-2025;(g)《湖北省建筑工程施工统一用表》(2025 年元月);(h)控制施工作业活动质量的技术规程、电焊操作规程、混凝土施工操作规程。第四节 质量控制工作流程图 否分项工...

1、当您付费下载文档后,您只拥有了使用权限,并不意味着购买了版权,文档只能用于自身使用,不得用于其他商业用途(如 [转卖]进行直接盈利或[编辑后售卖]进行间接盈利)。
2、本站所有内容均由合作方或网友上传,本站不对文档的完整性、权威性及其观点立场正确性做任何保证或承诺!文档内容仅供研究参考,付费前请自行鉴别。
3、如文档内容存在违规,或者侵犯商业秘密、侵犯著作权等,请点击“违规举报”。

碎片内容

静压桩质量监理细则ww

您可能关注的文档

确认删除?
VIP
微信客服
  • 扫码咨询
会员Q群
  • 会员专属群点击这里加入QQ群
客服邮箱
回到顶部