电脑桌面
添加小米粒文库到电脑桌面
安装后可以在桌面快捷访问

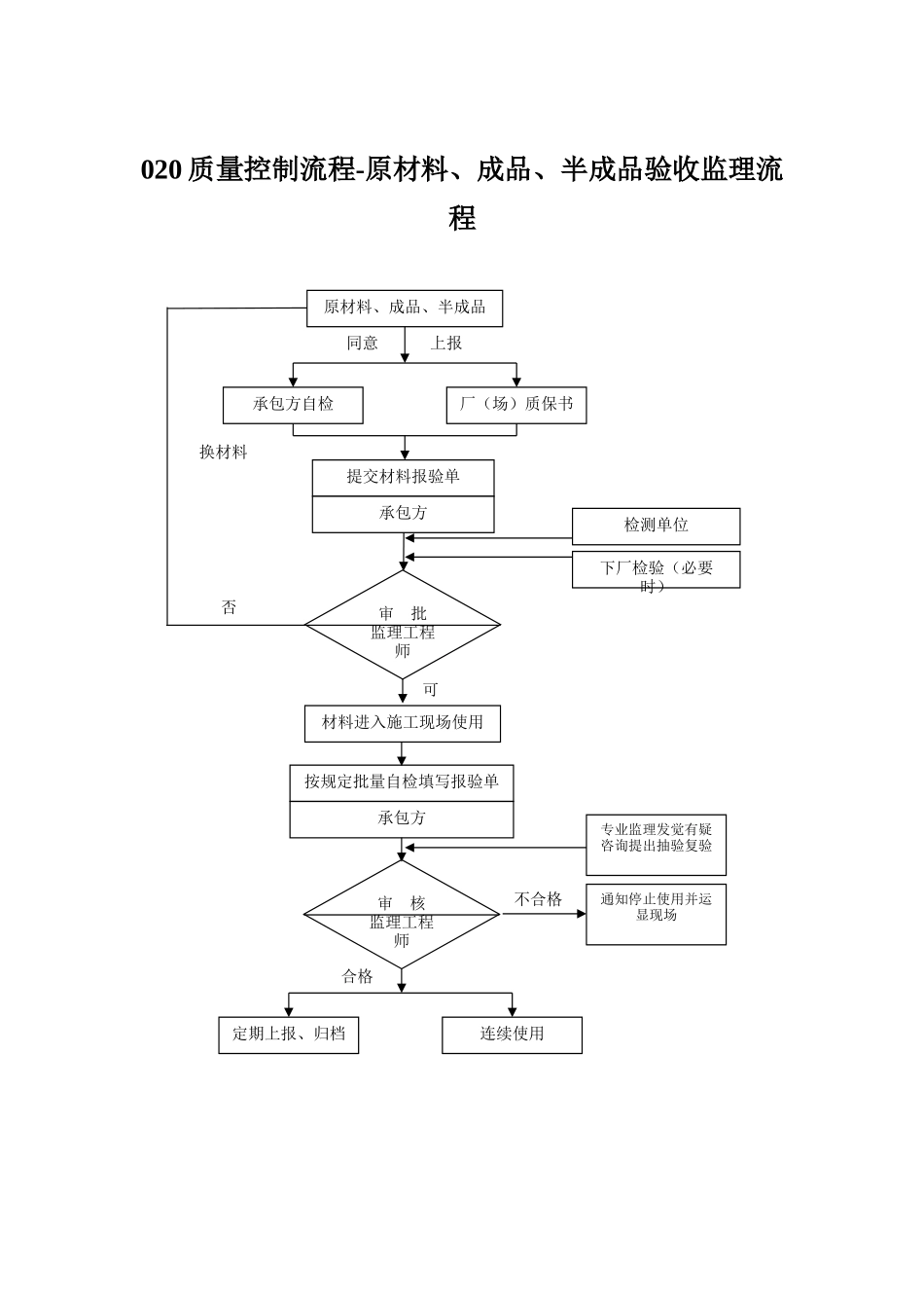
020质量控制流程-原材料、成品、半成品验收监理流程

020质量控制流程-原材料、成品、半成品验收监理流程_第1页
1/1
020 质量控制流程-原材料、成品、半成品验收监理流程合格不合格可换材料否上报同意原材料、成品、半成品承包方自检厂(场)质保书提交材料报验单承包方检测单位下厂检验(必要时)审 批监理工程师材料进入施工现场使用按规定批量自检填写报验单承包方审 核监理工程师专业监理发觉有疑咨询提出抽验复验通知停止使用并运显现场连续使用定期上报、归档

1、当您付费下载文档后,您只拥有了使用权限,并不意味着购买了版权,文档只能用于自身使用,不得用于其他商业用途(如 [转卖]进行直接盈利或[编辑后售卖]进行间接盈利)。
2、本站所有内容均由合作方或网友上传,本站不对文档的完整性、权威性及其观点立场正确性做任何保证或承诺!文档内容仅供研究参考,付费前请自行鉴别。
3、如文档内容存在违规,或者侵犯商业秘密、侵犯著作权等,请点击“违规举报”。

碎片内容

020质量控制流程-原材料、成品、半成品验收监理流程

确认删除?
VIP
微信客服
  • 扫码咨询
会员Q群
  • 会员专属群点击这里加入QQ群
客服邮箱
回到顶部